LEMON Manuals: Even more car manuals for everyone: 1960-2025
Home >> Chevrolet >> 2014 >> Cruze Diesel >> Repair and Diagnosis >> Body & Frame >> Windows >> Fixed And MOVEABLE Window System >> Component Locator >> Window Systems Component Views
April 5, 2026: LEMON Manuals is launched! Read the announcement.

Window Systems Component Views

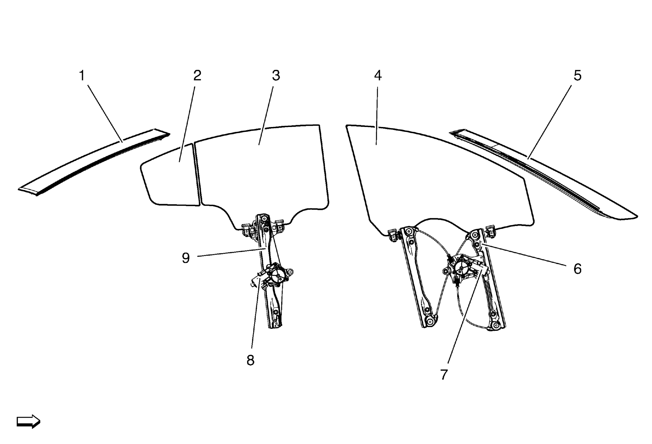
Fig 1: Window Systems Components (4-Door Notchback 69)
GM2027568Courtesy of GENERAL MOTORS COMPANY
Window Systems Component Views

Number Description Procedure
1 Rear Window Rear Window Replacement 
2 Rear Side Door Stationary Window Rear Side Door Stationary Window Replacement 
3 Rear Side Door Window Rear Side Door Window Replacement 
4 Front Side Door Window Front Side Door Window Replacement 
5 Windshield Windshield Replacement 
6 Front Side Door Window Regulator Front Side Door Window Regulator Replacement 
7 Front Side Door Window Regulator Motor Front Side Door Window Regulator Motor Replacement 
8 Rear Side Door Window Regulator Motor Rear Side Door Window Regulator Motor Replacement 
9 Rear Side Door Window Regulator Rear Side Door Window Regulator Replacement