LEMON Manuals: Even more car manuals for everyone: 1960-2025
Home >> Chevrolet >> 2015 >> Cruze Diesel >> Repair and Diagnosis >> Engine Performance >> Engine Control Systems >> Engine Controls And Fuel - 2.0L (LUZ) Diesel - Repair Instructions >> Repair Instructions >> Chassis Control Module Replacement >> Removal Procedure
April 5, 2026: LEMON Manuals is launched! Read the announcement.

Removal Procedure

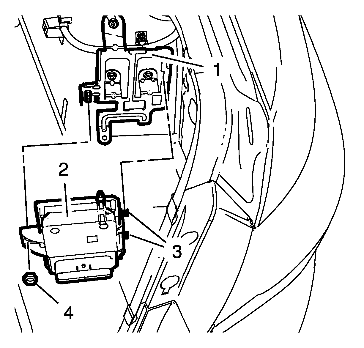
  1. Remove the rear compartment side trim - right side. Refer to Rear Compartment Side Trim Replacement - Right Side .
  2. Remove the chassis control module wiring harness plug (2) from the chassis control module (1).
    Fig 1: Fuel Pump Flow Control Module
    GM2373079Courtesy of GENERAL MOTORS COMPANY
  3. Remove the chassis control module nut (4).
    Fig 2: Chassis Control Module Nut
    GM3398197Courtesy of GENERAL MOTORS COMPANY
  4. Unclip the 2 chassis control module clips (4) from the chassis control module bracket (2).
  5. Remove the chassis control module (2).