LEMON Manuals: Even more car manuals for everyone: 1960-2025
Home >> Chevrolet >> 2017 >> Cruze LS, Automatic Trans >> Repair and Diagnosis >> Brakes >> Traction Control >> Antilock Brake System >> Repair Instructions >> Electronic Brake Control Module Replacement
April 5, 2026: LEMON Manuals is launched! Read the announcement.

Electronic Brake Control Module Replacement

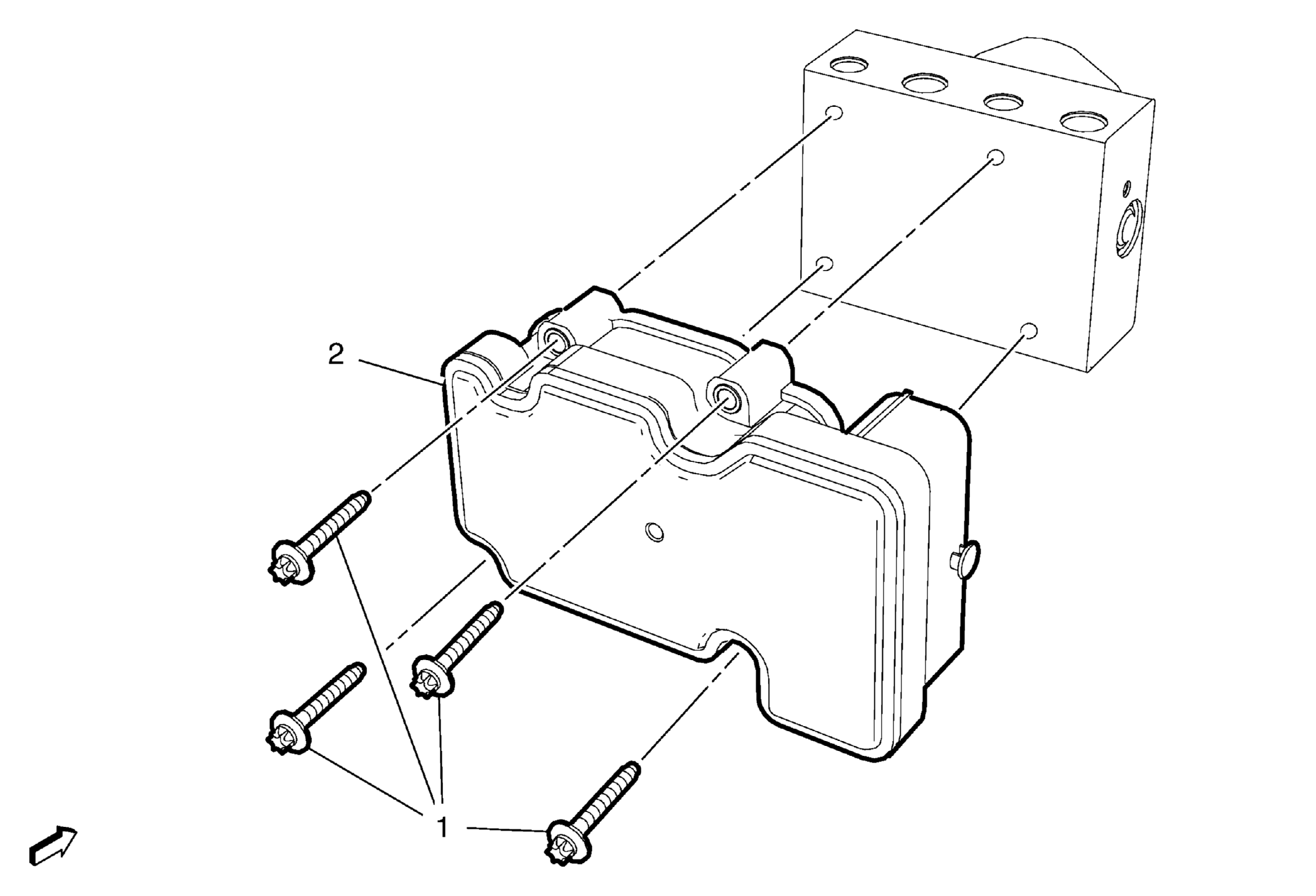
Fig 1: Electronic Brake Control Module
GM3657210Courtesy of GENERAL MOTORS COMPANY
Callout Component Name
WARNING:

Refer to Brake Fluid Irritant Warning .

CAUTION:

Always connect or disconnect the wiring harness connector from the EBCM/EBTCM with the ignition switch in the OFF position. Failure to observe this precaution could result in damage to the EBCM/EBTCM.

Preliminary Procedures

  1. Disconnect Battery Negative Cable. Refer to Battery Negative Cable Disconnection and Connection
  2. Remove Electronic Brake and Traction Control Module with Brake Pressure Modulator Valve. Refer to Electronic Brake and Traction Control Module with Brake Pressure Modulator Valve Replacement 
  3. Remove Brake Pressure Modulator Valve Bracket. Refer to Brake Pressure Modulator Valve Bracket Replacement 
1 Electronic Brake Control Module Fastener (Qty: 4)
CAUTION:

Refer to Fastener Caution .


Tighten 
3 N.m (27 lb in)
2 Electronic Brake Control Module

Procedures

  1. Re-program Electronic Brake Control Module Programming and Setup. Refer to Electronic Brake Control Module Programming and Setup
  2. Bleed brake system. Refer to Hydraulic Brake System Bleeding
  3. Re-calibrate Brake Pressure Modulator Valve Pressure Sensor. Refer to Brake Pressure Modulator Valve Pressure Sensor Calibration 
  4. Re-center Steering Wheel Angle Sensor. Refer to Steering Wheel Angle Sensor Centering