LEMON Manuals: Even more car manuals for everyone: 1960-2025
Home >> Chevrolet >> 2018 >> Traverse High Country >> Repair and Diagnosis >> Electrical >> Wiring Diagrams >> Component Connector End Views (K84 - M109LR) >> Component Connector End Views >> K188 Human Machine Interface Control Module Bypass Module X2 (UVH)
April 5, 2026: LEMON Manuals is launched! Read the announcement.

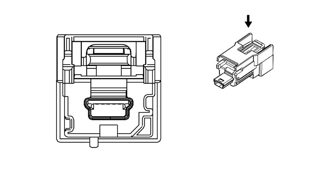
K188 Human Machine Interface Control Module Bypass Module X2 (UVH)

GM2830945
Connector Part Information
  • Harness Type: Instrument Panel USB
  • OEM Connector: 111014-9010
  • Service Connector: Service by Cable Assembly - See Part Catalog
  • Description: 5-Way M 2.0 Mini-B USB Type (BK)
Terminal Part Information

Terminal Type ID Terminated Lead Diagnostic Test Probe Terminal Removal Tool Service Terminal Tray Name Core Crimp Insulation Crimp
I Not Required No Tool Required No Tool Required Not Required Not Required Not Required Not Required
Pin Size Color Circuit Function Terminal Type ID Option
- - USB - USB Serial Data I -