LEMON Manuals: Even more car manuals for everyone: 1960-2025
Home >> Chevrolet >> 2021 >> Traverse Premier, 4WD >> Repair and Diagnosis (Single Page) >> Quick Lookups >> Wiring Diagrams >> Component Connector End Views (K43-M50D) >> Component Connector End Views >> K84 Keyless Entry Control Module X1
April 5, 2026: LEMON Manuals is launched! Read the announcement.

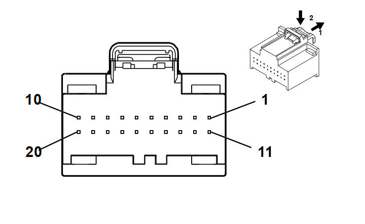
K84 Keyless Entry Control Module X1

GM5109514Courtesy of GENERAL MOTORS COMPANY
Connector Part Information
  • Harness Type: Body
  • OEM Connector: 13525992
  • Service Connector: 13525992
  • Description: 20-Way F 0.64 Series (BN)
Terminal Part Information

Terminal Type ID Terminated Lead Diagnostic Test Probe Terminal Removal Tool
I 13584547 J-35616-64B (LT BU) J-38125-215A
Pin Size Color Circuit Function Terminal Type ID Option
1 0.35 GN / VT 1601 Steering Column Lock Signal I N06
2 0.35 RD / YE 4340 Battery Positive Voltage I -
3 0.35 GN 5060 Low Speed GMLAN Serial Data I -
4 - - - Not Occupied - -
5 0.35 VT / YE 4 Accessory Ignition Voltage I -
6 - - - Not Occupied - -
7 0.35 GY / GN 4083 Retained Accessory Power Relay 2 Coil Control I -
8 - - - Not Occupied - -
9 0.35 WH / YE 3574 Driver Door Open Switch Signal I (ATH/ATS)
10 0.35 YE / BU 4086 Ignition Mode Switch Challenge Active Signal I -
11 0.35 GN / BK 3558 Passive Start Switch Signal 2 I -
12 0.35 BK / GY 3559 Passive Start Switch 2 Low Reference I -
13 0.35 VT / BK 3 Run/Crank Ignition 1 Voltage I -
14 0.35 BK / WH 1351 Signal Ground I -
15 0.35 GY / BK 3555 Interior Passive Entry Antenna 2 Low Signal I -
16 0.35 BN / BK 3552 Interior Passive Entry Antenna 1 High Signal I -
17 0.35 WH 3553 Interior Passive Entry Antenna 1 Low Signal I -
18 0.5 WH / GN 3556 Interior Passive Entry Antenna 3 High Signal I -
19 0.5 GN 3557 Interior Passive Entry Antenna 3 Low Signal I -
20 0.35 BU 3554 Interior Passive Entry Antenna 2 High Signal I -