LEMON Manuals: Even more car manuals for everyone: 1960-2025
Home >> Chrysler >> 1985 >> Laser Base, Standard >> Repair and Diagnosis >> Body & Frame >> Seats - Power >> Testing >> Control Switch
April 5, 2026: LEMON Manuals is launched! Read the announcement.

Control Switch

If motors and seat operate properly when switch is by-passed during electrical tests, the switch is defective and should be replaced.

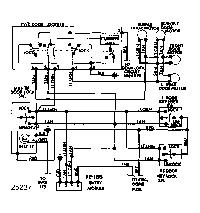
Fig 1: Chrysler Power 50-50 Seats
G25237