LEMON Manuals: Even more car manuals for everyone: 1960-2025
Home >> Chrysler >> 1990 >> Imperial >> Repair and Diagnosis >> Brakes >> Traction Control >> Anti-Lock Brake System >> Code Charts >> Test 6A: System Relay Fault
April 5, 2026: LEMON Manuals is launched! Read the announcement.

Test 6A: System Relay Fault

Fig 1: Test 6A - System Relay Fault, Schematic
G91I10791
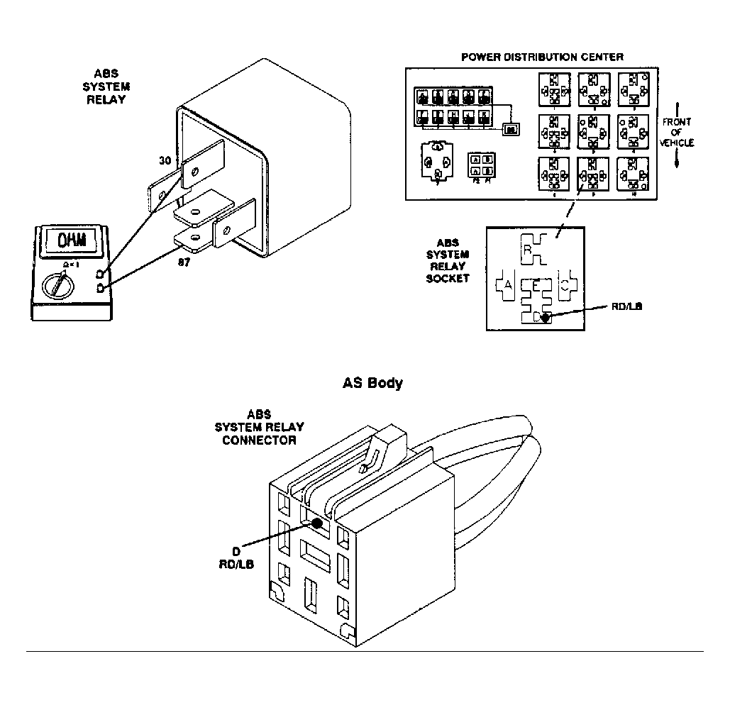
Fig 2: Test 6A - System Relay Fault, Schematic
G91J11014
Fig 3: Test 6A - System Relay Fault, Flow Chart
G91J10792
Fig 4: Test 6A - System Relay Fault, Flow Chart
G91A10793