LEMON Manuals: Even more car manuals for everyone: 1960-2025
Home >> Chrysler >> 1995 >> Cirrus LXi >> Repair and Diagnosis >> Body & Frame >> Power Windows >> Testing >> Window Switch Test
April 5, 2026: LEMON Manuals is launched! Read the announcement.

Window Switch Test

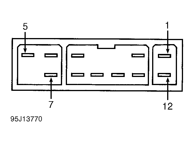
Remove power window switch. Using an ohmmeter, check continuity between appropriate switch terminals. See appropriate WINDOW SWITCH CONTINUITY table. See Fig 1 and Fig 2 . If continuity is not as specified, replace power window switch.

WINDOW SWITCH CONTINUITY

Switch Position Continuity Between Terminals No.
Off 2 & 10; 3 & 10; 4 & 10; 7 & 10; 8 & 10; 9 & 10; 10 & 11; 10 & 12
Up
Left Front 5 & 7; 8 & 10
Right Front 5 & 12; 10 & 11
Left Rear 3 & 10; 4 & 5
Right Rear 2 & 5; 9 & 10
Down
Left Front 5 & 8; 7 & 10
Right Front 5 & 11; 10 & 12
Left Rear 3 & 5; 4 & 10
Right Rear 2 & 10; 5 & 9
Window Lock
1 & 5
WINDOW SWITCH CONTINUITY

Switch Position Continuity Between Terminals No.
Off 2 & 5; 3 & 4
Up 3 & 4; 5 & 6
Down 2 & 5; 3 & 6
Fig 1: Identifying Master Window Switch Terminals
G95J13770Courtesy of CHRYSLER CORP.
Fig 2: Identifying Passenger Window Switch Terminals
G95A13771Courtesy of CHRYSLER CORP.