LEMON Manuals: Even more car manuals for everyone: 1960-2025
Home >> Chrysler >> 1998 >> Cirrus >> Repair and Diagnosis >> Body & Frame >> Power Windows >> Component Tests >> Window Switch Test
April 5, 2026: LEMON Manuals is launched! Read the announcement.

Window Switch Test

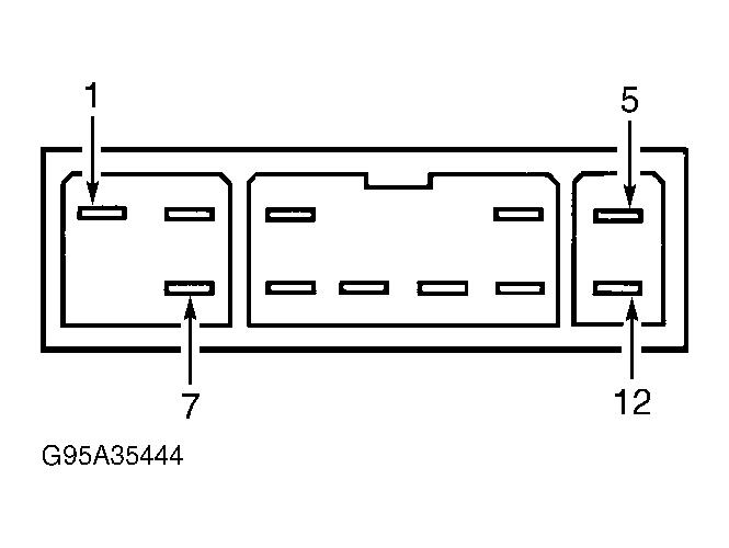
Remove the power window switch. See DRIVER'S WINDOW SWITCH  or see PASSENGER'S WINDOW SWITCH R & I  under REMOVAL & INSTALLATION. Using an ohmmeter, check the power window switch continuity. Refer to Fig. Fig 1 or Figure . Refer to WINDOW SWITCH CONTINUITY (DRIVER'S)  table or refer to WINDOW SWITCH CONTINUITY (PASSENGER'S  ). If continuity is not as specified, replace power window switch.

WINDOW SWITCH CONTINUITY (DRIVER'S)

Switch Position Continuity Between Terminals No.
Off 2 & 10; 3 & 10; 4 & 10; 7 & 10; 8 & 10; 9 & 10; 10 & 11; 10 & 12
Up
Left Front 1 & 7; 8 & 10
Right Front 1 & 12; 10 & 11
Left Rear 3 & 10; 1 & 2
Right Rear 1 & 4; 9 & 10
Down
Left Front 1 & 8; 7 & 10
Right Front 1 & 11; 10 & 12
Left Rear 3 & 1; 2 & 10
Right Rear 4 & 10; 1 & 9
Window Lock 1 & 5
WINDOW SWITCH CONTINUITY (PASSENGER'S)

Switch Position Continuity Between Terminals No.
Off 2 & 5; 1 & 4
Up 1 & 4; 5 & 6
Down 2 & 5; 1 & 6
Fig 1: Identifying Passenger Window Switch Terminals
G95B35445Courtesy of CHRYSLER CORP.