LEMON Manuals: Even more car manuals for everyone: 1960-2025
Home >> Chrysler >> 1999 >> Sebring Convertible L4-2.4L VIN X >> Repair and Diagnosis >> Powertrain Management >> Computers and Control Systems >> Relays and Modules - Computers and Control Systems >> Body Control Module >> Locations >> Component Locations
April 5, 2026: LEMON Manuals is launched! Read the announcement.

Component Locations

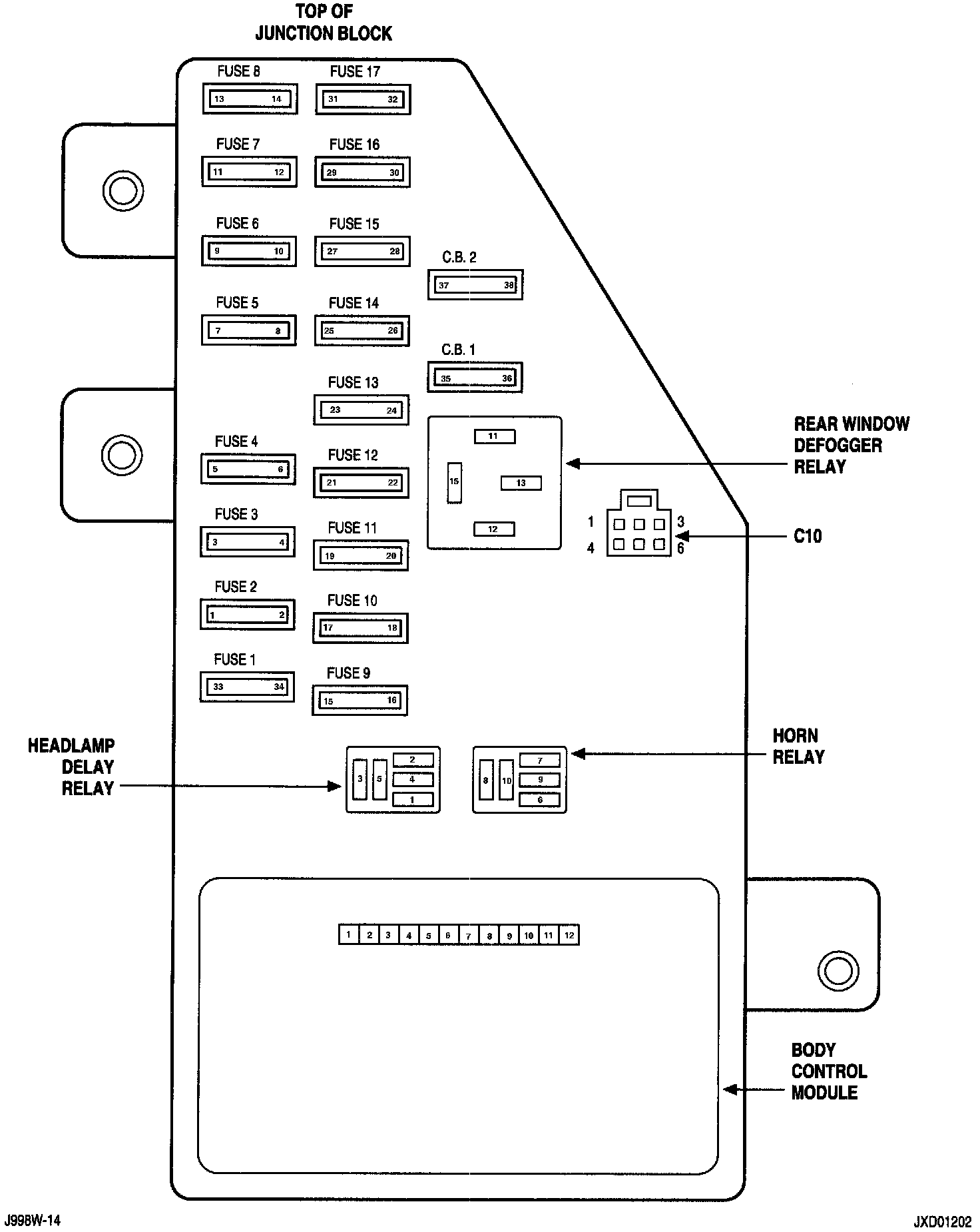
Junction Block/Body Control Module:




Junction Block Location:




Junction Block 8w-12-2:





The Body Control Module is connected to the electrical Junction Block (JB), located in the left end cap of the instrument panel.