LEMON Manuals: Even more car manuals for everyone: 1960-2025
Home >> Chrysler >> 2000 >> Intrepid Base >> Repair and Diagnosis >> Body & Frame >> Body, Cab Control Systems >> Body Control Modules >> System Tests >> Communications >> No Response From Powertrain Control Module (PCI Bus)
April 5, 2026: LEMON Manuals is launched! Read the announcement.

No Response From Powertrain Control Module (PCI Bus)

NOTE: After making any repairs, perform POWERTRAIN VERIFICATION TEST  under VERIFICATION TESTS.
  1. Connect scan tool to Data Link Connector (DLC). Turn ignition on. Using scan tool, attempt to communicate with Body Control Module (BCM). If scan tool communicates with BCM, go to next step. If scan tool does not communicate with BCM, repair communication concern. See NO RESPONSE FROM BODY CONTROL MODULE (BUS +/- SIGNAL OPEN)  .
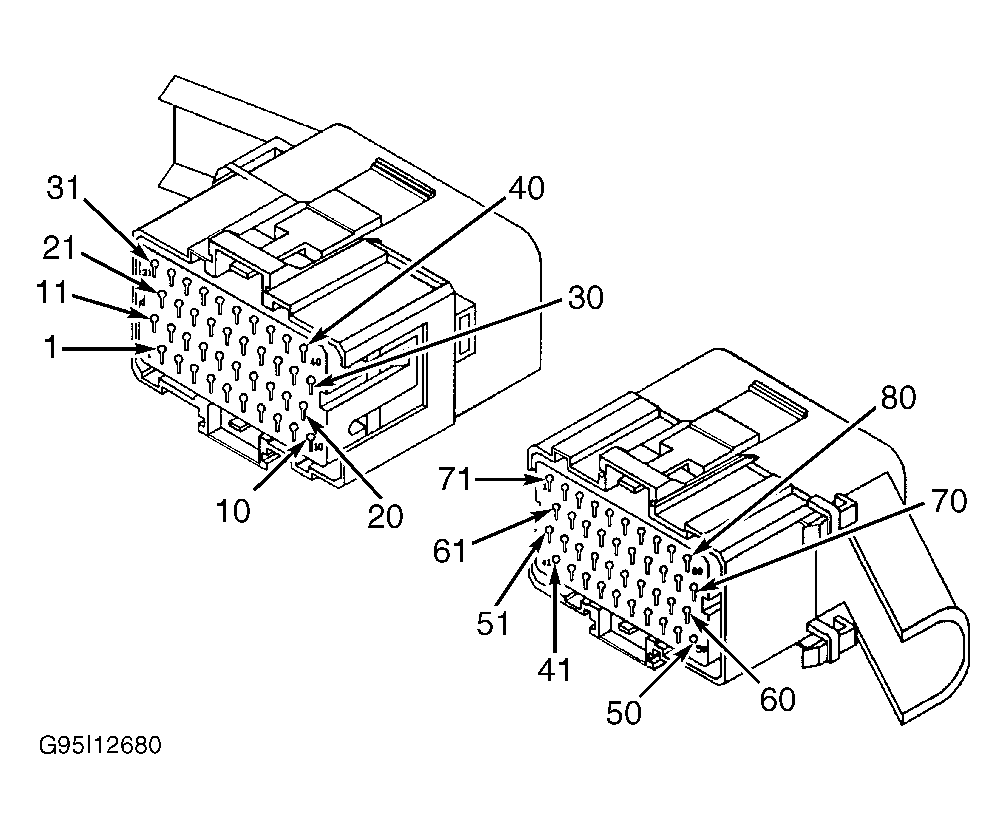
  2. Turn ignition off. Disconnect Powertrain Control Module (PCM) harness connectors. Turn ignition on. Connect at test light between ground and terminal No. 20 (Dark Blue/White wire) at PCM harness connector C1. See Fig 1 . If test light illuminates, go to next step. If test light does not illuminate, repair power distribution circuit as necessary. See POWER DISTRIBUTION article in WIRING DIAGRAMS.
  3. Turn ignition off. Connect at test light between ground and terminal No. 46 (Red/White wire) at PCM harness connector C2. If test light illuminates, go to next step. If test light does not illuminate, repair power distribution circuit as necessary. See POWER DISTRIBUTION article in WIRING DIAGRAMS.
  4. Connect at test light between positive battery terminal and terminal No. 10 (Black/Tan wire) at PCM harness connector C1. If test light illuminates, go to next step. If test light does not illuminate, repair open in Black/Tan wire between ground and PCM.
  5. Connect at test light between positive battery terminal and terminal No. 50 (Black/Tan wire) at PCM harness connector C2. If test light illuminates, go to next step. If test light does not illuminate, repair open in Black/Tan wire between ground and PCM.
  6. Connect at test light between positive battery terminal and terminal No. 47 (Black/White wire) at PCM harness connector C2. If test light illuminates, go to next step. If test light does not illuminate, repair open in Black/White wire between ground and PCM.
  7. Connect Diagnostic Readout Box (DRBIII(R)) to Data Link Connector (DLC). Connect Scope Input Cable (CH7058) to channel one connector on DRBIII(R). Connect Red and Black leads and Cable Probe Adapter (CH7062) to scope input cable. Using DRBIII(R), access lab scope 12-volt square wave and set to 20-volt range. Go to next step.
  8. Connect Black lead to ground and Red lead to terminal No. 59 (Violet/Yellow wire) at PCM harness connector C2. Turn ignition on. If voltage does not pulse from zero to 7.5 volts, go to next step. If voltage pluses from zero to 7.5 volts, replace PCM.
  9. Turn ignition off. Disconnect Body Control Module (BCM) harness connector C4. Measure resistance in Violet/Yellow wire between terminal No. 59 at PCM harness connector C2 and terminal No. 1 at BCM harness connector C3. See Figure and Fig 1 . If resistance is greater than 5 ohms, repair open in Violet/Yellow wire between PCM and BCM. If resistance is 5 ohms or less, replace BCM.
Fig 1: Identifying Powertrain Control Module Harness Connector Terminals
G95I12680Courtesy of CHRYSLER CORP.