LEMON Manuals: Even more car manuals for everyone: 1960-2025
Home >> Chrysler >> 2000 >> Intrepid Base >> Repair and Diagnosis >> Body & Frame >> Body, Cab Control Systems >> Body Control Modules >> System Tests >> Instrument Cluster Systems >> Dimming Level Switch Failure
April 5, 2026: LEMON Manuals is launched! Read the announcement.

Dimming Level Switch Failure

  1. Turn ignition off. Connect scan tool to Data Link Connector (DLC). Turn ignition on. Using scan tool, check dimming level voltage. If .2-4.0 volts is displayed, go to next step. If .2-4.0 volts is not displayed, go to step  3 .
  2. Using scan tool, clear DTCs. Rotate dimmer switch from low to high several times. Using scan tool, retrieve DTCs. If this DTC resets, replace Body Control Module (BCM). If this DTC does not reset, problem is intermittent.
  3. Using scan tool, check dimming level voltage. If greater than 4.8 volts is displayed, go to next step. If 4.8 volts or less is displayed, go to step  10 .
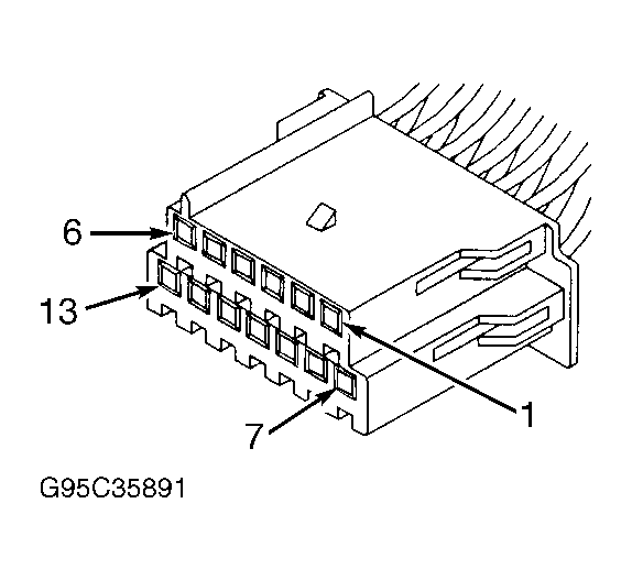
  4. Turn ignition off. Close all doors. Turn all lights off. Disconnect headlight switch harness connector. Measure resistance between ground and terminal No. 6 (White wire) at headlight switch harness connector. See Figure . If resistance is 20 ohms or less, go to next step. If resistance is greater than 20 ohms, go to step  9 .
  5. Turn ignition on. Measure voltage at terminal No. 3 (Red wire) at headlight switch harness connector. If battery voltage exists, go to next step. If battery voltage does not exist, go to step  8 .
  6. Connect a test light between ground and terminal No. 3 (Red wire) at headlight switch harness connector. If test light illuminates, go to next step. If test light does not illuminate, replace headlight switch.
  7. Turn ignition off. Disconnect Body Control Module (BCM) harness connector C2. Connect a test light between ground and terminal No. 3 (Red wire) at headlight switch harness connector. If test light illuminates, repair short to voltage in Red wire between headlight switch and BCM. If test light does not illuminate, replace BCM.
  8. Turn ignition off. Disconnect Body Control Module (BCM) harness connector C2. Measure resistance in Red wire between terminal No. 3 at headlight switch harness connector and terminal No. 21 at BCM harness connector C2. See Figure and Figure . If resistance is 5 ohms or less, replace BCM. If resistance is greater than 5 ohms, repair open in Red wire between headlight switch and BCM.
  9. Turn ignition off. Disconnect Body Control Module (BCM) harness connector C2. Measure resistance in White wire between terminal No. 6 at headlight switch harness connector and terminal No. 19 at BCM harness connector C2. See Figure and Figure . If resistance is 5 ohms or less, replace BCM. If resistance is greater than 5 ohms, repair open in White wire between headlight switch and BCM.
  10. Turn ignition off. Disconnect Body Control Module (BCM) harness connector C2. Measure resistance between ground and terminal No. 21 (Red wire) at BCM harness connector C2. See Figure . If resistance is greater than 5 ohms, go to next step. If resistance is 5 ohms or less, repair short to ground in Red wire between headlight switch and BCM.
  11. Measure resistance between terminals No. 19 (White wire) and No. 21 (Red wire) at BCM harness connector C2. If resistance is greater than 5 ohms, go to next step. If resistance is 5 ohms or less, repair Red wire and White wire shorted to each other between headlight switch and BCM.
  12. Connect BCM harness connector C2. Turn ignition on. Using scan tool, check dimming level voltage. If 5 volts or less is displayed, replace BCM. If greater than 5 volts is displayed, replace headlight switch.