LEMON Manuals: Even more car manuals for everyone: 1960-2025
Home >> Chrysler >> 2000 >> Intrepid Base >> Repair and Diagnosis >> Body & Frame >> Body, Cab Control Systems >> Body Control Modules >> System Tests >> Memory Systems >> Horizontal Rearward Position Stuck
April 5, 2026: LEMON Manuals is launched! Read the announcement.

Horizontal Rearward Position Stuck

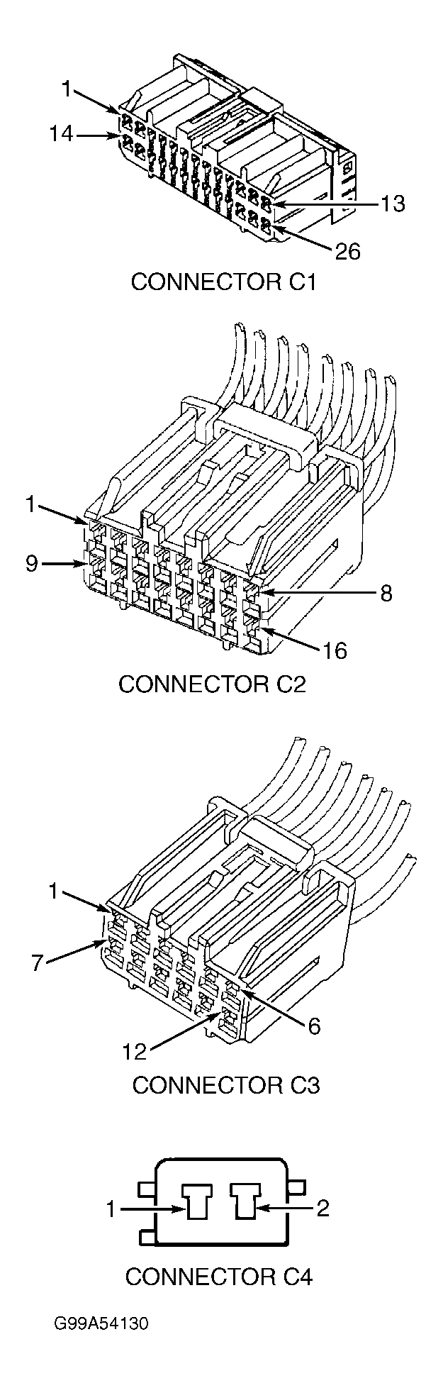
  1. Disconnect power seat switch harness connector. Turn ignition on. Measure voltage at terminal No. 3 (Red/Light Blue wire) at power seat switch harness connector. See Figure . If any voltage exists, go to next step. If no voltage exists, replace power seat switch.
  2. Disconnect Memory Heated Seat/Mirror Module (MHSMM) harness connector C1. Measure voltage at terminal No. 23 (Red/Light Blue wire) at MHSMM harness connector C1. See Figure . If no voltage exists, replace MHSMM. If any voltage exists, repair short to voltage in Red/Light Blue wire between power seat switch and MHSMM.