LEMON Manuals: Even more car manuals for everyone: 1960-2025
Home >> Chrysler >> 2000 >> Intrepid ES >> Repair and Diagnosis >> Engine Performance >> System >> Engine Controls - Self-Diagnostics >> Diagnostic Tests >> DTC P1698: No Bus Message From Trans Control Module >> Testing
April 5, 2026: LEMON Manuals is launched! Read the announcement.

DTC P1698: No Bus Message From Trans Control Module: Testing

  1. Turn ignition on. Using scan tool, check for any PCM DTCs. If DTC P1698: NO BUS MESSAGE FROM TRANS CONTROL MODULE is present, go to next step. If DTC P1698: NO BUS MESSAGE FROM TRANS CONTROL MODULE is not present, go to step  9.
  2. If DTC P1686: NO SKIM BUS MESSAGE RECEIVED or DTC P1687: NO CLUSTER BUS MESSAGE is also present, go to next step. If DTC P1686: NO SKIM BUS MESSAGE RECEIVED or DTC P1687: NO CLUSTER BUS is not also present, go to NO RESPONSE FROM TRANSMISSION CONTROL MODULE (TCM) under COMMUNICATIONS in BODY CONTROL MODULES - CONCORDE, INTREPID, LHS & 300M article in ACCESSORIES & EQUIPMENT.
  3. Using scan tool, select the following control modules and note if they communicate with scan tool. Using scan tool, select BODY then BCM. Using scan tool, select THEFT ALARM then SKIM. Using scan tool, select VTSS. Using scan tool, select ANTI-LOCK BRAKES. Using scan tool, select body then ELECTRO-MECHANICAL CLUSTER (MIC). Using scan tool, select PASSIVE RESTRAINTS, then AIR BAG. If one or more modules communicated with scan tool, go to next step. If no modules communicated with scan tool, go to PCI BUS COMMUNICATION FAILURE under COMMUNICATIONS in BODY CONTROL MODULES - CONCORDE, INTREPID, LHS & 300M article in ACCESSORIES & EQUIPMENT.
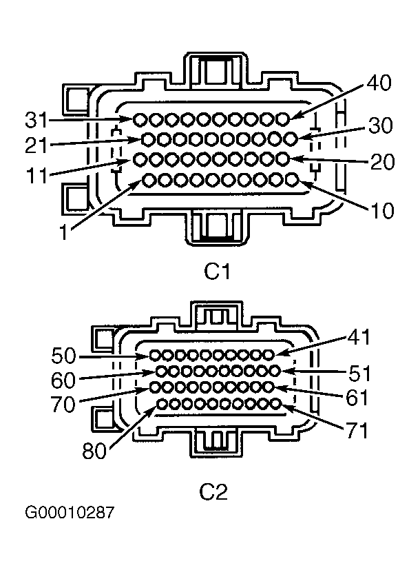
  4. Turn ignition off. Disconnect PCM connector. PCM is located on left side of engine compartment, between Power Distribution Center (PDC) and Transmission Control Module (TCM). See Figure. Inspect connectors for damaged pins, corrosion and loose terminals. Repair connectors as necessary. If connectors are okay, connect a test light to ground. Turn ignition on. Using test light, probe terminal No. 20 (Dark Blue/White wire) at PCM C1 harness connector. See Figure. If test light illuminates brightly, go to next step. If test light is not illuminated or is not bright, repair open in Dark Blue/White wire between PCM and fuse No. 13 (10-amp) in junction block. Junction block is located behind end cover on left side of instrument panel. Repair wiring as necessary.
  5. Turn ignition off. With test light connected to ground, probe terminal No. 46 (Red/White wire) at PCM C2 harness connector. See Figure. If test light illuminates brightly, go to next step. If test light is not illuminated or is not bright, check for high resistance in Red/White wire between PCM and fuse "N" (30-amp) in PDC. If Red/White wire is open, scan tool will display NO RESPONSE FROM POWERTRAIN CONTROL MODULE. Repair wiring as necessary.
  6. Connect test light to positive battery terminal. Using test light, probe terminal No. 10 (Black/Tan wire) at PCM C1 harness connector. Also probe terminals No. 47 (Black/White wire) and No. 50 (Black/Tan wire) at PCM C2 harness connector. If test light illuminates brightly at each terminal, reconnect PCM and go to next step. If test light is not illuminated or is not bright at any terminal, repair open or high resistance in Black/White wire or Black/Tan wire between ground and PCM.
  7. Using scan tool, check for PCM DTCs. If scan tool cannot read PCM DTCs, go to TEST NTC-2: NO RESPONSE FROM PCM (SCI ONLY) . If any other DTCs are present, repair those DTCs before continuing with this test. Turn ignition off. Disconnect PCM connectors. PCM is located on firewall in right rear corner of engine compartment. Visually inspect connectors for corroded, damaged, pushed-out or miswired terminals. Repair connectors as necessary. If connectors are okay, ensure scan tool is connected to Data Link Connector (DLC). Connect Scope Input Cable (CH7058) to channel one connector on scan tool. Obtain Red and Black test probes from DRB scan tool test kit. Connect Red and Black test probe leads to Probe Adapter (CH7062). Connect probe adapter to scope input cable. Using scan tool, select DRB STANDALONE, LAB SCOPE, LIVE, then 12 VOLT SQUARE WAVE. Using scan tool, press F2 for scope. Press F2 again and arrow down until 20-volt scale is selected. Press F2 again when complete. Connect Black test probe to ground and Red test probe to terminal No. 1 (Violet/Yellow wire) at PCM C1 harness connector. See Figure. Turn ignition on and observe voltage displayed on DRB lab scope. If voltage pulses from zero volts to about 7.5 volts, replace PCM. If voltage is a constant zero volts, go to next step.
  8. Turn ignition off. Measure resistance of Violet/Yellow wire between terminal No. 1 at BCM C3 harness connector and terminal No. 59 at PCM C2 harness connector. See Figure and Figure . If resistance is less than 5 ohms, replace BCM. If resistance is 5 ohms or more, repair open in Violet/Yellow wire.
  9. Turn ignition off. Visually inspect related connectors and wiring harness for damage. Repair connectors and wiring harness as necessary. If connectors and wiring harness are okay, no problem is indicated at this time. Check for any related technical service bulletins that may apply.