LEMON Manuals: Even more car manuals for everyone: 1960-2025
Home >> Chrysler >> 2001 >> Intrepid ES >> Repair and Diagnosis >> Engine Performance >> System >> Engine Controls - Self-Diagnostics >> Diagnostic Tests >> DTC P0133: 1/1 O2 Sensor Slow Response >> Testing
April 5, 2026: LEMON Manuals is launched! Read the announcement.

DTC P0133: 1/1 O2 Sensor Slow Response: Testing

NOTE: 1/1 HO2S may also be referred to as an upstream oxygen sensor. 1/1 HO2S is located in outlet flange of right exhaust manifold.
NOTE: Check for contaminates that may have damaged HO2S such as contaminated fuel, unapproved silicone, oil or coolant.
  1. Using scan tool, read DTCs. If GOOD TRIP counter is displayed and equal to zero, go to next step. If GOOD TRIP counter is not displayed and equal to zero, go to step  6 .
  2. Start engine and let it idle. Check exhaust system for leaks between engine and 1/1 HO2S. Repair exhaust system leaks as necessary. If exhaust system is okay, go to next step.
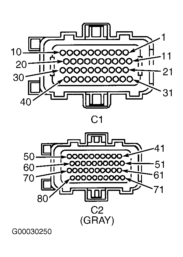
  3. Measure voltage drop in signal circuit (Black/Dark Green wire) by backprobing between 1/1 HO2S harness connector and terminal No. 30 at PCM C1 harness connector. See Figure and Figure . With engine idling, note voltage reading. If voltage drop is less than .1 volt, go to next step. If voltage drop is .1 volt or more, repair high resistance in signal circuit.
  4. Measure voltage drop in sensor ground circuit (Black/Orange wire) by backprobing between 1/1 HO2S harness connector and terminal No. 27 at PCM C1 harness connector. With engine idling, note voltage reading. If voltage drop is less than .1 volt, go to next step. If voltage drop is .1 volt or more, repair high resistance in sensor ground circuit.
  5. If no other possible causes are remaining, 1/1 HO2S is assumed to be defective. Replace 1/1 HO2S.
  6. Conditions that set DTC are not present at this time. Perform the following to help identify intermittent condition:
    • With engine running at normal operating temperature, wiggle wiring harness between 1/1 HO2S and PCM while monitoring 1/1 HO2S voltage on scan tool. If voltage changes or DTC sets while wiggling wiring harness, repair connectors or wiring harness where wiggling caused voltage to change or DTC to set.
    • Review freeze frame information on scan tool. Duplicate conditions present when DTC was set.
    • Refer to any technical service bulletins that may apply.
    • Visually inspect related wiring harness. Check for chafed, pierced, pinched or partially broken wires.
    • Visually inspect related wiring harness connectors. Check for broken, bent, pushed out or corroded terminals.

    If a problem is found, repair as necessary. If no problems are found, test is complete.