LEMON Manuals: Even more car manuals for everyone: 1960-2025
Home >> Chrysler >> 2002 >> Intrepid (CANADA) V6-2.7L >> Repair and Diagnosis >> Diagrams >> Electrical Diagrams >> Power Distribution Module >> Power Distribution Center
April 5, 2026: LEMON Manuals is launched! Read the announcement.

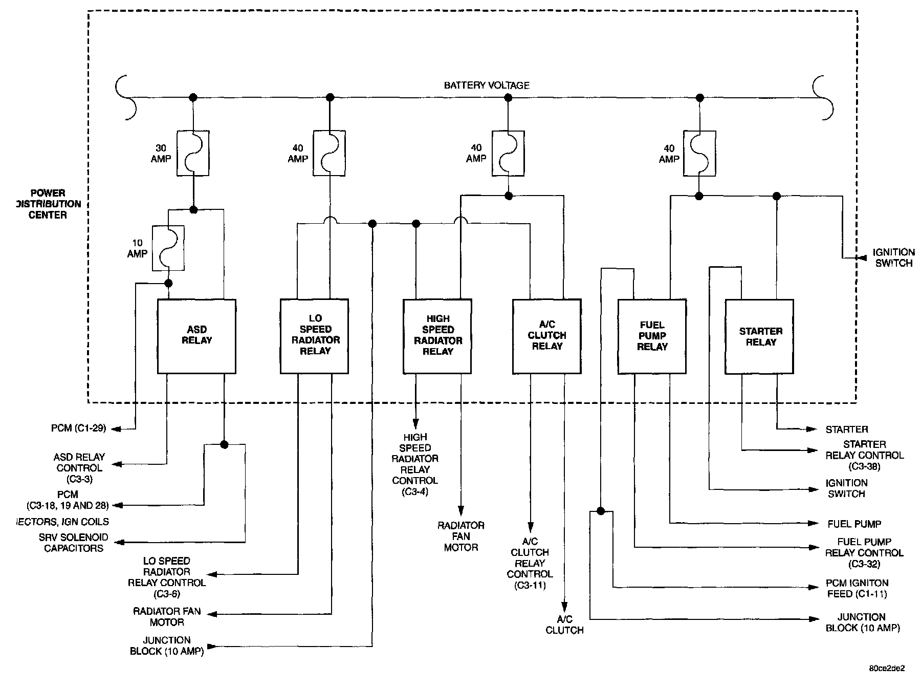
Power Distribution Center

2002 LH 2.7L and 3.5L: