LEMON Manuals: Even more car manuals for everyone: 1960-2025
Home >> Chrysler >> 2002 >> PT Cruiser Base, Automatic >> Repair and Diagnosis >> Engine Performance >> System >> Engine Controls - Self-Diagnostics >> Connector Identification >> Notes
April 5, 2026: LEMON Manuals is launched! Read the announcement.

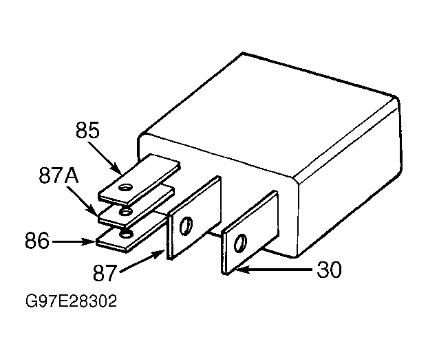
Connector Identification: Notes

NOTE: See Figure thru Figure for connector identification.