LEMON Manuals: Even more car manuals for everyone: 1960-2025
Home >> Chrysler >> 2003 >> PT Cruiser Base, Automatic >> Repair and Diagnosis >> Body & Frame >> Body, Cab Control Systems >> Body Diagnostic Procedures >> Schematic Diagrams >> Compass/Temperature Module
April 5, 2026: LEMON Manuals is launched! Read the announcement.

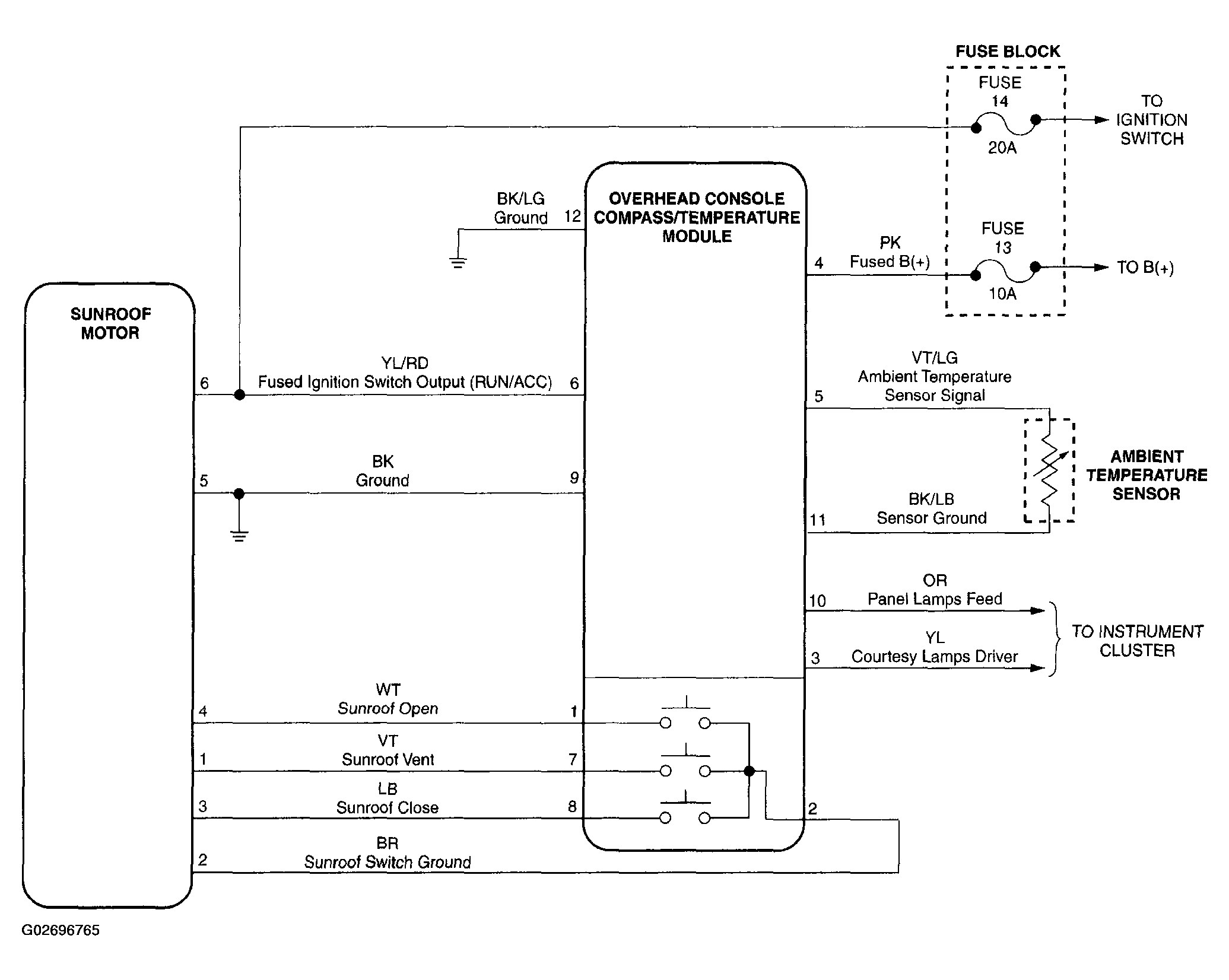
Compass/Temperature Module

Fig 1: Schematic Diagram Compass/Temperature Module
G02696765Courtesy of DAIMLERCHRYSLER CORP.