LEMON Manuals: Even more car manuals for everyone: 1960-2025
Home >> Chrysler >> 2004 >> Intrepid SXT >> Repair and Diagnosis >> Transmission >> Automatic Trans >> Automatic Transmission Diagnostic Procedures >> Connector PINOUTS >> Fuse Block Connector Terminals And Specification
April 5, 2026: LEMON Manuals is launched! Read the announcement.

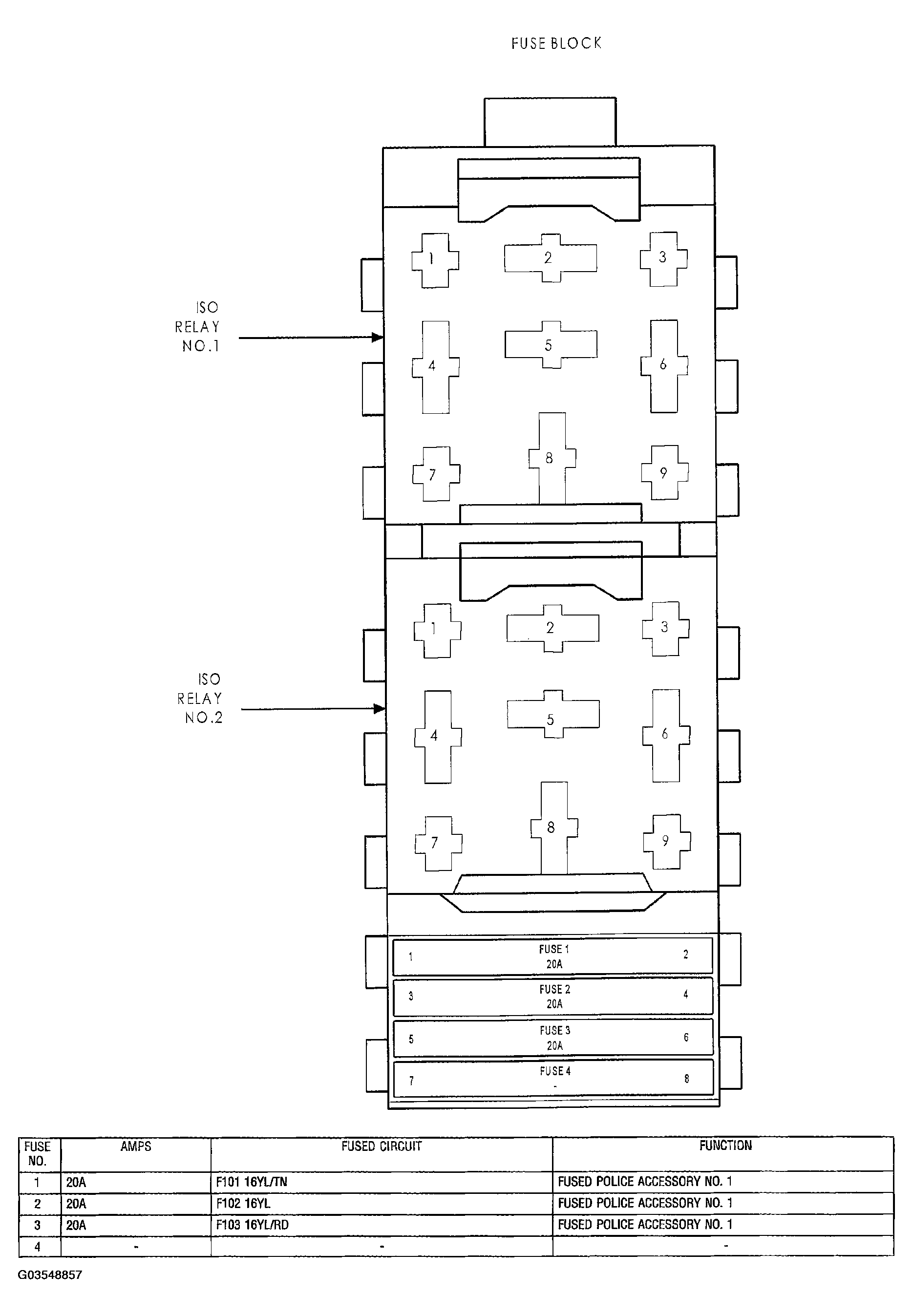
Fuse Block Connector Terminals And Specification

Fig 1: Identifying Fuses Connector Terminals And Specification (FB)
G03548857Courtesy of DAIMLERCHRYSLER CORP.