LEMON Manuals: Even more car manuals for everyone: 1960-2025
Home >> Chrysler >> 2005 >> 300 Base >> Repair and Diagnosis (Single Page) >> Body & Frame >> Door Locks >> Vehicle Theft Security System (Service Information) >> Sentry Key Remote Entry Module >> Description >> Notes
April 5, 2026: LEMON Manuals is launched! Read the announcement.

Sentry Key Remote Entry Module: Description: Notes

When a PCM and the SKREEM are replaced at the same time, perform the following steps in order:

  1. Program the new PCM.
  2. Program the new SKREEM.
  3. Replace all ignition keys and program them to the new SKREEM.
  4. (Refer to ELECTRICAL/ELECTRONIC CONTROL MODULES - STANDARD PROCEDURE - PCM/SKREEM PROGRAMMING)

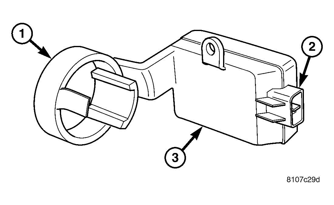
    Fig 1: Sentry Key Remote Entry Module
    GC0016678Courtesy of DAIMLERCHRYSLER CORP.

    The Sentry Key Remote Entry Module (SKREEM) (3) performs the functions of what used to be the Sentry Key Immobilizer Module (SKIM), the Remote Keyless Entry (RKE) Module, and the Tire Pressure Monitoring (TPM) System.

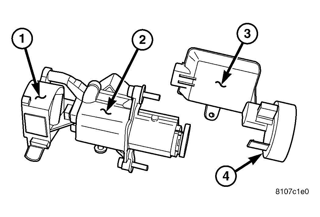
    Fig 2: Locating Sentry Key Remote Entry Module
    GC0016677Courtesy of DAIMLERCHRYSLER CORP.

    The SKREEM is located on and around (antenna ring) (4) the ignition key cylinder (2) along with the ignition switch (1). It is accessible only from behind the instrument panel, to the left of the steering column. Serviceability requires lock cylinder removal to access the complete unit.