LEMON Manuals: Even more car manuals for everyone: 1960-2025
Home >> Chrysler >> 2005 >> Crossfire Base, 2D Convertible >> Repair and Diagnosis (Single Page) >> Accessories & Equipment >> Communication Devices >> Electronic Control Modules - Electrical Diagnostics >> DTC Troubleshooting >> *No Response From A/C Heater Control Module >> Diagnostic Test
April 5, 2026: LEMON Manuals is launched! Read the announcement.

Diagnostic Test

  1. 1)   CHECK COMMUNICATION WITH OTHER MODULES
    Fig 1: Connecting Scan Tool & Turning Ignition On
    GC0032455Courtesy of DAIMLERCHRYSLER CORP.

    Turn the ignition on.

    Using the DRB III®, attempt to communicate with the PCM.

    Is the DRB III® able to communicate with the PCM? 

    Yes 

    1. Go to step  2).

    No 

    1. Perform Symptom *No Response From All Modules.
  2. 2)   CHECK COMMUNICATION WITH OTHER MODULES ON SCI TRANSMIT CIRCUIT
    Fig 2: Connecting Scan Tool & Turning Ignition On
    GC0032455Courtesy of DAIMLERCHRYSLER CORP.

    With the ignition on.

    Using the DRB III®, attempt to communicate with either the Instrument Cluster, Universal Garage Door Opener/Tire Pressure Monitor, or Power Top Control Module (if equipped).

    Is the DRB III® able to communicate with the module selected? 

    Yes 

    1. Go to step  3).

    No 

    1. Go to step  7).
  3. 3)   FUSED B+ CIRCUIT OPEN
    Fig 3: Checking Fused B (+) Circuit
    GC0034934Courtesy of DAIMLERCHRYSLER CORP.

    Turn the ignition off.

    Disconnect the A/C Heater Control Module harness connector.

    NOTE: Check connector - Clean/repair as necessary.

    Turn the ignition on.

    Measure the voltage of the Fused B+ circuit at the A/C Heater Control Module harness connector.

    Is the voltage above 10 volts? 

    Yes 

    1. Go to step  4).

    No 

    1. Repair the Fused B+ circuit for an open.
    2. Perform BODY VERIFICATION TEST .
  4. 4)   FUSED IGNITION SWITCH OUTPUT CIRCUIT(S) OPEN
    Fig 4: Checking Fused Ignition Switch Output Circuits
    GC0034935Courtesy of DAIMLERCHRYSLER CORP.

    With the ignition on.

    Measure the voltage of the Fused Ignition Switch Output circuits at the A/C Heater Control Module harness connector.

    Is the voltage above 10 volts? 

    Yes 

    1. Go to step  5).

    No 

    1. Repair the Fused Ignition Switch Output circuit(s) for an open.
    2. Perform BODY VERIFICATION TEST .
  5. 5)   GROUND CIRCUIT OPEN
    Fig 5: Checking Ground Circuit
    GC0034936Courtesy of DAIMLERCHRYSLER CORP.

    Turn the ignition off.

    Measure the resistance of the Ground circuit from the A/C Heater Control Module harness connector to ground.

    Is the resistance below 5.0 ohms? 

    Yes 

    1. Go to step  6).

    No 

    1. Repair the Ground circuit for an open.
    2. Perform BODY VERIFICATION TEST .
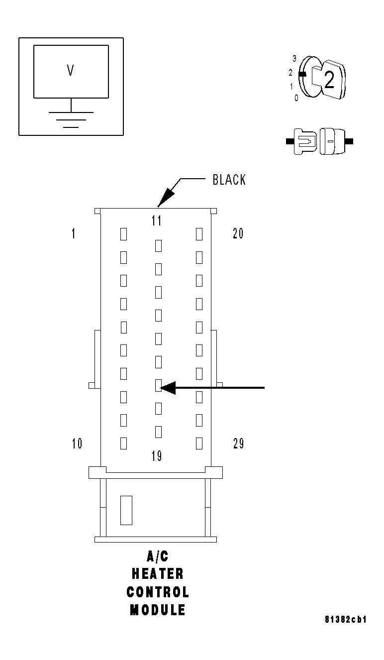
  6. 6)   SCI TRANSMIT CIRCUIT OPEN
    Fig 6: Checking SCI Transmit Circuit
    GC0034937Courtesy of DAIMLERCHRYSLER CORP.

    With the ignition off.

    Measure the resistance of the SCI Transmit circuit from the A/C Heater Control Module harness connector to the DLC.

    Is the resistance below 5.0 ohms? 

    Yes 

    1. Replace the A/C Heater Control Module. (Refer to HEATING & AIR CONDITIONING/CONTROLS/HEATER CONTROL - REMOVAL) .
    2. Perform BODY VERIFICATION TEST .

    No 

    1. Repair the SCI Transmit circuit for an open.
    2. Perform BODY VERIFICATION TEST .
  7. 7)   DISCONNECT MODULES
    Fig 7: Connecting Scan Tool & Turning Ignition On
    GC0032455Courtesy of DAIMLERCHRYSLER CORP.
    NOTE: The Instrument Cluster, Universal Garage Door Opener/Tire Pressure Monitor, A/C Heater Control Module, and Power Top Control Module (if equipped) all use the SCI Transmit circuit at DLC cavity 15 to communicate with the DRB III®. If one of these modules keeps the SCI Transmit circuit artificially high or low, the DRB III® will not be able to communicate with any of the four modules.
    NOTE: Perform the following steps for each of the modules until communication is restored with the other modules or until each of the modules has been eliminated as the cause of the fault.

    Turn the ignition off.

    Disconnect each of the modules noted above, one at a time.

    Turn the ignition on.

    Using the DRB III®, attempt to communicate with any of the three modules still connected.

    Is the DRB III® able to communicate with the module selected? 

    Yes 

    1. Replace the module that was disconnected when communication was restored to the other two modules.
    2. Perform BODY VERIFICATION TEST .

    No 

    1. Go to step  8).
  8. 8)   SCI TRANSMIT CIRCUIT SHORTED TO VOLTAGE
    Fig 8: Checking SCI Transmit Circuit
    GC0034940Courtesy of DAIMLERCHRYSLER CORP.

    Turn the ignition off.

    Disconnect the harness connectors for the IC, UGDO/TPM, A/C Heater Control Module, and Power Top Control Module (if equipped).

    Turn the ignition on.

    Measure the voltage of the SCI Transmit circuit at the A/C Heater Control Module harness connector.

    Is the voltage below 0.5 volt? 

    Yes 

    Go to step  9).

    No 

    1. Repair the SCI Transmit circuit for a short to voltage.
    2. Perform BODY VERIFICATION TEST .
  9. 9)   SCI TRANSMIT CIRCUIT SHORTED TO GROUND OR OPEN
    Fig 9: Checking SCI Transmit Circuit
    GC0034939Courtesy of DAIMLERCHRYSLER CORP.

    Turn the ignition off.

    Measure the resistance between ground and the SCI Transmit circuit.

    Is the resistance above 100 kohms? 

    Yes 

    1. Repair the SCI Transmit circuit for an open.
    2. Perform BODY VERIFICATION TEST .

    No 

    1. Repair the SCI Transmit circuit for a short to ground.
    2. Perform BODY VERIFICATION TEST .