LEMON Manuals: Even more car manuals for everyone: 1960-2025
Home >> Chrysler >> 2005 >> Crossfire Base, 2D Convertible >> Repair and Diagnosis >> Electrical >> Body Electrical >> Connector End Views >> Connector Pin-Outs >> Illumination Control Module A Connector End View
April 5, 2026: LEMON Manuals is launched! Read the announcement.

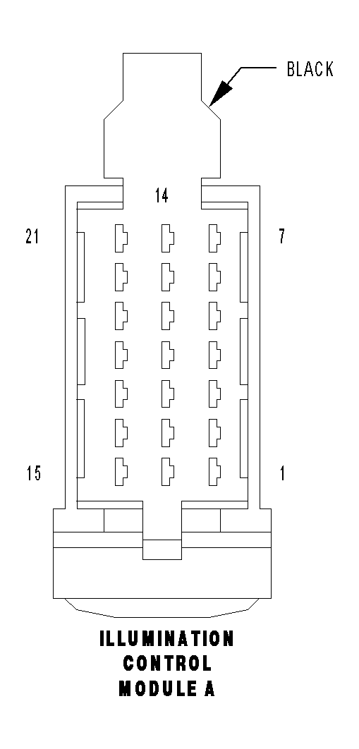
Illumination Control Module A Connector End View

ILLUMINATION CONTROL MODULE A - BLACK 21 WAY

GCZH580128Courtesy of DAIMLERCHRYSLER CORP.
CAV CIRCUIT FUNCTION
1 20GY/YL (LHD A/T) SHIFT LEVER ASSEMBLY REVERSE SUPPLY VOLTAGE
1 20GY/YL (LHD M/T) BACKUP LAMP SWITCH OUTPUT
1 18RD/WT (RHD) FUSED IGNITION SWITCH OUTPUT
2 18BK/RD (LHD) BRAKE LAMP RELAY OUTPUT
2 20GY/YL (RHD A/T) SHIFT LEVER ASSEMBLY REVERSE SUPPLY VOLTAGE
2 20GY/YL (RHD M/T) BACKUP LAMP SWITCH OUTPUT
3 18GY/YL (LHD A/T) SHIFT LEVER ASSEMBLY REVERSE SUPPLY VOLTAGE
3 18GY/YL (LHD M/T) BACKUP LAMP SWITCH OUTPUT
4 18GY/YL (LHD A/T) SHIFT LEVER ASSEMBLY REVERSE SUPPLY VOLTAGE
4 18GY/YL (LHD M/T) BACKUP LAMP SWITCH OUTPUT
4 20PK/RD (RHD) FUSED IGNITION SWITCH OUTPUT
5 20BK/BL (LHD) BRAKE LAMP RELAY OUTPUT
6 18BK/YL (LHD) BRAKE LAMP RELAY OUTPUT
6 18GY/DG (RHD) FUSED ILLUMINATION CONTROL MODULE OUTPUT
7 18BK/RD (LHD) BRAKE LAMP RELAY OUTPUT
8 14YL/BK FOG LAMP SWITCH OUTPUT
9 20GY/YL (A/T) SHIFT LEVER ASSEMBLY REVERSE SUPPLY VOLTAGE
9 20GY/YL (M/T) BACKUP LAMP SWITCH OUTPUT
10 18DG/WT (LHD) FUSED ILLUMINATION CONTROL MODULE OUTPUT
10 18BK/RD (RHD) BRAKE LAMP RELAY OUTPUT
11 18GY/RD (LHD) FUSED RIGHT STANDING/PARK LAMPS OUTPUT
11 18BK/RD (RHD) BRAKE LAMP RELAY OUTPUT
12 18GY/VT FUSED ILLUMINATION CONTROL MODULE OUTPUT
13 18GY/YL FUSED ILLUMINATION CONTROL MODULE OUTPUT
14 18GY/DG (LHD EXPORT) REAR FOG LAMP SWITCH OUTPUT
14 18GY/BK (RHD) FUSED LEFT STANDING/PARK LAMPS OUTPUT
15 18PK/RD (LHD) FUSED IGNITION SWITCH OUTPUT
16 18RD/WT (LHD) FUSED IGNITION SWITCH OUTPUT
16 18GY/YL (RHD A/T) SHIFT LEVER ASSEMBLY REVERSE SUPPLY VOLTAGE
16 18GY/YL (RHD M/T) BACKUP LAMP SWITCH OUTPUT
17 - -
18 18GY/BK (LHD) FUSED LEFT STANDING/PARK LAMPS OUTPUT
18 18DG/WT (RHD) FUSED ILLUMINATION CONTROL MODULE OUTPUT
19 18BL/BR (LHD) FUSED LEFT STANDING/PARK LAMPS OUTPUT
19 20BK/BL (RHD) BRAKE LAMP RELAY OUTPUT
20 18BK/YL (RHD) BRAKE LAMP RELAY OUTPUT
21 18BK/VT (LHD) FUSED RIGHT STANDING/PARK LAMPS OUTPUT
21 18GY/RD (RHD) FUSED RIGHT STANDING/PARK LAMPS OUTPUT