LEMON Manuals: Even more car manuals for everyone: 1960-2025
Home >> Chrysler >> 2005 >> Crossfire Base, 2D Convertible >> Repair and Diagnosis >> Engine Performance >> Fuel Delivery >> Fuel System >> Fuel Injection >> Accelerator Pedal Position Sensor >> Description
April 5, 2026: LEMON Manuals is launched! Read the announcement.

Accelerator Pedal Position Sensor: Description

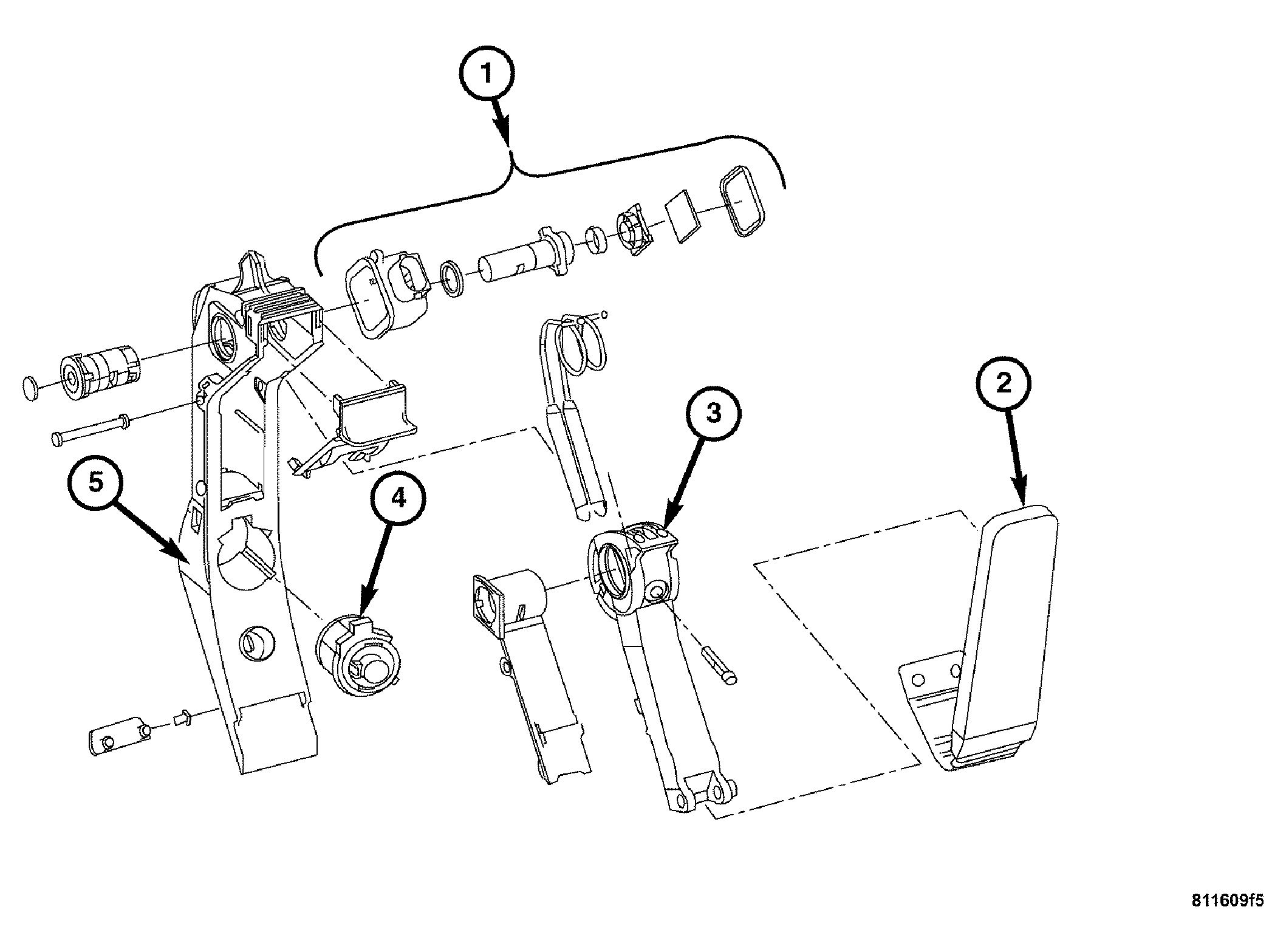
Fig 1: Identifying Accelerator Pedal Components
GC0032337Courtesy of DAIMLERCHRYSLER CORP.
1 - ACCELERATOR PEDAL POSITION SENSOR
2 - ACCELERATOR PEDAL
3 - PEDAL LEVER
4 - KICKDOWN SIMULATOR
5 - BASE PLATE

The Accelerator Pedal Position Sensor (1) is located inside the Accelerator Pedal. The Accelerator Pedal Position Sensor (1) can not be serviced by itself. The Accelerator Pedal must be replaced as an assembly. (Refer to FUEL SYSTEM/FUEL INJECTION/ACCELERATOR PEDAL - REMOVAL) .