LEMON Manuals: Even more car manuals for everyone: 1960-2025
Home >> Chrysler >> 2005 >> PT Cruiser Base, 2D Convertible, Automatic >> Repair and Diagnosis >> Restraints >> Restraints Control Systems >> CLOCKSPRING >> Description
April 5, 2026: LEMON Manuals is launched! Read the announcement.

Restraints Control Systems: CLOCKSPRING: Description

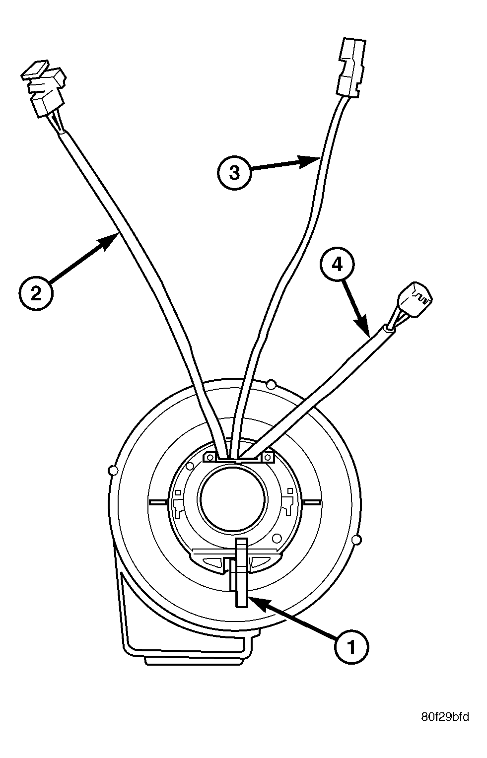
Fig 1: Clockspring
GC0022994Courtesy of DAIMLERCHRYSLER CORP.
1 - LOCKING PIN
2 - DRIVER AIRBAG WIRE/CONNECTOR
3 - HORN WIRE/CONNECTOR
4 - SPEED CONTROL WIRE/CONNECTOR

The clockspring is mounted to the steering column behind the steering wheel. See Fig 1. This assembly consists of a flat, ribbon like, electrically conductive tape that winds and unwinds with the steering wheel rotation. The clockspring is used to maintain a continuous electrical circuit between the wiring harness and the: