LEMON Manuals: Even more car manuals for everyone: 1960-2025
Home >> Chrysler >> 2006 >> PT Cruiser Base, 2D Convertible, Automatic >> Repair and Diagnosis >> Restraints >> Restraints Control Systems >> Restraints System (Service Information) >> Sensor-Seat Weight >> Installation
April 5, 2026: LEMON Manuals is launched! Read the announcement.

Sensor-Seat Weight: Installation

WARNING: To avoid personal injury or death, never strike or drop a seat weight sensor or the passenger side front seat assembly to which the sensors are secured as it can damage the sensors or affect their calibration. The seat weight sensors and the passenger side front seat assembly must be handled with care to avoid damage to the sensors. Do not sit upon or place any loads upon a passenger side front seat while it is removed from its mounts in or outside of the vehicle. If an individual sensor is dropped or damaged, replace the sensor with a new and unused unit. If a seat has been dropped during removal or loaded while removed from its mounts, replace each of the seat weight sensors with new and unused units. Failure to observe this warning could result in an accidental, incomplete, or improper passenger side front supplemental restraint deployment.
WARNING: To avoid personal injury or death on vehicles equipped with the Occupant Classification System (OCS), any time the passenger side front seat assembly has been removed or loosened from the vehicle for service of any vehicle component or system the Occupant Classification System Verification Test must be performed using a diagnostic scan tool and the Occupant Classification Seat Weight special tool following reinstallation. Refer to the appropriate diagnostic procedures. Failure to observe this warning could result in an accidental, incomplete, or improper passenger side front supplemental restraint deployment.
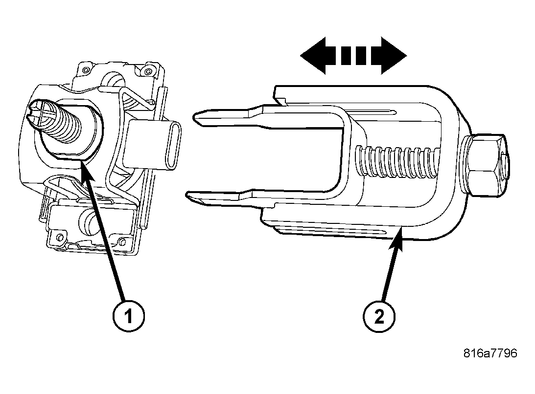
Fig 1: STRAIN GAUGE ALIGNMENT TOOL #9689
GC0043110Courtesy of DAIMLERCHRYSLER CORP.
CAUTION: Strain gauge alignment tool 9689 (2) must be used to secure the body of the seat weight sensor (1) from any rotation during removal or installation of the nut that secures the sensor stud to the seat adjuster riser. In addition, the sensor fasteners should always be serviced using hand tools ONLY, and not electric or pneumatic power tools. Failure to observe these precautions may result in irreversible sensor damage and require sensor replacement.
Fig 2: REMOVING/INSTALLING SEAT WEIGHT SENSOR AT ADJUSTER TRACK
GC0043112Courtesy of DAIMLERCHRYSLER CORP.
  1. Install the seat weight sensor and install the nuts securing the seat weight sensor to the adjuster track. Tighten nuts to 28 N.m (21 ft. lbs.).
  2. Place the seat track onto the seat riser.
  3. Install the nut on the center stud and repeat for each of the four weight sensors.
    CAUTION: Do not tighten the center nut to the seat weight sensors without the use of strain gauge alignment tool 9689.
    Fig 3: INSERTING/REMOVING FORK AT WEIGHT SENSOR
    GC0043111Courtesy of DAIMLERCHRYSLER CORP.
  4. Insert the fork (1) into weight sensor and seat the support yoke (2) firmly against the weight sensor cage. Tighten nut to 45 N.m (33 ft. lbs.). Repeat for all four sensors.
    Fig 4: INSTALLING/REMOVING STRAIN GAUGE ALIGNMENT TOOL #9689
    GC0043113Courtesy of DAIMLERCHRYSLER CORP.
  5. Connect each weight sensor electrical connector.
  6. Reinstall the passenger front seat (Refer to BODY/SEATS/SEAT - INSTALLATION) .
WARNING: Do not connect the battery negative cable (Refer to ELECTRICAL/RESTRAINTS - DIAGNOSIS AND TESTING - AIRBAG SYSTEM)  . Personal injury or death may result if the system test is not performed first.
WARNING: Following successful completion of the Airbag System verification test procedure, perform the Occupant Classification System Verification Test using a diagnostic scan tool and the Occupant Classification Seat Weight special tool 9077. Refer to the appropriate diagnostic information.