LEMON Manuals: Even more car manuals for everyone: 1960-2025
Home >> Chrysler >> 2007 >> Crossfire Base, 2D Convertible >> Repair and Diagnosis >> Electrical >> Body Electrical >> Connector End Views >> Connector Pin-Outs >> Transmission Control Module Connector End View (C1)
April 5, 2026: LEMON Manuals is launched! Read the announcement.

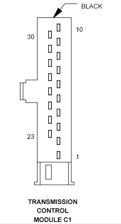
Transmission Control Module Connector End View (C1)

TRANSMISSION CONTROL MODULE C1 - BLACK 18-WAY

GZH780248Courtesy of CHRYSLER CORP.
CAV  CIRCUIT  FUNCTION 
1 22DG SCI TRANSMIT
2 - -
3 - -
4 - -
5 - -
6 - -
7 - -
8 - -
9 - -
10 - -
23 - -
24 - -
25 - -
26 - -
27 - -
28 - -
29 18RD/DG TRACTION SYSTEM RELAY OUTPUT
30 18BR GROUND