LEMON Manuals: Even more car manuals for everyone: 1960-2025
Home >> Chrysler >> 2007 >> Crossfire Base, 2D Convertible >> Repair and Diagnosis >> Quick Lookups >> Wiring Diagrams >> Connector End Views >> Connector Pin-Outs >> Illumination Control Module A Connector End View
April 5, 2026: LEMON Manuals is launched! Read the announcement.

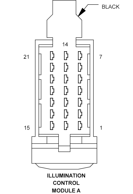
Illumination Control Module A Connector End View

ILLUMINATION CONTROL MODULE A - BLACK 21-WAY

GZH780128Courtesy of CHRYSLER CORP.
CAV  CIRCUIT  FUNCTION 
1 20GY/YL SHIFT LEVER ASSEMBLY REVERSE SUPPLY VOLTAGE (LHD A/T)
1 20GY/YL BACKUP LAMP SWITCH OUTPUT (LHD M/T)
1 18RD/WT FUSED IGNITION SWITCH OUTPUT (RHD)
2 18BK/RD BRAKE LAMP RELAY OUTPUT (LHD)
2 20GY/YL BACKUP LAMP SWITCH OUTPUT (RHD M/T)
3 18GY/YL SHIFT LEVER ASSEMBLY REVERSE SUPPLY VOLTAGE (LHD A/T)
3 18GY/YL BACKUP LAMP SWITCH OUTPUT (LHD M/T)
4 18GY/YL SHIFT LEVER ASSEMBLY REVERSE SUPPLY VOLTAGE (LHD A/T)
4 18GY/YL BACKUP LAMP SWITCH OUTPUT (LHD M/T)
4 20PK/RD FUSED IGNITION SWITCH OUTPUT (RHD)
5 20BK/BL BRAKE LAMP RELAY OUTPUT (LHD)
6 18BK/YL BRAKE LAMP RELAY OUTPUT (LHD)
6 18GY/DG FUSED ILLUMINATION CONTROL MODULE OUTPUT (RHD)
7 18BK/RD BRAKE LAMP RELAY OUTPUT (LHD)
8 14YL/BK FOG LAMP SWITCH OUTPUT
9 20GY/YL SHIFT LEVER ASSEMBLY REVERSE SUPPLY VOLTAGE (RHD A/T)
9 20GY/YL BACKUP LAMP SWITCH OUTPUT (RHD M/T)
10 18DG/WT FUSED ILLUMINATION CONTROL MODULE OUTPUT (LHD)
10 18BK/RD BRAKE LAMP RELAY OUTPUT (RHD)
11 18GY/RD FUSED RIGHT STANDING/PARK LAMPS OUTPUT (LHD)
11 18BK/RD BRAKE LAMP RELAY OUTPUT (RHD)
12 18GY/VT FUSED ILLUMINATION CONTROL MODULE OUTPUT
13 18GY/YL FUSED ILLUMINATION CONTROL MODULE OUTPUT
14 18GY/DG REAR FOG LAMP SWITCH OUTPUT (LHD EXPORT)
14 18GY/BK FUSED LEFT STANDING/PARK LAMPS OUTPUT (RHD)
15 20PK/RD FUSED IGNITION SWITCH OUTPUT (LHD)
16 18RD/WT FUSED IGNITION SWITCH OUTPUT (LHD)
16 18GY/YL SHIFT LEVER ASSEMBLY REVERSE SUPPLY VOLTAGE (RHD A/T)
16 18GY/YL BACKUP LAMP SWITCH OUTPUT (RHD M/T)
17 - -
18 18GY/BK FUSED LEFT STANDING/PARK LAMPS OUTPUT (LHD)
18 18DG/WT FUSED ILLUMINATION CONTROL MODULE OUTPUT (RHD)
19 18BL/BR FUSED LEFT STANDING/PARK LAMPS OUTPUT (LHD)
19 20BK/BL BRAKE LAMP RELAY OUTPUT (RHD)
20 18BK/YL BRAKE LAMP RELAY OUTPUT (RHD)
21 18BK/VT FUSED RIGHT STANDING/PARK LAMPS OUTPUT (LHD)
21 18GY/RD FUSED RIGHT STANDING/PARK LAMPS OUTPUT (RHD)