LEMON Manuals: Even more car manuals for everyone: 1960-2025
Home >> Chrysler >> 2007 >> Pacifica Limited, AWD >> Repair and Diagnosis >> Engine Performance >> Ignition System >> Ignition Control - Electrical Diagnostics >> Ignition Control-Electrical Diagnostics >> DTC Troubleshooting >> Ignition Run/Start Input Mismatch-IPM >> Diagnostic Test
April 5, 2026: LEMON Manuals is launched! Read the announcement.

Diagnostic Test

  1. 1) TEST B(+) AT IPM FUSE #30 
    Fig 1: Measuring The Voltage Between Ground And The B(+) Circuit To Fuse #30
    GC0048763Courtesy of CHRYSLER LLC
    NOTE: Ensure the battery is fully charged and battery cables are properly tightened.
    NOTE: Ensure the IPM battery and ground connections are clean and properly tightened.

    Using the wiring diagram/schematic as a guide, measure the voltage between ground and the B(+) circuit to Fuse #30.

    Does the test light illuminate brightly? 

    Yes 

    1. Go To step  2).

    No 

    1. Replace the IPM in accordance with the Service Information.
    2. Perform BODY VERIFICATION TEST - VER 1 .
  2. 2) INSPECT IPM FUSE #30 
    Fig 2: Fuse 30
    GC0048764Courtesy of CHRYSLER LLC

    Turn the ignition off.

    Remove and inspect IPM Fuse #30.

    NOTE: If fuse is open, replace with proper rated fuse. Turn the ignition to the "RUN" position only.

    Turn the ignition off.

    Remove and inspect IPM Fuse #30.

    Is the IPM Fuse #30 open? 

    Yes 

    1. Go To step  3).

    No 

    1. Go To step  10).
  3. 3) IPM - INTERNAL SHORT TO FUSE #30 
    Fig 3: Measuring The Resistance Between Ground And The IPM C9, Terminal Pin 2
    GC0048765Courtesy of CHRYSLER LLC

    Turn the ignition off.

    Disconnect the IPM C9 harness connector.

    Measure the resistance between ground and the IPM C9, terminal pin 2.

    Is the resistance below 5.0 ohms? 

    Yes 

    1. Replace the IPM in accordance with the Service Information.
    2. Perform BODY VERIFICATION TEST - VER 1 .

    No 

    1. Go To step  4).
  4. 4) FUSED B(+) CIRCUIT SHORT TO GROUND 
    Fig 4: Measuring The Resistance Between Ground And The Fused B(+) Circuit
    GC0048766Courtesy of CHRYSLER LLC

    Turn the ignition off.

    Disconnect the IPM C9 harness connector.

    Disconnect the Ignition Switch harness connector.

    Measure the resistance between ground and the Fused B(+) circuit.

    Is the resistance below 5.0 ohms? 

    Yes 

    1. Repair the Fused B(+) circuit for a short to ground.
    2. Perform BODY VERIFICATION TEST - VER 1 .

    No 

    1. Go To step  5).
  5. 5) CHECK IGNITION SWITCH FOR A SHORT TO GROUND 
    Fig 5: Measuring The Resistance Of The Ignition Switch Terminal Pins 3 And 5 To Ground
    GC0048767Courtesy of CHRYSLER LLC

    Turn the ignition off.

    Disconnect the Ignition Switch harness connector.

    Measure the resistance of the Ignition Switch terminal pin 3 to ground.

    Measure the resistance of the Ignition Switch terminal pin 5 to ground.

    Is the resistance below 5.0 ohms for either terminal pin? 

    Yes 

    1. Replace the Ignition Switch in accordance with the Service Information.
    2. Perform BODY VERIFICATION TEST - VER 1 .

    No 

    1. Go To step  6).
  6. 6) IGNITION SWITCH OUTPUT (RUN-START) CIRCUIT SHORT TO GROUND 
    Fig 6: Measuring The Resistance Between Ground And The Ignition Switch Output Circuit
    GC0048768Courtesy of CHRYSLER LLC

    Turn the ignition off.

    Disconnect the IPM C9 harness connector.

    Disconnect the BCM C2 harness connector.

    Disconnect the Ignition Switch harness connector.

    Disconnect the SKREEM harness connector.

    Using the wiring diagram/schematic as a guide, measure the resistance between ground and the Ignition Switch Output (Run-Start) circuit.

    Is the resistance below 5.0 ohms? 

    Yes 

    1. Repair the Ignition Switch Output (Run-Start) circuit for a short to ground.
    2. Perform BODY VERIFICATION TEST - VER 1 .

    No 

    1. Go To step  7).
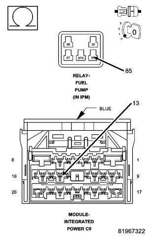
  7. 7) IPM - INTERNAL SHORT TO RUN-START SENSE 
    Fig 7: Measuring The Resistance Between Ground And The IPM C9, Terminal Pin 13
    GC0048769Courtesy of CHRYSLER LLC

    Turn the ignition off.

    Disconnect the IPM C9 harness connector.

    Remove the Fuel Pump relay from the IPM.

    Measure the resistance between ground and the IPM C9, terminal pin 13.

    Is the resistance below 5.0 ohms? 

    Yes 

    1. Replace the IPM in accordance with the Service Information.
    2. Perform BODY VERIFICATION TEST - VER 1 .

    No 

    1. Go To step  8).
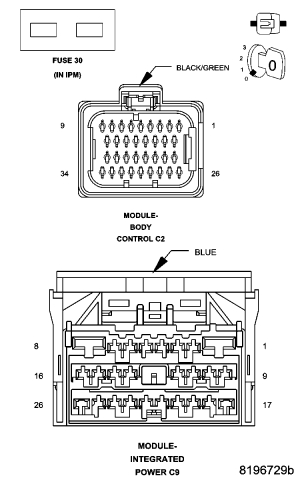
  8. 8) BCM 
    Fig 8: IPM C9 Harness Connector BCM C2 Harness Connector
    GC0048770Courtesy of CHRYSLER LLC

    Turn the ignition off.

    Reconnect the IPM C9 harness connector.

    Reconnect the BCM C2 harness connector.

    Install proper rated fuse to IPM Fuse #30.

    Turn the ignition the "RUN/ON" for approximately 15 seconds.

    Turn the ignition off.

    Remove and inspect IPM Fuse #30.

    Is the IPM Fuse #30 open? 

    Yes 

    1. Replace the BCM in accordance with the Service Information.
    2. Perform BODY VERIFICATION TEST - VER 1 .

    No 

    1. Go To step  9).
  9. 9) SKREEM 
    Fig 9: SKREEM Harness Connector
    GC0048771Courtesy of CHRYSLER LLC

    Turn the ignition off.

    Reconnect the SKREEM harness connector.

    Turn the ignition on for approximately 15 seconds.

    Turn the ignition off.

    Remove and inspect IPM Fuse #30.

    Is IPM Fuse #30 open? 

    Yes 

    1. Replace the SKREEM in accordance with the Service Information.
    2. Perform BODY VERIFICATION TEST - VER 1 .

    No 

    1. The condition is not present at this time. Monitor scan tool parameters while wiggling the related wire harness. Refer to any Technical Service Bulletins (TSB) that may apply. Visually inspect the related wiring harness connectors and terminals.
    2. Perform BODY VERIFICATION TEST - VER 1 .
  10. 10) CHECK FOR B+ AT THE IGNITION SWITCH 
    Fig 10: Measuring The Voltage Of The Fused B(+) Circuit In The Ignition Switch Harness Connector
    GC0048772Courtesy of CHRYSLER LLC

    Turn the ignition off.

    While back probing, measure the voltage of the Fused B(+) circuit in the Ignition Switch harness connector.

    Does the test light illuminate brightly? 

    Yes 

    1. Go To step  11).

    No 

    1. Go To step  14).
  11. 11) CHECK IGNITION SWITCH FOR OPEN 
    Fig 11: Measuring The Voltage At The Ignition Switch Harness Connector Terminal 3
    GC0048773Courtesy of CHRYSLER LLC

    Turn the ignition off.

    Remove IPM Fuel Pump Relay.

    Remove IPM Starter Relay.

    Reconnect the Ignition Switch harness connector.

    Turn the ignition to the Run-Start position and hold while back probing.

    While back probing, measure the voltage at the Ignition Switch harness connector terminal 3.

    Does the test light illuminate brightly? 

    Yes 

    1. Replace the Ignition Switch in accordance with the Service Information.
    2. Perform BODY VERIFICATION TEST - VER 1 .

    No 

    1. Go To step  12).
  12. 12) IGNITION SWITCH OUTPUT (RUN-START) CIRCUIT OPEN 
    Fig 12: Measuring The Resistance Of The Ignition Switch Output Circuit Between The IPM C9 Connector And The Ignition Switch Connector
    GC0048774Courtesy of CHRYSLER LLC

    Turn the ignition off.

    Disconnect the IPM C9 harness connector.

    Disconnect the Ignition Switch harness connector.

    Measure the resistance of the Ignition Switch Output (Run-Start) circuit between the IPM C9 connector and the Ignition Switch connector.

    Is the resistance above 5.0 ohms? 

    Yes 

    1. Repair the Ignition Switch Output (Run-Start) circuit for an open.
    2. Perform BODY VERIFICATION TEST - VER 1 .

    No 

    1. Go To step  13).
  13. 13) IPM - INTERNAL OPEN TO RUN-START SENSE 
    Fig 13: Measuring The IPM Internal Resistance Between The C9 Terminal Pin 13 To The Fuel Pump Relay
    GC0048775Courtesy of CHRYSLER LLC

    Turn the ignition off.

    Disconnect the IPM C9 harness connector.

    Remove the IPM Fuel Pump Relay.

    Using the wiring diagram/schematic as a guide, measure the IPM internal resistance between the C9 terminal pin 13 to the Fuel Pump Relay.

    Is the resistance above 5.0 ohms? 

    Yes 

    1. Replace the IPM in accordance with the Service Information.
    2. Perform BODY VERIFICATION TEST - VER 1 .

    No 

    1. The condition is not present at this time. Monitor scan tool parameters while wiggling the related wire harness. Refer to any Technical Service Bulletins (TSB) that may apply. Visually inspect the related wiring harness connectors and terminals.
    2. Perform BODY VERIFICATION TEST - VER 1 .
  14. 14) FUSED B(+) CIRCUIT OPEN 
    Fig 14: Measuring The Resistance Of The Fused B(+) Circuit Between The IPM C9 Connector And The Ignition Switch Connector
    GC0048776Courtesy of CHRYSLER LLC

    Turn the ignition off.

    Disconnect the IPM C9 harness connector.

    Disconnect the Ignition Switch harness connector.

    Measure the resistance of the Fused B(+) circuit between the IPM C9 connector and the Ignition Switch connector.

    Is the resistance above 5.0 ohms? 

    Yes 

    1. Repair the Fused B(+) circuit for an open.
    2. Perform BODY VERIFICATION TEST - VER 1 .

    No 

    1. Replace the IPM in accordance with the Service Information.
    2. Perform BODY VERIFICATION TEST - VER 1 .