LEMON Manuals: Even more car manuals for everyone: 1960-2025
Home >> Chrysler >> 2007 >> Pacifica V6-3.8L VIN L >> Repair and Diagnosis >> Diagrams >> Connector Views >> Power Distribution Module
April 5, 2026: LEMON Manuals is launched! Read the announcement.

Power Distribution Module




Component ID: 187
Component : MODULE-INTEGRATED POWER

Connector:
Name : MODULE-INTEGRATED POWER C1
Color : BLACK
# of pins : 15




Pin Description Circuit
1 FUSED B(+) (VALVE) A111 12DG/RD
2 - -
3 FUSED B(+) A109 18OR/RD
4 FUSED RUN RELAY OUTPUT F500 18DG/PK
5 STARTER MOTOR RELAY OUTPUT T750 12YL/GY
6 GROUND Z127 12BK/DG
7 - -
8 - -
9 - -
10 FUSED B(+) (PUMP) A107 12TN/RD
11 - -
12 ASD RELAY OUTPUT F343 16PK/BR
13 - -
14 A/C COMPRESSOR CLUTCH RELAY OUTPUT C3 18DB/YL
15 - -

Component Location - 1




Component Location - 2




Component Location - 5






Connector:
Name : MODULE-INTEGRATED POWER C2
Color : DK. GRAY
# of pins : 4




Pin Description Circuit
1 - -
2 - -
3 FUSED B(+) A101 12VT/RD
4 - -

Component Location - 1




Component Location - 2




Component Location - 5






Connector:
Name : MODULE-INTEGRATED POWER C3
Color : GRAY
# of pins : 2




Pin Description Circuit
1 - -
2 FUSED B(+) A112 12OR/RD

Component Location - 1




Component Location - 2




Component Location - 5






Connector:
Name : MODULE-INTEGRATED POWER C4
Color : GREEN
# of pins : 16




Pin Description Circuit
1 ORC RUN DRIVER F100 20PK/VT
2 HORN SWITCH SENSE X3 20DG/VT
3 FRONT WIPER PARK SWITCH SENSE W7 20BR/GY
4 IGNITION SWITCH OUTPUT (START) T751 20YL
5 FUSED ACCESSORY RELAY OUTPUT F306 16DB/PK
6 - -
7 FUSED ACCESSORY RELAY OUTPUT F307 16LB/PK
8 FUSED B(+) A214 18RD/LB
9 - -
10 - -
11 PCI BUS D25 20WT/VT
12 GROUND Z710 18GY/BK
13 FUSED B(+) A118 20RD/OR
14 FUSED B(+) A114 20GY/RD
15 RIGHT TAIL LAMP DRIVER L72 20WT/OR
16 FUSED B(+) A215 18RD/LG

Component Location - 1




Component Location - 2




Component Location - 5






Connector:
Name : MODULE-INTEGRATED POWER C5
Color : GRAY
# of pins : 26




Pin Description Circuit
1 FUSED B(+) A104 14YL/RD
2 LEFT FRONT FOG LAMP DRIVER L89 18WT/YL
3 WASHER FLUID LEVEL SWITCH SENSE W1 18BR/TN
4 - -
5 FRONT WASHER PUMP MOTOR CONTROL W10 18BR
6 RIGHT FRONT PARK LAMP DRIVER L778 20WT/LB
7 LEFT FRONT PARK LAMP DRIVER L777 20WT/VT
8 - -
9 - -
10 - -
11 - -
12 - -
13 REAR WASHER PUMP MOTOR CONTROL W20 18BR/YL
14 GROUND Z118 18BK/YL
15 - -
16 RIGHT LOW BEAM LAMP DRIVER L44 16TN/WT
17 RIGHT FRONT FOG LAMP DRIVER L90 18WT/OR
18 LEFT HIGH BEAM LAMP DRIVER L33 18WT/DG
19 - -
20 - -
21 - -
22 RIGHT HIGH BEAM LAMP DRIVER L34 16WT/GY
23 HORN RELAY OUTPUT X2 16DG/OR
24 LEFT FRONT SIDE MARKER LAMP DRIVER L77 20WT/BR
25 LEFT LOW BEAM LAMP DRIVER L43 18WT/DB
26 RIGHT FRONT SIDE MARKER LAMP DRIVER L78 20OR/WT

Component Location - 1




Component Location - 2




Component Location - 5






Connector:
Name : MODULE-INTEGRATED POWER C6
Color : GRAY
# of pins : 12




Pin Description Circuit
1 - -
2 FUSED IGNITION SWITCH OUTPUT (RUN-START) F202 20PK/GY
3 - -
4 A/C CLUTCH RELAY CONTROL C13 20LB/OR
5 - -
6 ASD RELAY CONTROL K51 18BR/GY
7 - -
8 - -
9 IGNITION UNLOCK-RUN-START F1 20PK/WT
10 - -
11 - -
12 - -

Component Location - 1




Component Location - 2




Component Location - 5






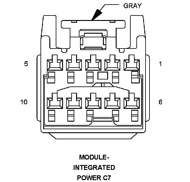
Connector:
Name : MODULE-INTEGRATED POWER C7
Color : GRAY
# of pins : 10




Pin Description Circuit
1 IGNITION SWITCH OUTPUT (START) T751 20YL
2 - -
3 STARTER RELAY CONTROL T752 20DG/OR
4 TRANSMISSION CONTROL T15 20YL/BR
5 - -
6 FUSED B(+) A923 18RD/LG
7 - -
8 GROUND Z115 18BK/OR
9 TRANSMISSION CONTROL OUTPUT T16 16YL/OR
10 FUEL PUMP RELAY CONTROL K31 20BR

Component Location - 1




Component Location - 2




Component Location - 5






Connector:
Name : MODULE-INTEGRATED POWER C8
Color : WHITE
# of pins : 15




Pin Description Circuit
1 FUSED DOOR NODE RELAY OUTPUT F516 12PK
2 FUSED REAR BOOSTER FAN RELAY OUTPUT C51 18LB/BR
3 FRONT WIPER HIGH/LOW RELAY HIGH SPEED OUTPUT W4 12BR/OR
4 FUSED ACCESSORY RELAY OUTPUT F316 20PK/OR
5 FUSED B(+) A916 12RD/VT
6 - -
7 FUSED RUN RELAY OUTPUT F504 20GY/PK
8 BRAKE FLUID LEVEL SWITCH SENSE B20 20DG/OR
9 FRONT WIPER HIGH/LOW RELAY LOW SPEED OUTPUT W3 12BR/WT
10 FUSED B(+) A130 12VT/RD
11 REAR WINDOW DEFOGGER RELAY OUTPUT C15 12DB/WT
12 - -
13 FUSED B(+) A116 16YL/RD
14 - -
15 FUSED B(+) A110 12DG/RD

Component Location - 1




Component Location - 2




Component Location - 5






Connector:
Name : MODULE-INTEGRATED POWER C9
Color : BLUE
# of pins : 26




Pin Description Circuit
1 FUSED B(+) A115 12YL/RD
2 FUSED B(+) A106 20LB/RD
3 FUSED B(+) A108 18LG/RD
4 - -
5 FLASH PROGRAM ENABLE D123 20WT/BR
6 - -
7 LEFT TAIL LAMP DRIVER L71 20WT/GY
8 FUSED FRONT BLOWER MOTOR RELAY OUTPUT C7 12DB
9 - -
10 FUSED B(+) A701 18BR/RD
11 - -
12 - -
13 FUSED IGNITION SWITCH OUTPUT (RUN-START) F20 20PK/GY
14 - -
15 - -
16 ORC RUN-START DRIVER F201 20PK/LB
17 - -
18 - -
19 IGNITION SWITCH OUTPUT (RUN-START) F2 18PK/YL
20 BRAKE LAMP SWITCH OUTPUT L51 18WT/DG
21 - -
22 - -
23 LICENSE LAMP DRIVER L3 18WT/VT
24 FUEL PUMP RELAY OUTPUT N1 16DB/OR
25 FUSED B(+) A105 18DB/RD
26 FUSED RUN RELAY OUTPUT F525 16TN/PK

Component Location - 1




Component Location - 2




Component Location - 5






Connector:
Name : MODULE-INTEGRATED POWER-EYELET
Color :
# of pins : 1




Pin Description Circuit
1 FUSED B(+) A1 4RD

Component Location - 1




Component Location - 2




Component Location - 5