LEMON Manuals: Even more car manuals for everyone: 1960-2025
Home >> Chrysler >> 2007 >> Sebring Base, 2.7 R, Gas >> Repair and Diagnosis >> Engine Performance >> Ignition System >> Ignition Control - Electrical Diagnostics >> DTC Troubleshooting >> B2184-Ignition Unlock Run/Start Control Circuit Low >> Circuit Schematic
April 5, 2026: LEMON Manuals is launched! Read the announcement.

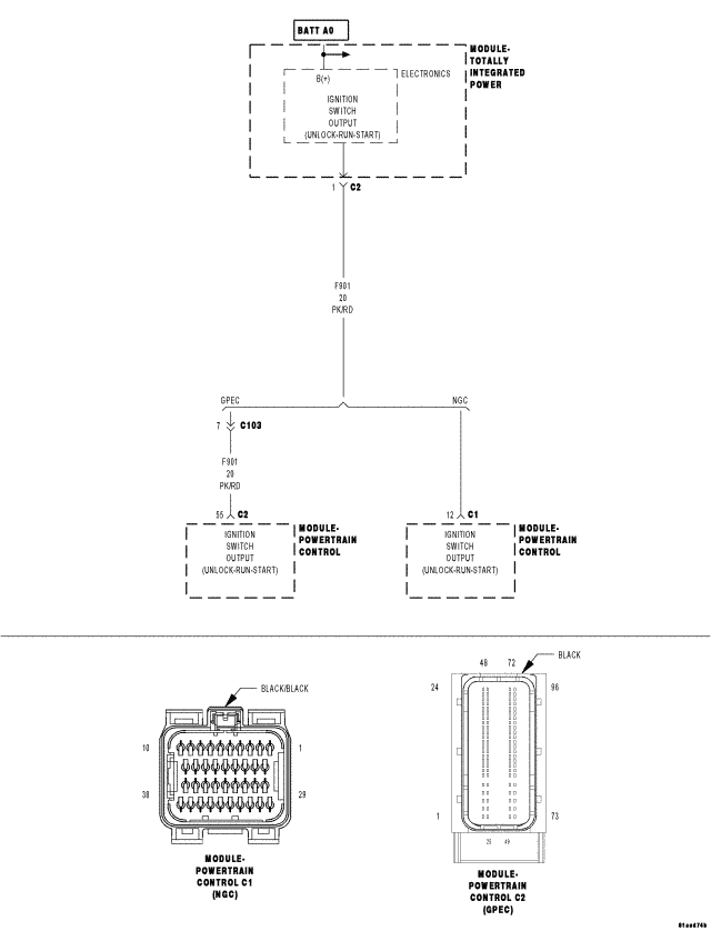
Circuit Schematic

Fig 1: Ignition Unlock Run/Start Control Circuit Schematic
GC0058975Courtesy of CHRYSLER LLC