LEMON Manuals: Even more car manuals for everyone: 1960-2025
Home >> Chrysler >> 2009 >> Sebring Convertible L4-2.4L >> Repair and Diagnosis >> Diagrams >> Connector Views >> Relay Box
April 5, 2026: LEMON Manuals is launched! Read the announcement.

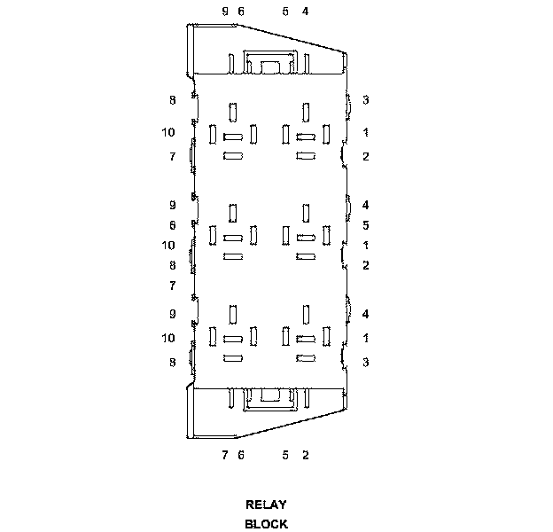
Relay Box






Connector - (HDLP_DASH) 20 WAY




RELAY BLOCK - (HDLP_DASH) 20 WAY