LEMON Manuals: Even more car manuals for everyone: 1960-2025
Home >> Dodge and Ram >> 1998 >> Viper GTS-R >> Repair and Diagnosis >> External Pages >> Different car >> Section 2 (Engine Control Self-Diagnostics) >> Trouble Code Tests >> TC-122A: O2 Sensor 2/1 Slow Response
April 5, 2026: LEMON Manuals is launched! Read the announcement.

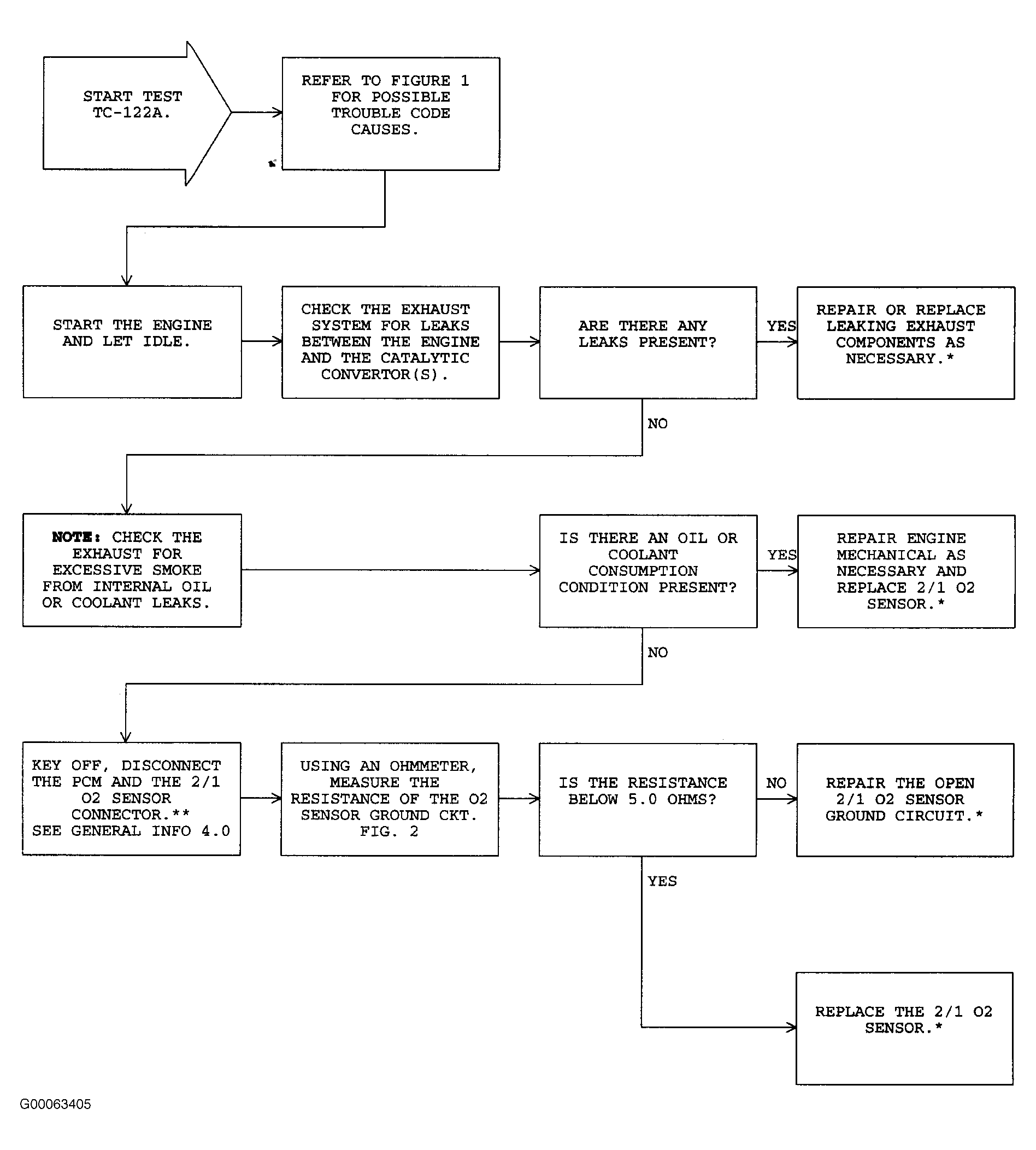
TC-122A: O2 Sensor 2/1 Slow Response

WARNING: This page is about a different car, the 1997 Dodge Viper and 1996 Dodge Viper. However, it is still accessible from the selected car via links, so may be relevant.
Fig 1: TC-122A: O2 Sensor 2/1 Slow Response (1 Of 2)
G00063404Courtesy of DAIMLERCHRYSLER CORPORATION
Fig 2: TC-122A: O2 Sensor 2/1 Slow Response (2 Of 2)
G00063405Courtesy of DAIMLERCHRYSLER CORPORATION