LEMON Manuals: Even more car manuals for everyone: 1960-2025
Home >> Eagle >> 1990 >> Premier ES Limited >> Repair and Diagnosis >> Engine Performance >> System >> Engine Controls - System/Component Tests >> Coolant Temperature Sensor Test
April 5, 2026: LEMON Manuals is launched! Read the announcement.

Coolant Temperature Sensor Test

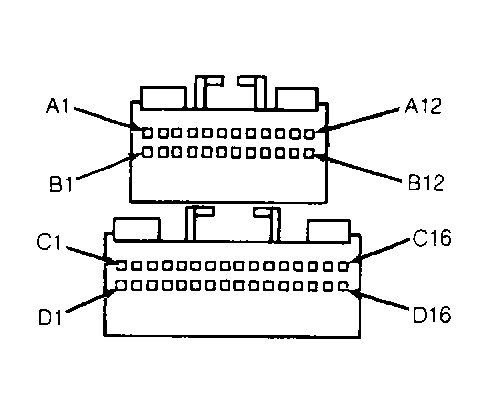
  1. Disconnect electrical connector from coolant temperaute sensor. Coolant temperature sensor is installed in thermostat housing. Using a DVOM, check resistance between ECU connector terminal "C10" to sensor connector and ECU connector terminal "D3" to sensor connector. See Fig 1 .
  2. If resistance is greater than one ohm, repair wiring harness. Measure resistance of sensor between sensor terminals. Refer to COOLANT TEMPERATURE SENSOR RESISTANCE  table. Replace coolant temperature sensor if not within specification.
    COOLANT TEMPERATURE SENSOR RESISTANCE (1)

    °F (°C) Ohms
    212 (100) 185
    160 (70) 450
    100 (38) 1600
    70 (20) 3400
    40 (4) 7500
    20 (-7) 13,500
    0 (-18) 25,500
    -40 (-40) 100,700
    (1) Values given are approximate.
    Fig 1: ECU Electrical Connector Terminal Identification
    G90D03222Courtesy of CHRYSLER MOTORS.