LEMON Manuals: Even more car manuals for everyone: 1960-2025
Home >> Eagle >> 1994 >> Summit L4-1795cc 1.8L SOHC >> Repair and Diagnosis >> Powertrain Management >> Computers and Control Systems >> Coolant Temperature Sensor/Switch (For Computer) >> Diagrams >> Connector Views
April 5, 2026: LEMON Manuals is launched! Read the announcement.

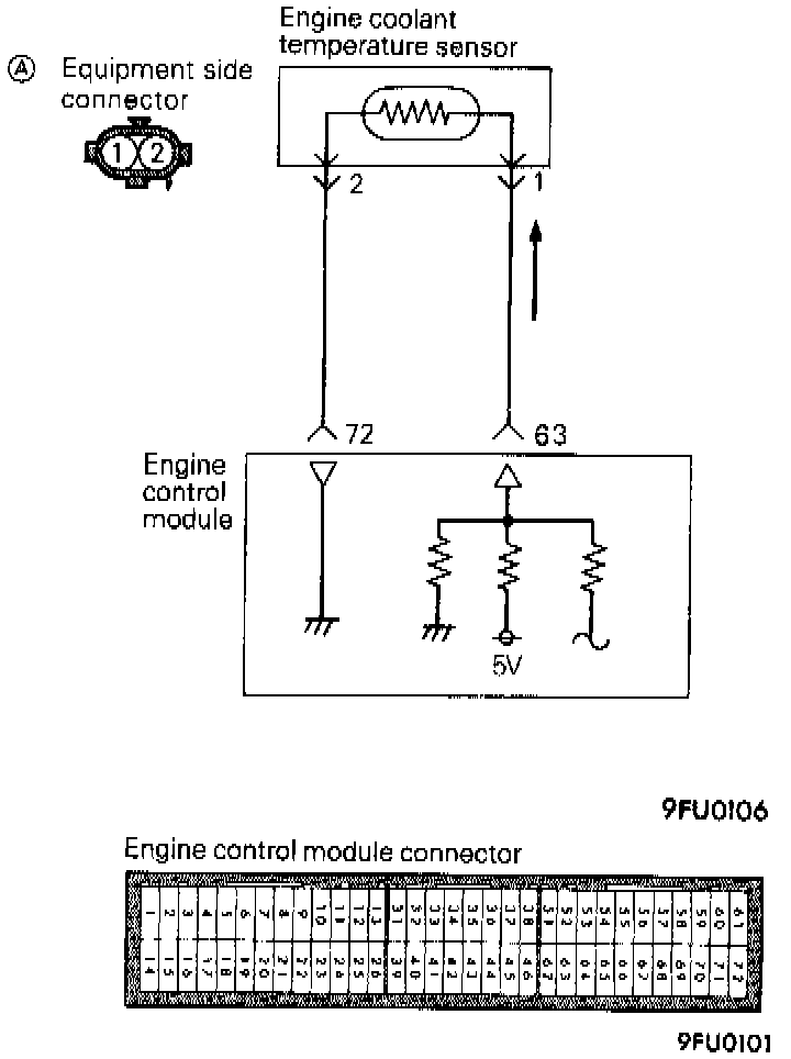
Connector Views