LEMON Manuals: Even more car manuals for everyone: 1960-2025
Home >> Ford >> 1988 >> Bronco II 4WD, Standard, M5OD-R1 >> Repair and Diagnosis >> Body & Frame >> Power Windows >> Testing >> Multiple Switch
April 5, 2026: LEMON Manuals is launched! Read the announcement.

Multiple Switch

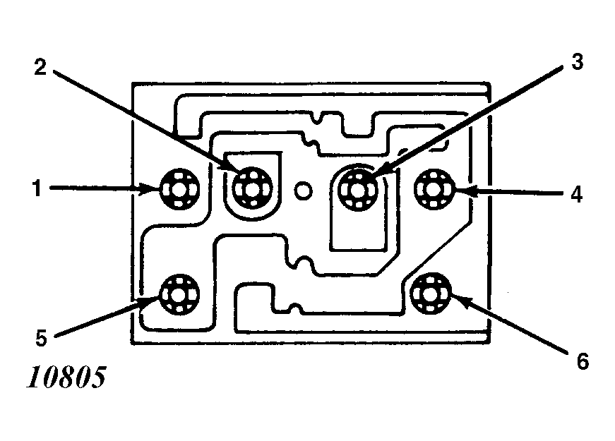
  1. Remove switch from vehicle. Using an DVOM or self-powered test light, clip a test probe to pin No. 6, which is grounded. See 1. Place both switches in the released (neutral) position. Pin Nos. 1 through 4 should indicate continuity to pin No. 6.
  2. Push both switches upward. Pins No. 1 and No. 3 should lose continuity to pin No. 6. Push switches downward. Pins No. 2 and No. 4 should lose continuity to pin No. 6.
  3. Remove test probe from pin No. 6, and connect it to pin No. 5 (battery feed). With both switches in the released (neutral) position, pin No. 5 should have continuity only with itself.
  4. Push both switches upward. Pins No. 1 and 3 should have continuity to pin No. 5.
  5. Push both switches downward. Pins No. 2 and No. 4 should show continuity to pin No. 5. If any switch does not test as indicated, replace complete switch assembly.
Fig 1: Multiple Switch Pin Locations
G10805Courtesy of FORD MOTOR CO.