LEMON Manuals: Even more car manuals for everyone: 1960-2025
Home >> Ford >> 1990 >> Probe V6-182 3.0L >> Repair and Diagnosis >> Diagrams >> Connector Views >> Radiator Cooling Fan Control Module
April 5, 2026: LEMON Manuals is launched! Read the announcement.

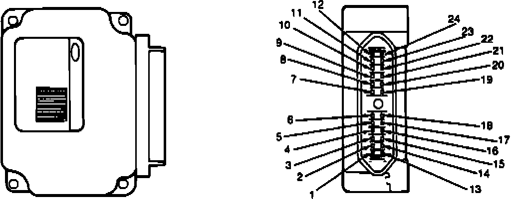
Radiator Cooling Fan Control Module

Fig. 6 Integral Relay Control Module Terminal Identification:





The integral relay control module interfaces with the EEC-IV to provide control of the cooling fan. Refer to Fig. 6 for terminal identification.