LEMON Manuals: Even more car manuals for everyone: 1960-2025
Home >> Ford >> 1990 >> Probe V6-182 3.0L >> Repair and Diagnosis >> Powertrain Management >> Computers and Control Systems >> Relays and Modules - Computers and Control Systems >> Integrated Control Relay Module >> Description and Operation
April 5, 2026: LEMON Manuals is launched! Read the announcement.

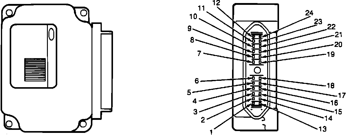
Integrated Control Relay Module: Description and Operation

Integrated Relay Control Module (IRCM):






The Integrated Relay Control Module (IRCM) interfaces with the Electronic Engine Control (EEC-IV) system to provide control of the cooling fan, A/C clutch and fuel pump. The module also contains the EEC power relay to provide power to the EEC-IV system.
The module is designed for underhood application. The operating limits are as follows:
Operating Temperature -30°C to 100°C
Storage Temperature -40°C to 125°C
Operating Voltage 7 to 17 volts