LEMON Manuals: Even more car manuals for everyone: 1960-2025
Home >> Ford >> 1992 >> Taurus V6-182 3.0L >> Repair and Diagnosis >> Diagrams >> Exploded Views >> Wheel Bearing >> Front
April 5, 2026: LEMON Manuals is launched! Read the announcement.

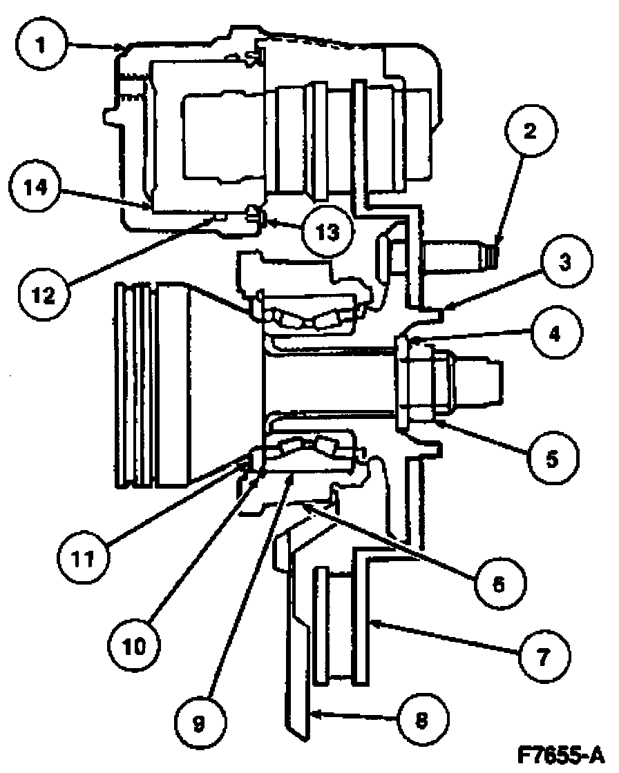
Front

Wheel Assembly:





Index: