LEMON Manuals: Even more car manuals for everyone: 1960-2025
Home >> Ford >> 1997 >> Escort Base, Automatic >> Repair and Diagnosis >> Body & Frame >> Windows >> Power Window System >> Component Testing >> Master Switch
April 5, 2026: LEMON Manuals is launched! Read the announcement.

Master Switch

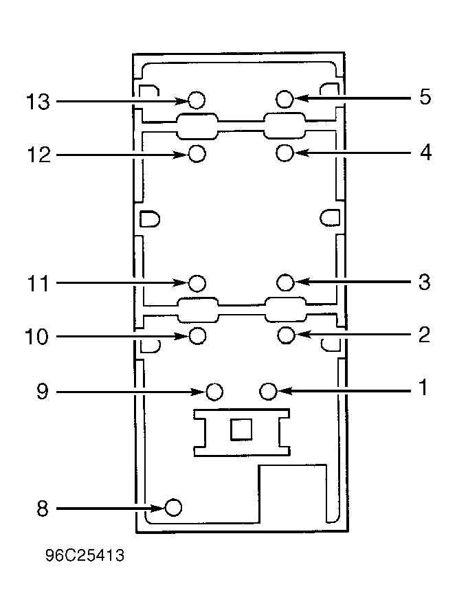
Remove master switch from vehicle. Measure resistance between specified terminals while operating switch. See MASTER SWITCH TESTING TABLE. See Fig 1. Replace switch if resistance between specified terminals is greater than 5 ohms. DO NOT check resistance between terminals not specified.

MASTER SWITCH TESTING

Switch Position Continuity Between Terminals No.
Lock-Out 8 & 9
Left Front
Up 5 & 9
Down 4 & 9
Right Front
Up 9 & 13
Down 9 & 12
Left Rear
Up 3 & 9
Down 2 & 9
Right Rear
Up 9 & 11
Down 9 & 10
Fig 1: Identifying Master Switch Terminals
G96C25413Courtesy of FORD MOTOR CO.