Section 1639 (Engine): Assembly: Engine
WARNING: This page is about a different car, the 2006 Mercury Montego, 2006 Ford Freestyle, and 2006 Ford Five Hundred. However, it is still accessible from the selected car via links, so may be relevant.
SPECIAL TOOL TABLE
| Installer, Crankshaft Vibration Damper 303-102 (T74P-6316-B) | |
| Installer, Front Cover Oil Seal 303-335 (T88T-6701-A) | |
| Strap Wrench 303-D055 (D85L-6000-A) | |
| Installer, Power Steering Pump Pulley 211-185 (T91P-3A733-A) | |
| Protector, Camshaft Oil Seal 303-463 (T94P-6256-AH) | |
| Installer, Camshaft Pulley 303-458 (T94P-6312-AH3) | |
| Installer, Camshaft Oil Seal 303-1139 | |
| Installer, Crankshaft Rear Main Oil Seal 303-178 (T82L-6701-A) | |
| Installer Bolts, Crankshaft Rear Main Oil Seal 303-384 (T91P-6701-A) | |
| Lifting Brackets, Engine 134-00243 or equivalent | |
| Spreader Bar 303-D089 (D93P-6001-A3) or equivalent |
MATERIAL TABLE
| Item | Specification |
|---|---|
| Silicone Gasket and Sealant TA-30 | WSE-M4G323-A4 |
| Motorcraft SAE 5W-20 Premium Synthetic Blend Motor Oil XO-5W20-QSP (in Canada Motorcraft SAE 5W-20 Super Premium Motor Oil CXO-5W20-LSP12) or equivalent | WSS-M2C930-A |
| Silicone Brake Caliper Grease and Dielectric Compound XG-3-A | ESE-M1C171-A |
| Silicone Gasket Remover ZC-30 | - |
| Motorcraft Metal Surface Prep ZC-31 | - |
| Item | Part Number | Description |
|---|---|---|
| 1 | 6150 | Piston compression upper ring (6 required) |
| 2 | 6152 | Piston compression lower ring (6 required) |
| 3 | 6159 | Piston oil control upper segment ring (6 required) |
| 4 | 6161 | Piston oil control spacer (6 required) |
| 5 | 6159 | Piston oil control lower segment ring (6 required) |
| 6 | 6140 | Piston pin retainer (12 required) |
| 7 | 6135 | Piston pin (6 required) |
| 8 | 6110 | Piston (6 required) |
| 9 | 6200 | Connecting rod (6 required) |
| 10 | 6211 | Connecting rod upper bearing (6 required) |
| 11 | 6211 | Connecting rod lower bearing (6 required) |
| 12 | 6210 | Connecting rod cap (6 required) |
| 13 | 6010 | Cylinder block |
| 14 | 6333 | Cylinder block crankshaft main bearing (4 required) |
| 15 | 6A341 | Crankshaft upper thrust bearing |
| 16 | 6303 | Crankshaft |
| 17 | 6333 | Lower cylinder block crankshaft main bearings (3 required) |
| 18 | 6337 | Lower cylinder block crankshaft main thrust bearing |
| 19 | 6F095 | Lower cylinder block |
All vehicles
CAUTION:
During engine repair procedures, cleanliness is extremely important. All parts must be thoroughly cleaned and any foreign material, including any material created while cleaning gasket surfaces, that enters the oil passages, coolant passages or the oil pan, can cause engine failure.
NOTE:
Assembly of the engine requires various inspections/measurements of the engine components (engine block, crankshaft, connecting rods, pistons and piston rings). These inspections/measurements will aid in determining if the engine components will require replacement. For additional information, refer to ENGINE SYSTEM - GENERAL INFORMATION
.
- Select the crankshaft main bearings for each crankshaft journal.
- Read the code on the crankshaft flange.
- Read the code on the cylinder block rear face.
- The first two numbers after the asterisk make up the code for main No. 1 and the next two numbers for main No. 2.
- The first two numbers after the second asterisk make up the code for main No. 3 and the last two numbers for main No. 4.
- Using the chart shown in Fig 5, choose a bearing for each main. Match the block and crankshaft code with its corresponding column or row, by reading across the "crankshaft" row and down the "block" column.
- For example: If the block code is * 0609* 0711* and the crankshaft code is * 8580* 8082* , main No. 1 should use grade 1 bearings, as determined by the intersection of the 06 block column and the 85 crankshaft row. Mains 2, 3 and 4 should all be grade 2.
- Lubricate the upper crankshaft main bearings with clean engine oil and install the 4 crankshaft main bearings in the cylinder block.
- Lubricate the lower crankshaft main bearings with clean engine oil and install the 4 crankshaft main bearings in the lower cylinder block.
- Lubricate the crankshaft thrust bearing with clean engine oil and install in the cylinder block.
- If removed, install the crankshaft key into the keyway on the crankshaft.
- Apply clean engine oil to the crankshaft main and rod bearing journals.
- Position the crankshaft in the cylinder block.
- Apply gasket and sealant to the cylinder block as shown.
- Position the lower cylinder block and install the bolts and studs.
- Tighten the bolts and studs in the sequence shown in four stages.
- Stage 1: Tighten fasteners 1--8 to 25 Nm (18 lb-ft).
- Stage 2: Tighten fasteners 9--16 to 40 Nm (30 lb-ft).
- Stage 3: Tighten fasteners 1--16 90 degrees.
- Stage 4: Tighten fasteners 17-22 to 25 Nm (18 lb-ft).
- Using the Dial Indicator Gauge with Holding Fixture, measure crankshaft end play.
- Position the crankshaft to the rear of the cylinder block.
- Zero the Dial Indicator Gauge with Holding Fixture.
- Move the crankshaft to the front of the cylinder block. Note and record the crankshaft end play.
- Acceptable crankshaft end play is 0.100-0.255 mm (0.003-0.010 in). If the crankshaft end play exceeds the specified range, install new parts as necessary.
- Using the Crankshaft Rear Main Oil Seal Installer and the Crankshaft Rear Main Oil Seal Installer Bolts, install the crankshaft rear oil seal.
- Install the engine-to-transaxle separator plate.
- Position the flexplate and install the bolts. Tighten to 80 N.m (59 lb-ft).
- Mount the engine on an engine stand.
- Using the chart (Fig 17), select the correct piston grade size for the cylinder bores.
- Measure the cylinder block bore diameter.
- Mark the outside of the block with the appropriate number(s) to identify bore grade size.
- Choose the correct piston grade size for the cylinder bore.
- Using the special tools, install the piston and connecting rod assemblies.
- Install the connecting rod caps and the new bolts.
- Tighten the bolts in two stages.
- Stage 1: Tighten to 23 Nm (17 lb-ft).
- Stage 2: Tighten to 43 Nm (32 lb-ft).
- Install the oil separator cover, a new gasket and the 2 bolts.
- Tighten to 10 N.m (89 lb-in).
- Install the power steering pump bracket and the 3 bolts.
- Tighten to 25 N.m (18 lb-ft).
- NOTE:
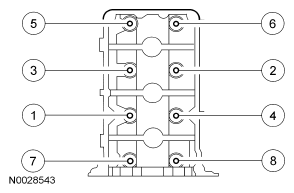
RH shown, LH similar.NOTE: Position the new gaskets and the LH and RH cylinder heads. Install new bolts and tighten in the sequence shown in 6 stages:
- Stage 1: Tighten to 40 N.m (30 lb-ft).
- Stage 2: Tighten to 90 N.m (66 lb-ft).
- Stage 3: Loosen 1 full turn.
- Stage 4: Tighten to 40 N.m (30 lb-ft).
- Stage 5: Tighten 90 degrees.
- Stage 6: Tighten 90 degrees.
- Install the crankshaft damper bolt and rotate the crankshaft key way to the 11 o'clock position to locate top dead center (TDC).
- Apply clean engine oil to the LH and RH camshaft roller followers.
- Install the LH and RH camshaft roller followers.
- Apply clean engine oil to the LH and RH camshafts.
- Install the LH and RH camshafts.
- Locate the camshafts as shown in illustration.
- The camshaft caps must be installed in their original positions or damage to the engine may occur.
- Do not install the camshaft journal thrust caps until all of the camshaft bearing caps have been installed, or damage to the thrust caps can occur.
- Lubricate the camshaft journal caps with clean engine oil. Position the LH camshaft caps and install the bolts.
- Tighten in the sequence shown to 10 N.m (89 lb-in).
- The camshaft caps must be installed in their original positions or damage to the engine may occur.
- Do not install the camshaft journal thrust caps until all of the camshaft bearing caps have been installed, or damage to the thrust caps can occur.
- Position the RH camshaft caps and install the bolts.
- Tighten in the sequence shown to 10 N.m (89 lb-in).
- Install the camshaft oil seal retainer and the 3 bolts.
- Tighten to 10 N.m (89 lb-in).
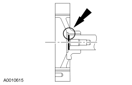
- Position the new camshaft oil seal on the special tool.
- Position the special tool and the camshaft oil seal on the camshaft.
- Using the special tools, install the camshaft oil seal.
- Remove the crankshaft damper bolt.
- Install the crankshaft sprocket with the timing mark facing out. The timing mark on the LH and RH timing chains will be aligned to this mark during assembly.
- Position the chain tensioner in a soft-jawed vise.
- Hold the chain tensioner ratchet lock mechanism away from the ratchet stem with a small pick.
- Slowly compress the timing chain tensioner.
- Retain the tensioner piston with a 1.5 mm (0.06 in) wire or paper clip.
- If timing marks in the timing chains are not evident, use a permanent-type marker to mark the crankshaft and camshaft timing marks on the LH and RH timing chains.
- Mark any link to use as the crankshaft timing mark.
- Starting with the crankshaft timing mark, count 29 links and mark the link.
- Continue counting to link 42 and mark the link.
- Verify that the LH camshafts are correctly positioned.
- Position the LH timing chain and guide and install the 2 bolts.
- Tighten to 25 N.m (18 lb-ft).
- Align the marks on the timing chain with the marks on the camshaft and crankshaft sprockets.
- Install the LH timing chain tensioner arm and the LH timing chain tensioner.
- Install the tensioner arm.
- Position the tensioner.
- Install the 2 bolts.
- Tighten to 25 N.m (18 lb-ft).
- Install the crankshaft damper bolt and rotate the crankshaft clockwise 120 degrees until the crankshaft keyway is in the 3 o'clock position.
- Verify that the RH camshafts are correctly positioned.
- Install the RH timing chain and chain guide and install the 2 bolts.
- Tighten to 25 N.m (18 lb-ft).
- Align the marks on the timing chain with the marks on the camshaft and crankshaft sprockets.
- Install the RH timing chain tensioner and tensioner arm.
- Install the tensioner arm.
- Position the tensioner.
- Install the 2 bolts.
- Tighten to 25 N.m (18 lb-ft).
- Remove the LH and RH timing chain tensioner piston retaining wires.
- Rotate the crankshaft counterclockwise 120 degrees to top dead center (TDC).
- Verify the timing with the following steps.
- There should be 12 chain links between the camshaft timing marks.
- There should be 27 chain links between the camshaft and the crankshaft timing marks.
- There should be 30 chain links between the camshaft and the crankshaft timing marks.
- Remove the crankshaft damper bolt.
- Install the ignition pulse wheel.
- Install the LH and RH spark plugs.
- Tighten to 15 N.m (11 lb-ft).
- Install 3 new gaskets in the engine front cover.
- Clean the sealing surfaces with silicone gasket remover and metal surface prep before applying gasket and sealant.
- The front cover must be installed and the bolts tightened within 4 minutes of sealant application.
- Apply a 6 mm (0.24 in) dot of silicone gasket and sealant to the cylinder block-to-lower cylinder block and cylinder head mating surfaces.
- Position the engine front cover. Install the 14 bolts and the stud bolt.
- Tighten in the sequence shown to 25 N.m (18 lb-ft).
- Install the belt tensioner and the bolt.
- Tighten to 45 N.m (33 lb-ft).
- Using the special tool, install a new crankshaft front seal.
- Clean the keyway and slot using metal surface cleaner before applying silicone gasket and sealant.
- The crankshaft damper must be installed and the bolt tightened within 4 minutes of sealant application.
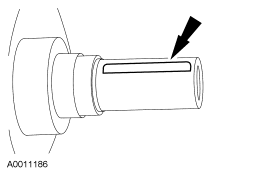
- Apply silicone gasket and sealant to the end of the crankshaft damper keyway slot.
- Using the special tools, install the crankshaft pulley.
- Using the special tool to hold the crankshaft pulley, install the bolt and washer and tighten in 4 stages.
- Stage 1: Tighten to 120 N.m (89 lb-ft).
- Stage 2: Loosen 1 full turn (360 degrees).
- Stage 3: Tighten to 50 N.m (37 lb-ft).
- Stage 4: Tighten to 90 N.m (66 lb-ft).
- If equipped, install the block heater.
- Tighten to 14 N.m (10 lb-ft).
- Install the oil pressure sender.
- Tighten to 14 N.m (10 lb-ft).
- Install the oil pan baffle and the 8 nuts.
- Tighten the M8 nuts to 15 N.m (11 lb-ft) and then rotate 45 degrees.
- Tighten the M6 nuts to 5 N.m (44 lb-in) and then rotate 45 degrees.
- Position the oil pump screen and pickup tube and install the 2 bolts.
- Tighten to 10 N.m (89 lb-in).
- Install the radio interference capacitor and the bolt.
- Tighten to 8 N.m (71 lb-in).
- Install the coolant bypass tube and the 2 bolts.
- Tighten to 10 N.m (89 lb-in).
- Remove the center coolant pump bolt from the coolant pump and discard the sealing washer.
- Install a new sealing washer on the center coolant pump bolt, then install the center coolant pump bolt in the coolant pump.
- Install the coolant pump and the 4 bolts. Tighten in 4 stages:
- Stage 1: Tighten the coolant pump center bolt to 4 N.m (35 lb-in).
- Stage 2: Loosely install the 3 coolant pump outer bolts.
- Stage 3: Tighten the coolant pump center bolt to 25 N.m (18 lb-ft).
- Stage 4: Tighten the 3 coolant pump outer bolts to 10 N.m (89 lb-in).
- Install the thermostat housing and the 2 bolts.
- Tighten to 10 N.m (89 lb-in).
- Clean the LH and RH valve cover sealing surfaces.
- Apply a 5 mm (0.19 in) dot of silicone gasket sealant to the front cover-to-RH cylinder head joints.
- Position the RH valve cover. Install the 9 bolts and 5 stud bolts.
- Tighten in the sequence shown to 10 N.m (89 lb-in).
- Apply a 5 mm (0.19 in) dot of silicone gasket sealant to the front cover-to-LH cylinder head joints.
- Position the LH valve cover. Install the 6 bolts and 8 stud bolts.
- Tighten in the sequence shown to 10 N.m (89 lb-in).
- Install the RH and LH ignition coils and the 6 bolts.
- Tighten to 6 N.m (53 lb-in).
- Install 6 new LH exhaust manifold studs.
- Tighten to 12 N.m (9 lb-ft).
- Position a new gasket and the LH exhaust manifold and converter. Install the 6 new nuts.
- Tighten to 20 N.m (15 lb-ft).
- Install 6 new RH exhaust manifold studs.
- Tighten to 12 N.m (9 lb-ft).
- Position a new gasket and the RH exhaust manifold and converter. Install the 6 new nuts.
- Tighten to 20 N.m (15 lb-ft).
- Install the RH engine insulator bracket and the 4 bolts.
- Tighten to 55 N.m (41 lb-ft).
- Install the generator, nuts and the bolt.
- Tighten to 48 N.m (35 lb-ft).
- Position the oil filter adapter and loosely install the bolts. Tighten in 3 stages:
- Stage 1: Tighten the M22 bolt to 25 N.m (18 lb-ft).
- Stage 2: Tighten the M8 bolt to 25 N.m (18 lb-ft).
- Stage 3: Tighten the M22 bolt to 155 N.m (114 lb-ft).
- Install a new oil filter.
- Tighten to 16 N.m (12 lb-ft).
- Install the oil level indicator tube and the stud bolt.
- Tighten to 9 N.m (80 lb-in).
- Position the engine wiring harness.
- Connect the bypass and the coolant pump hoses.
- Connect the engine coolant temperature (ECT) sensor and the radio interference capacitor electrical connectors.
- Connect the LH ignition coil electrical connectors and attach the wiring retainers.
- Connect the crankshaft position sensor (CKP) electrical connector and attach the wiring retainer.
- Attach the ground wire and install the nut.
- Tighten to 20 N.m (15 lb-ft).
- Connect the generator wiring and install the nut.
- Attach the wiring retainer.
- Tighten to 8 N.m (71 lb-in).
- Connect the RH ignition coil electrical connectors and attach the wiring retainers.
- Position the wiring conduit on the valve cover studs and install the nut.
- Tighten to 6 N.m (53 lb-in).
- Position the new gaskets and the upper and lower intake manifold. Install the bolts.
- Tighten in the sequence shown to 10 N.m (89 lb-in).
- Position the power steering pump, reservoir bracket and tubes. Install the 3 nuts.
- Tighten to 25 N.m (18 lb-ft).
- Install the power steering fluid reservoir bracket nut.
- Tighten to 9 N.m (80 lb-in).
- Position the power steering fluid reservoir and install the 2 nuts.
- Tighten to 9 N.m (80 lb-in).
- Position the power steering tube bracket and install the bolt.
- Tighten to 7 N.m (62 lb-in).
- Position the power steering tube bracket and install the bolt.
- Tighten to 7 N.m (62 lb-in).
- Connect the RH HO2S and attach the retainer.
- Connect the fuel charging wiring harness electrical connector.
- Connect the fuel rail pressure and temperature sensor vacuum tube and electrical connector.
- Install and connect the positive crankcase ventilation (PCV) tube.
- Connect the throttle body electrical connector.
- Connect the exhaust gas recirculation (EGR) system module electrical connector.
- Position the EGR system module tube.
- Tighten to 40 N.m (30 lb-ft).
- Connect the camshaft position sensor (CMP) electrical connector, attach the wiring retainers and install the 2 wiring conduit nuts.
- Tighten to 6 N.m (53 lb-in).
- Connect the oil pressure sensor electrical connector.
- Connect the LH heated oxygen sensor (HO2S) electrical connector and attach the wiring retainer.
- Install the A/C compressor bracket and the 5 bolts.
- Tighten to 25 N.m (18 lb-ft).
- Install the A/C compressor, 2 nuts and 2 bolts.
- Tighten to 25 N.m (18 lb-ft).
- Install the A/C compressor and the bolt.
- Tighten to 25 N.m (18 lb-ft).
- Install the A/C compressor shield, 2 nuts and the bolt.
- Tighten to 25 N.m (18 lb-ft).
- Connect the LH catalyst monitor sensor electrical connector and attach the wiring retainer.
- Connect the A/C compressor electrical connector.
- Rotate the tensioner counterclockwise and install the accessory drive belt.
- Install the A/C compressor pulley shield and the 3 retainers.
- Install the special tool to the RH cylinder head.
- Install the special tool to the LH cylinder head.
- Install the lower half of the special tool.
- Install the upper half of the special tool.
- Using the special tools and a suitable engine crane, remove the engine from the engine stand.
NOTE:
This procedure is for selecting bearings using a new crankshaft.
NOTE:
Before assembling the cylinder block, all sealing surfaces must be free of chips, dirt, paint and foreign material. Also, make sure the coolant and oil passages are clear.
CAUTION:
The lower cylinder block must be installed and the bolts tightened within four minutes of applying the sealant.
NOTE:
Clean and degrease both surfaces using metal surface cleaner before applying sealant.
CAUTION:
Fasteners No. 5--8 are studs. Fasteners No. 18--22 are M8 x 1.25 mm x 79.3 mm (0.05 in x 3.12 in) bolts. Fasteners No. 1--4, 17 are M8 x 1.25 mm x 95.3 mm (0.05 in x 3.75 in) bolts. Fasteners 9--12 are M10 x 1.5 mm x 106.8 mm (0.06 in x 4.20 in)/M8 x 1.25 mm x 21.5 mm (0.05 in x 0.84 in) studs. Fasteners 13-16 are M10 x 1.5 mm x 106 mm (0.06 in x 4.17 in) bolts. The bolts and studs must be installed in the correct position or engine damage can result.
CAUTION:
Be sure not to scratch the cylinder wall or crankshaft journal with the connecting rod. Push the piston down until the connecting rod bearing seats on the crankshaft journal.
NOTE:
Lubricate the pistons, piston rings, connecting rod bearings and the entire cylinder bores with clean engine oil.
NOTE:
Make sure the piston rings are positioned to specifications for installation. For additional information, refer to PISTON .
NOTE:
Make sure the piston arrow on top is facing toward the front of the engine.
NOTE:
After installation of each piston and connecting rod, rotate the crankshaft to verify smooth operation.
NOTE:
The rod cap installation must keep the same orientation as marked during disassembly or engine damage may occur.
CAUTION:
The camshaft roller followers must be installed in their original positions.
NOTE:
RH shown, LH similar.
CAUTION:
CAUTION:
NOTE:
Clean the sealing surface with metal surface prep before installing a new press-in-place gasket.
NOTE:
Lubricate the camshaft oil seal with clean engine oil.
NOTE:
Failure to verify correct timing drive component alignment will result in severe engine damage.
NOTE:
LH shown, RH similar.
NOTE:
LH shown, RH similar.
CAUTION:
During tensioner compression, do not release the ratchet stem until the tensioner piston is fully bottomed in its bore or damage to the ratchet stem will result.
CAUTION:
Failure to verify correct timing drive component alignment will result in severe engine damage.
CAUTION:
This pulse wheel is used in several different engines. Install the pulse wheel with the keyway in the slot stamped "30" or "30RFF" only (orange in color).
CAUTION:
Only use hand tools when removing or installing the spark plugs, damage can occur to the cylinder head or spark plug.
NOTE:
NOTE:
Apply clean engine oil to the seal lip and seal bore before installing the seal.
NOTE:
NOTE:
Lubricate the outside diameter sealing surfaces with clean engine oil.
NOTE:
Lubricate the new oil pump screen and pickup tube O-ring seal with clean engine oil.
NOTE:
The center coolant pump uses a sealing washer and must be replaced whenever the bolt is removed.
NOTE:
The hole in the coolant pump for the center coolant pump bolt is threaded. Once the center coolant pump is unscrewed from the camshaft, it must also be unscrewed from the coolant pump.
NOTE:
Install a new O-ring seal on the thermostat housing and lubricate with clean engine oil
CAUTION:
Do not use metal scrapers, wire brushes, power abrasive discs or other abrasive means to clean the sealing surfaces. These tools cause scratches and gouges which make leak paths. Use a plastic scraping tool to remove all traces of old sealant.
NOTE:
The valve cover must be installed and the bolts and stud bolts tightened within 4 minutes of sealant application.
NOTE:
Install a new gasket in the valve cover.
NOTE:
The valve cover must be installed and the bolts and stud bolts tightened within 4 minutes of sealant application.
NOTE:
Install a new gasket in the valve cover.
NOTE:
Install a new O-ring seal on the M22 bolt and lubricate with clean engine oil.
NOTE:
Install a new O-ring seal on the oil level indicator tube and lubricate with clean engine oil.
NOTE:
If the engine is repaired or replaced because of upper engine failure, typically including valve or piston damage, check the intake manifold for metal debris. If metal debris is found, install a new intake manifold. Failure to follow these instructions can result in engine damage.
NOTE:
Clean the sealing surfaces with metal surface prep before installing the upper and lower intake manifold.
Freestyle only
All vehicles
Freestyle only
All vehicles
NOTE:
When installing the lower half of the lifting bracket it will be easier to loosely install the upper bolt first then install the lower bolt.