LEMON Manuals: Even more car manuals for everyone: 1960-2025
Home >> Ford >> 2000 >> Escort Standard >> Repair and Diagnosis >> Brakes >> Traction Control >> Anti-Lock Control System >> Component Tests >> Abs Relay
April 5, 2026: LEMON Manuals is launched! Read the announcement.

Abs Relay

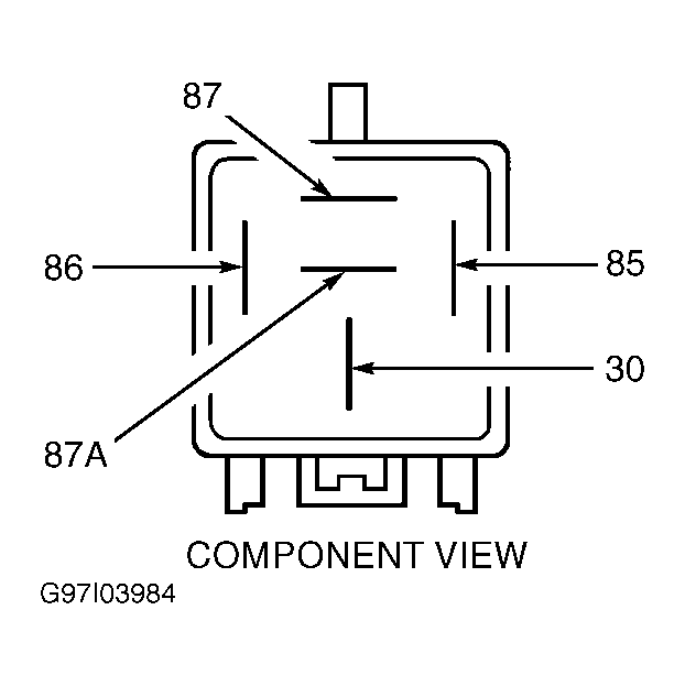
  1. Remove relay from harness connector. Measure resistance between relay terminal No. 85 and all other terminals. See Fig 1 . If resistance is 5 ohms or less, replace relay. If resistance is greater than 5 ohms, go to next step.
  2. Using jumper wires, connect ABS relay terminals No. 30 and 85 to positive battery terminal. With a jumper wire, ground terminal No. 86. Measure voltage at terminal No. 87. See Fig 1 . If voltage is less than 10 volts, replace relay. If voltage is greater than 10 volts, go to appropriate test. See DIAGNOSTIC TROUBLE CODE DEFINITIONS  table.
Fig 1: Identifying Terminals Of ABS Relay
G97I03984Courtesy of FORD MOTOR CO.