LEMON Manuals: Even more car manuals for everyone: 1960-2025
Home >> Ford >> 2000 >> Excursion 2WD V10-6.8L VIN S >> Repair and Diagnosis >> Powertrain Management >> Computers and Control Systems >> Air Flow Meter/Sensor >> Service and Repair
April 5, 2026: LEMON Manuals is launched! Read the announcement.

Air Flow Meter/Sensor: Service and Repair

REMOVAL
1. Disconnect the battery ground cable. For additional information, refer to Battery.







2. Open the engine air cleaner.
^ Disconnect the MAP sensor electrical connector.
^ Release the air cleaner clamp.
^ Separate the inlet side from the outlet side of the air cleaner.

CAUTION: Do not tamper with the Mass Air Flow (MAF) sensing elements located in the airflow meter. Tampering may result in unit failure.

NOTE: The MAP sensor and body are calibrated and repaired as an assembly.







3. Remove the MAF assembly.







4. Disconnect the MAF sensor electrical connector.







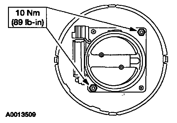
5. Remove the nuts and separate the MAF sensor from the MAF sensor plate.

INSTALLATION
1. To install, reverse the removal procedure.

CAUTION: The grommet used to seal the engine air cleaner housing at the extension harness must be fully seated. Failure to do so will result in unmetered air entering the engine.

NOTE:
^ Use the alignment notch to properly align the inlet side and the outlet side of the engine air cleaner.
^ When reinstalling the mass air flow (MAF) sensor, make sure wires are not trapped behind MAF. Make sure electrical connector is pointing up on installation.