LEMON Manuals: Even more car manuals for everyone: 1960-2025
Home >> Ford >> 2000 >> Excursion 4WD V10-6.8L VIN S >> Repair and Diagnosis >> Starting and Charging >> Charging System >> Alternator >> Service and Repair >> Bi-Fuel Models
April 5, 2026: LEMON Manuals is launched! Read the announcement.

Bi-Fuel Models

REMOVAL
1. Disconnect the battery ground cable. For additional information, refer to Battery.
2. Remove the drive belt. For additional information, refer to Engine.
3. Relieve the bi-fuel system pressure. For additional information, refer to Fuel Delivery and Air Induction.







4. Position aside the bi-fuel lock off solenoid and bracket.
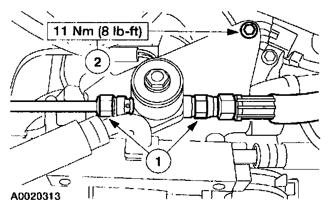
1 Disconnect the bi-fuel lines.
2 Remove the three bolts.







5. Disconnect the generator wire harness retainer from the generator bracket stud.







6. Remove the generator bracket bolts.







7. Remove the bolts and remove the generator.







8. Disconnect the generator electrical connections.
1 Disconnect the generator electrical connectors.
2 Remove the generator B+ cable nut and washer assembly.
3 Disconnect the generator B+ cable.

INSTALLATION
1. To install, reverse the removal procedure.

CAUTION: Be sure to hand-start the generator battery positive cable nut to prevent cross-threading.