LEMON Manuals: Even more car manuals for everyone: 1960-2025
Home >> Ford >> 2000 >> Taurus SEL >> Repair and Diagnosis >> Body & Frame >> Windows >> Power Window System >> Component Tests >> Relays >> Mini ISO Relay
April 5, 2026: LEMON Manuals is launched! Read the announcement.

Mini ISO Relay

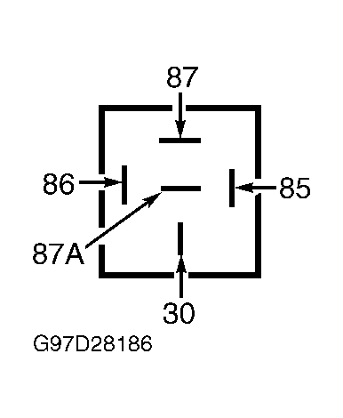
  1. Remove mini ISO relay. Measure resistance between appropriate relay terminals. See MINI ISO RELAY RESISTANCE SPECIFICATIONS  table. See Fig 1 . If resistance is as specified, go to next step. If resistance is not as specified, replace relay.
    MINI ISO RELAY RESISTANCE SPECIFICATIONS

    Between Terminals No. Resistance
    85 & 86 50-100 Ohms
    30 & 87a 5 Ohms Or Less
    30 & 87 Greater Than 10 k/Ohms
    30 & 86 Greater Than 10 k/Ohms
    86 & 87a Greater Than 10 k/Ohms
    86 & 87 Greater Than 10 k/Ohms
  2. Using a fused jumper wire, connect positive battery voltage to terminal No. 85. Using another jumper wire, ground terminal No. 86. Resistance should now be 5 ohms or less between terminals No. 30 and 87 and greater than 10 k/ohms between terminals 30 and 87a. If resistance is as specified, relay is okay at this time. If resistance is not as specified, replace relay.
Fig 1: Identifying Mini ISO Relay Terminals
G97D28186Courtesy of FORD MOTOR CO.