LEMON Manuals: Even more car manuals for everyone: 1960-2025
Home >> Ford >> 2000 >> Taurus V6-3.0L VIN U >> Repair and Diagnosis >> Body and Frame >> Frame >> Subframe >> Front Subframe >> Service and Repair
April 5, 2026: LEMON Manuals is launched! Read the announcement.

Front Subframe: Service and Repair

FRONT SUBFRAME


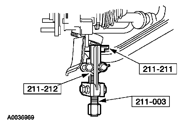
Special Tool(s):






Special Tool(s)

Removal and Installation
1. Disconnect the battery.







2. Using the special tool, support the engine.







3. If equipped, remove the roll-restrictor bolt and nut.
4. Remove the downstream catalytic converter.
5. Support the exhaust system to one side under the vehicle.







6. NOTE: If equipped, remove the five pin-type retainers from the chin spoiler.

Remove the air dam.
1 Remove the seven screws.
2 Remove the three bolts.
3 Remove the air dam.

7. Remove the front tires and wheels.







8. Remove the two lower ball joint nuts.







9. Using the special tools. disconnect the ball joint from the lower arm.
10. Push the lower arm downward until the ball joint is free of the arm.







11. CAUTION: Use extreme care not to damage boot seal. Do not use power tools to tighten the nut, or bearing and seal damage can result. Install nut using the hex hold feature to prevent the stud from rotating.

Remove the two nuts and disconnect the front stabilizer bar links.

12. Support the steering gear to prevent damage to the steering shaft.







13. Remove the steering gear nuts.







14. Remove the four bolts holding the power steering line to the frame.







15. Remove the RH front engine mount nut.







16. Remove the RH rear engine mount nut.







17. Remove the transmission insulator support bracket bolts from the frame.







18. Remove the pin-type retainers from the RH subframe splash shield.
19. Using a suitable support table, support the subframe.







20. CAUTION: Make sure all hoses and the steering gear assembly are clear of subframe to prevent damage to these components when lowering the subframe.

Remove the four subframe bolts and lower the subframe from the vehicle.

21. Transfer all components as necessary.

22. NOTE: When installing the subframe bolts, tighten in sequence starting with the LH front, the RH front, and both rear bolts.

To install, reverse the removal procedure.
- With an assistant, align the subframe and tighten the subframe bolts

23. Check the front end alignment and adjust as necessary.