LEMON Manuals: Even more car manuals for everyone: 1960-2025
Home >> Ford >> 2001 >> ZX2 Standard >> Repair and Diagnosis >> External Pages >> Different car >> Section 1455 (Engine System) >> Disassembly >> Engine >> Disassembly
April 5, 2026: LEMON Manuals is launched! Read the announcement.

Section 1455 (Engine System): Disassembly: Engine: Disassembly

WARNING: This page is about a different car, the 2006 Mercury Grand Marquis and 2006 Ford Crown Victoria. However, it is still accessible from the selected car via links, so may be relevant.
CAUTION: Servicing the bottom end of the engine (crankshaft, bearings) requires that cylinder heads be removed. Failure to do so can result in engine damage.
CAUTION: During engine repair procedures, cleanliness is extremely important. Any foreign material (including any material created while cleaning gasket surfaces) that enters the oil passages, coolant passages or the oil pan can cause engine failure.
NOTE: The crankshaft rear seal, the rear oil seal slinger and the crankshaft rear seal retainer plate must be removed before mounting the engine on the engine stand.
NOTE: For additional information, refer to the exploded views under ENGINE  assembly.
  1. Remove the 6 bolts and the flexplate.
    Fig 1: Removing Bolts And Flexplate
    G04583701Courtesy of FORD MOTOR CO.
  2. Remove the engine/transmission spacer plate.
    Fig 2: Removing Engine/Transmission Spacer Plate
    G04583702Courtesy of FORD MOTOR CO.
  3. Using the special tools, remove the crankshaft rear seal slinger.
    Fig 3: Removing Crankshaft Rear Oil Seal Slinger
    G03920149Courtesy of FORD MOTOR CO.
  4. Using the special tools, remove the crankshaft rear seal.
    Fig 4: Removing Crankshaft Rear Seal
    G03920150Courtesy of FORD MOTOR CO.
  5. Remove the 2 oil pan-to-crankcase rear seal retainer plate bolts and the 6 crankcase rear seal retainer plate bolts.
    Fig 5: Identifying Bolts And Crankshaft Rear Seal Retainer Plate
    G03885716Courtesy of FORD MOTOR CO.
  6. Mount the engine on a suitable engine stand.
    Fig 6: Mounting Engine On Suitable Engine Stand
    G04583706Courtesy of FORD MOTOR CO.
  7. NOTE: RH shown, LH similar.
    Fig 7: Removing LH And RH Engine Mount
    G04583707Courtesy of FORD MOTOR CO.
  8. Remove the LH and the RH engine mount.
  9. NOTE: LH shown, RH similar.
  10. Remove the drain plugs from the engine block. Allow the coolant to completely drain.
    • Install the drain plugs when finished.
    • To install, tighten to 20 Nm (15 lb-ft).
      Fig 8: Removing Drain Plugs From Engine Block
      G04583708Courtesy of FORD MOTOR CO.
  11. Remove the bolt and the battery cables from the engine.
    Fig 9: Removing Bolt And Battery Cables From Engine
    G04583709Courtesy of FORD MOTOR CO.
  12. Disconnect the exhaust gas recirculation (EGR) tube from the exhaust manifold.
    Fig 10: Disconnecting Exhaust Gas Recirculation (EGR) Tube From Exhaust Manifold
    G04583710Courtesy of FORD MOTOR CO.
  13. Disconnect the 8 ignition coil electrical connectors.
    Fig 11: Disconnecting Ignition Coil Electrical Connectors
    G04583711Courtesy of FORD MOTOR CO.
  14. Disconnect the 8 fuel injector electrical connectors.
    Fig 12: Disconnecting Fuel Injector Electrical Connectors
    G04583712Courtesy of FORD MOTOR CO.
  15. Remove the 2 bolts and the intake manifold shield.
    Fig 13: Removing Bolts And Intake Manifold Shield
    G04583713Courtesy of FORD MOTOR CO.
  16. Disconnect and remove the crankcase ventilation tube.
    Fig 14: Removing Crankcase Ventilation Tube
    G04583714Courtesy of FORD MOTOR CO.
  17. Remove the 4 generator mounting bracket bolts and the bracket.
    Fig 15: Removing Generator Mounting Bracket Bolts And Bracket
    G04583715Courtesy of FORD MOTOR CO.
  18. Disconnect the throttle control and the throttle position (TP) sensor electrical connectors.
    Fig 16: Locating Throttle Control And Throttle Position (TP) Sensor Electrical Connectors
    G03881492Courtesy of FORD MOTOR CO.
  19. Disconnect the generator electrical connector.
    Fig 17: Disconnecting Generator Electrical Connector
    G04583717Courtesy of FORD MOTOR CO.
  20. Disconnect the cylinder head temperature (CHT) sensor electrical connector.
    Fig 18: Disconnecting Cylinder Head Temperature (CHT) Sensor Electrical Connector
    G04583718Courtesy of FORD MOTOR CO.
  21. Remove the generator wiring harness anchor from the LH front stud.
    Fig 19: Removing Generator Wiring Harness Anchor From LH Front Stud
    G04583719Courtesy of FORD MOTOR CO.
  22. Disconnect the ground wire from the RH rear stud.
    Fig 20: Disconnecting Ground Wire From RH Rear Stud
    G04583720Courtesy of FORD MOTOR CO.
  23. Disconnect the camshaft position (CMP) sensor electrical connector.
    Fig 21: Disconnecting Camshaft Position (CMP) Sensor Electrical Connector
    G04583721Courtesy of FORD MOTOR CO.
  24. Disconnect the radio ignition interference capacitor and remove the engine control sensor wiring.
    Fig 22: Removing Engine Control Sensor Wiring
    G04583722Courtesy of FORD MOTOR CO.
  25. Disconnect the knock sensor (KS) electrical connector and the wiring harness pin-type retainer.
    Fig 23: Disconnecting Knock Sensor (KS) Electrical Connector And Wiring Harness Pin-Type Retainer
    G04583723Courtesy of FORD MOTOR CO.
  26. Disconnect the vacuum hoses and the electrical connector.
    Fig 24: Disconnecting Vacuum Hoses And Electrical Connector
    G04583724Courtesy of FORD MOTOR CO.
  27. Disconnect the fuel charging wiring from the intake manifold crash bracket and remove the harness from the engine assembly.
    Fig 25: Removing Harness From Engine Assembly
    G04583725Courtesy of FORD MOTOR CO.
  28. Disconnect the EGR tube nut from the EGR valve.
    Fig 26: Disconnecting EGR Tube Nut From EGR Valve
    G04583726Courtesy of FORD MOTOR CO.
  29. Remove the 2 generator bolts and the generator.
    Fig 27: Removing Generator Bolts And Generator
    G04583727Courtesy of FORD MOTOR CO.
  30. Remove the intake manifold crash bracket bolt and prevent the bolt from contacting the cylinder head with a rubber band or tie strap.
    Fig 28: Removing Intake Manifold Crash Bracket
    G04583728Courtesy of FORD MOTOR CO.
  31. Remove the intake manifold crash bracket stud bolt.
    Fig 29: Removing Intake Manifold Crash Bracket Stud Bolt
    G04583729Courtesy of FORD MOTOR CO.
  32. Remove the 8 bolts and the 8 ignition coils.
    Fig 30: Removing Ignition Coils Bolts
    G04583730Courtesy of FORD MOTOR CO.
  33. Remove the 2 bolts and the coolant outlet adapter.
    Fig 31: Removing Coolant Outlet Adapter
    G04583731Courtesy of FORD MOTOR CO.
  34. Remove the thermostat.
    Fig 32: Removing Thermostat
    G04583732Courtesy of FORD MOTOR CO.
  35. Remove the 8 bolts and the intake manifold.
    Fig 33: Removing Bolts And Intake Manifold
    G04583733Courtesy of FORD MOTOR CO.
  36. Remove the intake manifold gaskets and discard.
    Fig 34: Removing Intake Manifold Gaskets
    G04583734Courtesy of FORD MOTOR CO.
  37. CAUTION: Do not use metal scrapers, wire brushes, power abrasive discs or other abrasive means to clean the sealing surfaces. These tools cause scratches and gouges which make leak paths.
    Fig 35: Cleaning Sealing Surfaces
    G04583735Courtesy of FORD MOTOR CO.
  38. Clean the sealing surfaces.
  39. Remove the coolant bypass tube.
    1. Remove the retaining nut.
    2. Remove the ground strap.
    3. Remove the coolant bypass tube.
      Fig 36: Removing Coolant Bypass Tube
      G04583736Courtesy of FORD MOTOR CO.
  40. Remove the 2 bolts and the knock sensor.
    Fig 37: Removing Knock Sensor And Bolts
    G04583737Courtesy of FORD MOTOR CO.
  41. Remove the 5 studs and 5 bolts and the LH valve cover. Discard the gasket.
    • Clean the mating surface.
      Fig 38: Removing LH Valve Cover
      G04583738Courtesy of FORD MOTOR CO.
  42. Remove the 7 studs and 3 bolts and the RH valve cover. Discard the gasket.
    • Clean the mating surface.
      Fig 39: Removing RH Valve Cover
      G04583739Courtesy of FORD MOTOR CO.
  43. CAUTION: Only use hand tools when removing or installing the spark plugs, damage can occur to the cylinder head or spark plug.
    NOTE: Use compressed air to remove any foreign material from the spark plug well before removing the spark plugs.
    Fig 40: Removing Spark Plugs
    G04583740Courtesy of FORD MOTOR CO.
  44. Remove the 8 spark plugs.
  45. Position the lobe of the camshaft up.
    Fig 41: Positioning Lobe Of Camshaft Up
    G04583741Courtesy of FORD MOTOR CO.
  46. Install the special tool between the valve spring coils to prevent valve stem seal damage.
    Fig 42: Installing Special Tool Between Valve Spring Coils
    G03962476Courtesy of FORD MOTOR CO.
  47. NOTE: The roller followers are positional. Mark the followers for installation in their original locations.
    Fig 43: Compressing Valve Springs
    G04583743Courtesy of FORD MOTOR CO.
  48. Use the special tool to compress the valve springs and remove the 16 camshaft roller followers.
  49. Remove the bolt and the accessory drive belt idler pulley.
    Fig 44: Removing Bolt And Accessory Drive Belt Idler Pulley
    G04583744Courtesy of FORD MOTOR CO.
  50. Remove the 4 bolts and the coolant pump pulley.
    Fig 45: Removing Coolant Pump Pulley
    G04583745Courtesy of FORD MOTOR CO.
  51. Remove the 4 bolts and the coolant pump.
    Fig 46: Identifying Coolant Pump Bolts
    G03885825Courtesy of FORD MOTOR CO.
  52. Remove the crankshaft pulley bolt.
    Fig 47: Removing Crankshaft Pulley Bolt
    G04583747Courtesy of FORD MOTOR CO.
  53. Use the special tool to remove the crankshaft pulley.
    Fig 48: Removing Crankshaft Pulley
    G04583748Courtesy of FORD MOTOR CO.
  54. Use the special tool to remove the crankshaft front seal.
    Fig 49: Removing Crankshaft Front Seal Using Special Tool
    G03919889Courtesy of FORD MOTOR CO.
  55. Remove the 16 bolts and the oil pan.
    • Discard the gasket
      Fig 50: Removing Oil Pan And Gasket
      G04583750Courtesy of FORD MOTOR CO.
  56. Remove the 3 bolts, the oil pump screen and pickup tube.
    Fig 51: Oil Pump Screen And Pickup Tube Bolts
    G03885762Courtesy of FORD MOTOR CO.
  57. Remove the oil pump screen and pickup tube spacer.
    Fig 52: Oil Pump Screen And Pickup Tube Spacer
    G03885763Courtesy of FORD MOTOR CO.
  58. NOTE: Correct fastener location is essential for the assembly procedure. Record fastener location.
    Fig 53: Removing Fasteners In Sequence
    G04583753Courtesy of FORD MOTOR CO.
  59. Remove the 15 fasteners in the sequence shown.
  60. Remove the engine front cover from the cylinder block.
    Fig 54: Locating Engine Front Cover
    G03885740Courtesy of FORD MOTOR CO.
  61. Remove the crankshaft sensor ring from the crankshaft.
    Fig 55: View Of Crankshaft Sensor Ring At Crankshaft
    G04583449Courtesy of FORD MOTOR CO.
  62. Position the crankshaft with the key way at the 12 o'clock position.
    Fig 56: Positioning Crankshaft With Keyway At 12 O'clock Position
    G04583456Courtesy of FORD MOTOR CO.
  63. Remove the timing chain tensioning system from both timing chains.
    1. Remove the 4 bolts.
    2. Remove the timing chain tensioners.
    3. Remove the timing chain tensioner arms.
      Fig 57: Identifying Timing Chain Tensioning System
      G03962450Courtesy of FORD MOTOR CO.
  64. CAUTION: Unless otherwise instructed, at no time when the timing chains are removed and the cylinders heads are installed is the crankshaft or camshaft to be rotated. Severe piston and valve damage will occur.
  65. Remove the LH and RH timing chains and the crankshaft sprocket.
    • Remove the RH timing chain from the camshaft sprocket.
    • Remove the RH timing chain from the crankshaft sprocket.
    • Repeat for the LH timing chain and crankshaft sprocket.
      Fig 58: View Of Left And Right Timing Chains, Sprockets And Crankshaft Gear
      G03885313Courtesy of FORD MOTOR CO.
  66. Remove both timing chain guides.
    1. Remove the 4 bolts.
    2. Remove the LH timing chain guide.
    3. Remove the bolts.
    4. Remove the RH timing chain guide.
      Fig 59: Identifying Timing Chain Guides
      G03962452Courtesy of FORD MOTOR CO.
  67. Remove the RH exhaust manifold.
    1. Remove the 8 nuts.
    2. Remove the RH exhaust manifold.
    3. Remove the RH exhaust manifold gasket and discard.
      Fig 60: Locating Exhaust Manifold
      G03947754Courtesy of FORD MOTOR CO.
  68. Remove the LH exhaust manifold.
    1. Remove the 8 nuts.
    2. Remove the LH exhaust manifold.
    3. Remove the LH exhaust manifold gaskets and discard.
      Fig 61: Removing LH Exhaust Manifold
      G04583761Courtesy of FORD MOTOR CO.
  69. Remove the bolt and the oil level indicator tube.
    Fig 62: Removing Oil Level Indicator Tube
    G04583762Courtesy of FORD MOTOR CO.
  70. Clean and inspect the exhaust manifolds. For additional information, refer to ENGINE SYSTEM-GENERAL INFORMATION .
  71. Install the special tool on both ends of the cylinder head.
    Fig 63: Identifying Special Tool (303-572)
    G04671899Courtesy of FORD MOTOR CO.
  72. NOTE: The hydraulic lash adjusters must be reinstalled in their original locations. Record the hydraulic lash adjuster locations.
    Fig 64: Identifying Hydraulic Lash Adjusters
    G03885650Courtesy of FORD MOTOR CO.
  73. Remove the 16 hydraulic lash adjusters.
  74. CAUTION: The cylinder head must be cool before removing it from the engine. Cylinder head warpage can result if a warm or hot cylinder head is removed.
    CAUTION: Place clean shop towels over exposed cavities. Carefully remove the towels so foreign material is not dropped into the engine.
    CAUTION: The cylinder head bolts must be discarded and new bolts installed. They are tighten-to-yield designed and cannot be reused.
    CAUTION: Do not use metal scrapers, wire brushes, power abrasive discs or other abrasive means to clean the sealing surfaces. These tools cause scratches and gouges, which make leak paths. Use a plastic scraping tool to remove all traces of the head gasket.
    CAUTION: Aluminum surfaces are soft and can be scratched easily. Never place the cylinder head gasket surface, unprotected, on a bench surface.
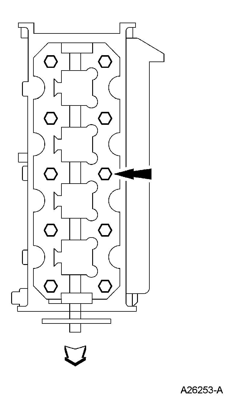
  75. Remove the 10 bolts and the RH cylinder head.
    • Discard the cylinder head gasket.
    • Discard the cylinder head bolts.
      Fig 65: Locating Cylinder Head Bolts
      G03885651Courtesy of FORD MOTOR CO.
  76. CAUTION: The cylinder head must be cool before removing it from the engine. Cylinder head warpage can result if a warm or hot cylinder head is removed.
    CAUTION: Place clean shop towels over exposed engine cavities. Carefully remove the towels so foreign material is not dropped into the engine.
    CAUTION: The cylinder head bolts must be discarded and new bolts installed. They are tighten-to-yield designed and cannot be reused.
    CAUTION: Do not use metal scrapers, wire brushes, power abrasive discs or other abrasive means to clean the sealing surfaces. These tools cause scratches and gouges, which make leak paths. Use a plastic scraping tool to remove all traces of the head gasket.
    CAUTION: Aluminum surfaces are soft and can be scratched easily. Never place the cylinder head gasket surface, unprotected, on a bench surface.
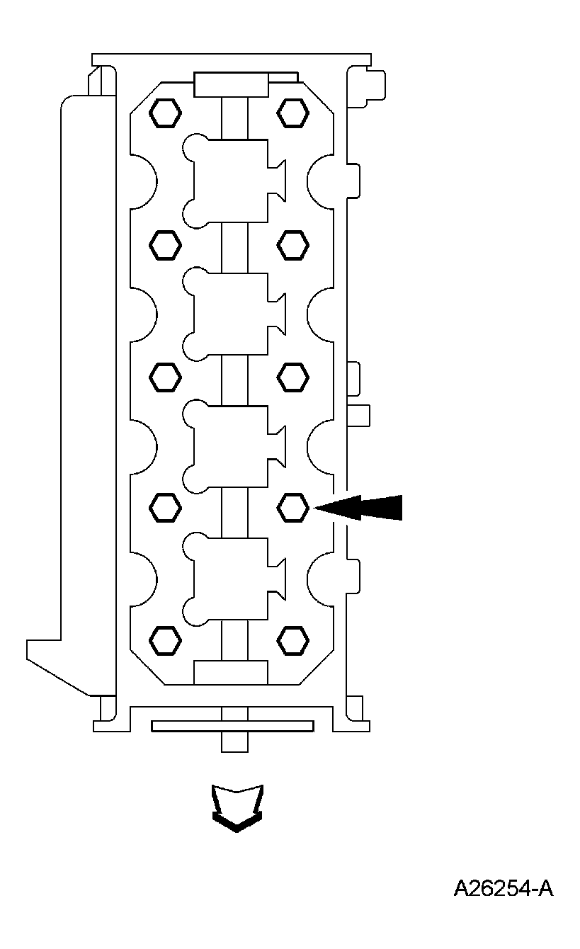
  77. Remove the 10 bolts and the LH cylinder head.
    • Discard the cylinder head gasket.
    • Discard the cylinder head bolts.
      Fig 66: Identifying LH Cylinder Head Bolts
      G03885652Courtesy of FORD MOTOR CO.
  78. CAUTION: Do not use metal scrapers, wire brushes, power abrasive discs or other abrasive means to clean the sealing surfaces. These tools cause scratches and gouges, which make leak paths. Use a plastic scraping tool to remove all traces of the head gasket.
    CAUTION: Observe all warnings or cautions and follow all application directions contained on the packaging of the silicone gasket remover and the metal surface prep.
    NOTE: If there is no residual gasket material present, metal surface prep can be used to clean and prepare the surfaces.
  79. Clean the cylinder head-to-cylinder block mating surfaces of both cylinder heads and the cylinder block.
    1. Remove any large deposits of silicone or gasket material with a plastic scraper.
    2. Apply silicone gasket remover, following package directions, and allow to set for several minutes.
    3. Remove the silicone gasket remover with a plastic scraper. A second application of silicone gasket remover may be required if residual traces of silicone or gasket material remain.
    4. Apply metal surface prep, following package directions, to remove any remaining traces of oil or coolant, and to prepare the surfaces to bond with the new gasket. Do not attempt to make the metal shiny. Some staining of the metal surfaces is normal.
  80. NOTE: The straightedge used must be flat within 0.0051 mm (0.0002 in) per foot of tool length.
  81. Support the cylinder heads on a bench with the head gasket side up. Inspect all areas of the deck face with a straightedge, paying particular attention to the oil pressure feed area. The cylinder heads must not have depressions deeper than 0.0254 mm (0.001 in) across at 38.1 mm (1.5 in) square area, or scratches more than 0.0254 mm (0.001 in).
  82. Remove the 4 bolts and the oil filter adapter.
    • Discard the gasket.
      Fig 67: Removing Oil Filter Adapter And Bolts
      G04583767Courtesy of FORD MOTOR CO.
  83. Remove the 3 oil pump bolts and the oil pump.
    Fig 68: Locating Oil Pump Bolts
    G04638972Courtesy of FORD MOTOR CO.
  84. Before removing the pistons, inspect the top of the cylinder bores. If necessary, remove the ridge or carbon deposits from each cylinder using an cylinder ridge reamer, following the manufacturer instructions.
    Fig 69: Inspecting Top Of Cylinder Bores
    G04583769Courtesy of FORD MOTOR CO.
  85. CAUTION: Verify that the connecting rods and rod caps have orientation numbers cast into them. If not, number the connecting rods and rod caps for correct orientation.
  86. Remove the 2 bolts and the connecting rod cap.
    • Discard the bolts.
      Fig 70: Identifying Bolts And Connecting Rod Caps
      G04583770Courtesy of FORD MOTOR CO.
  87. CAUTION: Do not scratch the cylinder walls or crankshaft journals with the connecting rod.
    Fig 71: Pushing Piston Through Top Of Cylinder Block
    G03920342Courtesy of FORD MOTOR CO.
  88. Use the special tool to push the piston through the top of the cylinder block.
  89. CAUTION: Servicing the bottom end of the engine (crankshaft, bearings) requires that cylinder heads be removed. Failure to do so can result in engine damage.
  90. Remove the crankshaft bearing cap fasteners.
    1. Remove and discard the 10 cross-mounted main cap bolts.
    2. Loosen the 10 jack screws.
    3. Remove and discard the 10 main cap bolts.
      Fig 72: Removing Crankshaft Bearing Cap Fasteners
      G04583772Courtesy of FORD MOTOR CO.
  91. Remove the 5 main bearing caps and the lower crankshaft main bearings.
    Fig 73: Identifying Main Bearing Caps
    G03920344Courtesy of FORD MOTOR CO.
  92. Remove the crankshaft and the upper crankshaft main bearings from the cylinder block.
    Fig 74: Identifying Crankshaft And Main Bearings
    G03881879Courtesy of FORD MOTOR CO.