LEMON Manuals: Even more car manuals for everyone: 1960-2025
Home >> Ford >> 2002 >> Excursion 2WD V10-6.8L >> Repair and Diagnosis >> Powertrain Management >> Computers and Control Systems >> Relays and Modules - Computers and Control Systems >> Engine Control Module >> Service and Repair
April 5, 2026: LEMON Manuals is launched! Read the announcement.

Engine Control Module: Service and Repair

REMOVAL
1. Disconnect the battery ground cable.







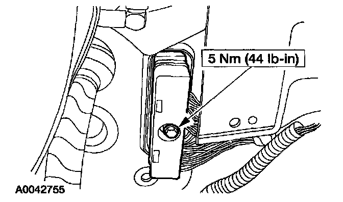
2. Loosen the bolt and disconnect the Powertrain Control Module (PCM) electrical connector.







3. Release the two harness retainers from the PCM bracket.







4. Remove the screws and remove the PCM and bracket assembly.







5. Separate the PCM from the bracket.

INSTALLATION
1. To install, reverse the removal procedure.