LEMON Manuals: Even more car manuals for everyone: 1960-2025
Home >> Ford >> 2003 >> Excursion 6.0 P, 4WD >> Repair and Diagnosis (Single Page) >> Engine Performance >> System >> Engine Controls - Self-Diagnostics - 6.0L (99P F450/550) Diesel >> System Tests >> Test An: Auxiliary Powertrain Control System Introduction >> Testing
April 5, 2026: LEMON Manuals is launched! Read the announcement.

Test An: Auxiliary Powertrain Control System Introduction: Testing

  1. 1) Verify Operation Procedure

    Verify vehicle has correct calibration. See the auxiliary powertrain control manual provided with the system to verify correct operating procedures and entry conditions. Are entry conditions met and correct calibration installed? If yes, go to next step. If no, correct operating procedure or correct calibration level as required. Clear DTCs and retest. If system still does not operate, go to next step.
  2. NOTE: When performing KOER Switch Self-Test, wait five seconds after pressing the trigger to start the test before running through the driver-operated controls. The test can also take up to five minutes to complete.

  3. 2) Check For DTCs
    Verify auxiliary powertrain control system is off before running any self-tests. Perform the KOEO ON-DEMAND SELF-TEST , KOER ON-DEMAND SELF-TEST  and RETRIEVE/CLEAR CONTINUOUS MEMORY DTCS  under QUICK TEST. Were any DTCs retrieved? If yes, see DIAGNOSTIC TROUBLE CODE DEFINITIONS . If no, go to next step.
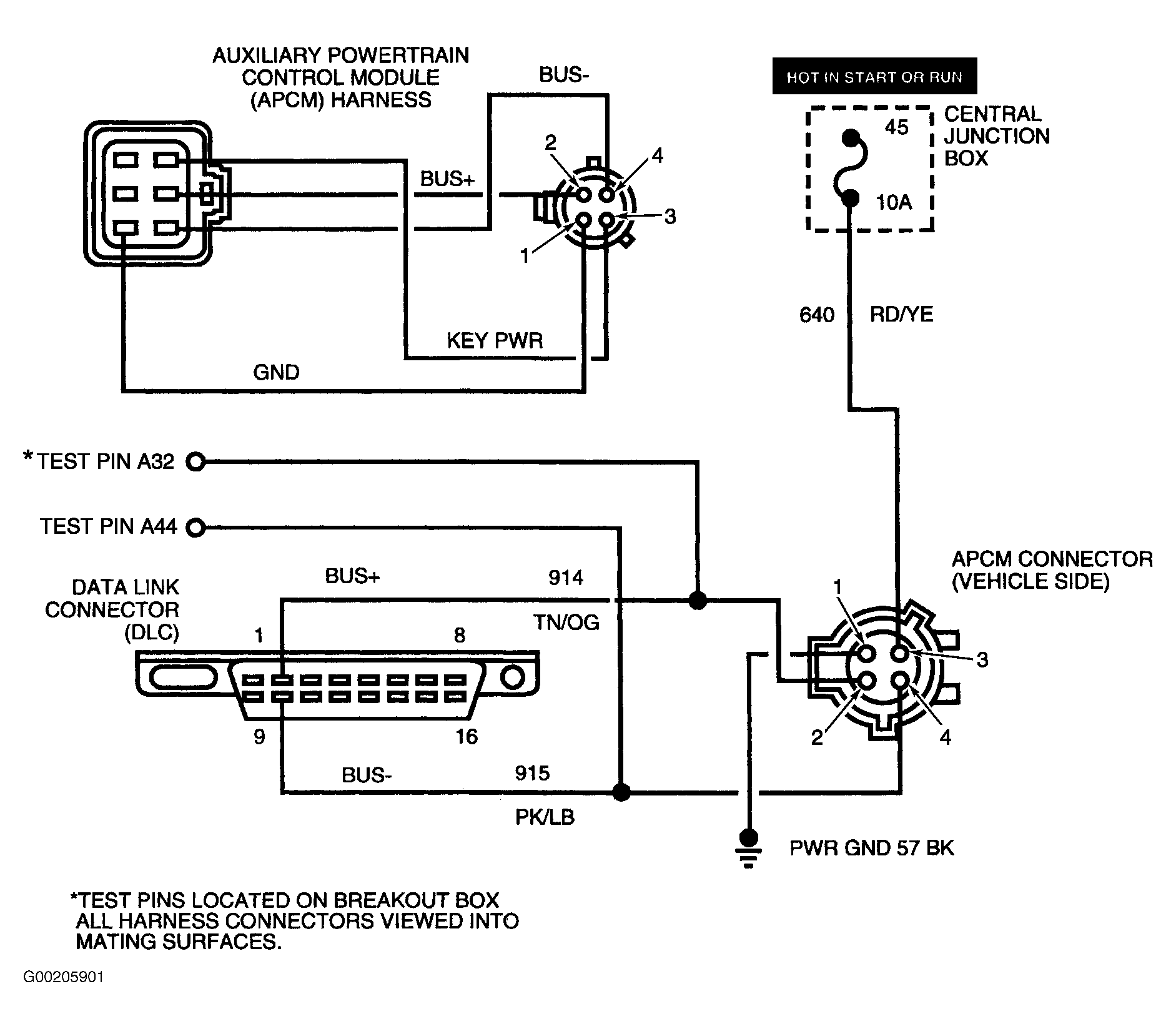
  4. 3) Check For KEY ON Power

    Disconnect APCM harness connector. Key on, engine off. Measure voltage between terminal No. 2 of the APCM connector vehicle side and ground. See Figure. Key off. Was battery voltage present? If yes, go to next step. If no, install a new fuse No. 18 or repair open in White/Pink wire. Restore system. Clear DTCs and retest.
  5. 4) Check GND Circuit

    Measure resistance between terminal No. 1 (Black wire) of the APCM harness connector and ground. Is the resistance less than 5.0 ohms? If yes, go to next step. If no, repair open in ground circuit (Black wire). Restore system. Clear DTCs and retest.
  6. 5) Check For Open In BUS (-) Circuit

    Measure resistance of Pink/Light Blue wire between the APCM harness connector terminal No. 3 and DLC terminal No. 10. Is the resistance less than 5.0 ohms? If yes, go to next step. If no, repair open in Pink/Black wire. Restore system. Clear DTCs and retest.
  7. 6) Check For Open In BUS (+) Circuit

    Measure resistance of Tan/Orange wire between the APCM harness connector terminal No. 4 and DLC terminal No. 2. Is the resistance less than 5.0 ohms? If yes, install a new APCM. Restore system. Clear DTCs and retest. If no, repair open in Tan/Orange wire. Restore system. Clear DTCs and retest.
  8. 7) APCM Inoperative With Hazard Flashers

    Press service brake pedal. Does hi-mount stoplight come on? If yes, go to Test AI  , step  1). If no, go to next step.
  9. 8) Check Hi-Mount Brakelight

    Bench test bulb by applying B+ to one side and B- to the other. Does the bulb illuminate? If yes, go to next step. If no, install a new bulb. Restore system. Clear DTCs and retest.
  10. 9) Check GND Circuit

    Measure resistance of Black wire between the bulb socket and ground. Is the resistance less than 5.0 ohms? If yes, go to next step. If no, repair open in ground (Black wire). Restore system. Clear DTCs and Retest.
  11. 10) Check For PWR Circuit To Brakelight Bulb

    Press service brake pedal. Using a test light, probe between powering circuit (Dark Green wire) at brakelight bulb socket and ground. Does the test light illuminate? If yes, repair loose connection in the bulb socket. Restore system. Clear DTCs and retest. If no, repair open in Dark Green wire.