LEMON Manuals: Even more car manuals for everyone: 1960-2025
Home >> Ford >> 2003 >> Excursion 6.0 P, 4WD >> Repair and Diagnosis (Single Page) >> Engine Performance >> System >> Engine Controls - System Test JE Through Z - CNG, Flex-Fuel & Gasoline >> Test Kb: Fuel Pump Driver Module >> Testing
April 5, 2026: LEMON Manuals is launched! Read the announcement.

Test Kb: Fuel Pump Driver Module: Testing

    NOTE: For additional testing information, see DIAGNOSTIC AIDS .
    NOTE: DTC P1233 and P1234 are identical, except DTC P1234 will not illuminate Malfunction Indicator Lamp (MIL). On LS models, these DTCs indicate PCM is not receiving fuel level information on SCP network from Rear Electronics Module (REM). See MODULE COMMUNICATIONS NETWORK - LS article in ACCESSORIES & EQUIPMENT for complete DTC listing and test procedures.

  1. 1) For KOEO, KOER & Continuous Memory DTCs P1233 & P1234: Check For KOEO DTC P1233 Or P1234
    These DTCs indicate PCM has stopped receiving duty cycle signal from Fuel Pump Driver Module (FPDM). Possible causes are:
    • Inertia Fuel Shutoff (IFS) Switch Needs To Be Reset
    • Open FPDM Ground Circuit
    • Open Or Shorted FPM Circuit
    • Faulty IFS Switch
    • Faulty FPDM
    • Faulty PCM
    • Open FPDM PWR Circuit; Or Open B+ Circuit To Constant Control Relay Module (CCRM) (ZX2 & Mustang)
    • Faulty CCRM (ZX2 & Mustang)
    • Open Ground Circuit To CCRM (Mustang)

    If DTC P1233 or P1234 is present in KOEO ON-DEMAND SELF-TEST, go to next step. If DTC P1233 or P1234 is not present in KOEO ON-DEMAND SELF-TEST, PCM is now receiving a signal from FPDM. DTC P1233 or P1234 may have been set due to Inertia Fuel Shutoff (IFS) switch being tripped, then reset. If engine starts, go to step  25). If engine is now a no-start, disregard DTCs P1233 and P1234 at this time and repeat QUICK TEST . If any other DTCs are present, perform appropriate system test and repair as necessary. After repairing the engine no-start condition, go to step  25) to diagnose intermittent causes of DTC P1233 or P1234.

  2. 2) Attempt To Start Engine

    Attempt to start engine. If engine starts, go to step  15). If engine does not start, verify IFS switch is set (button depressed) and go to next step.
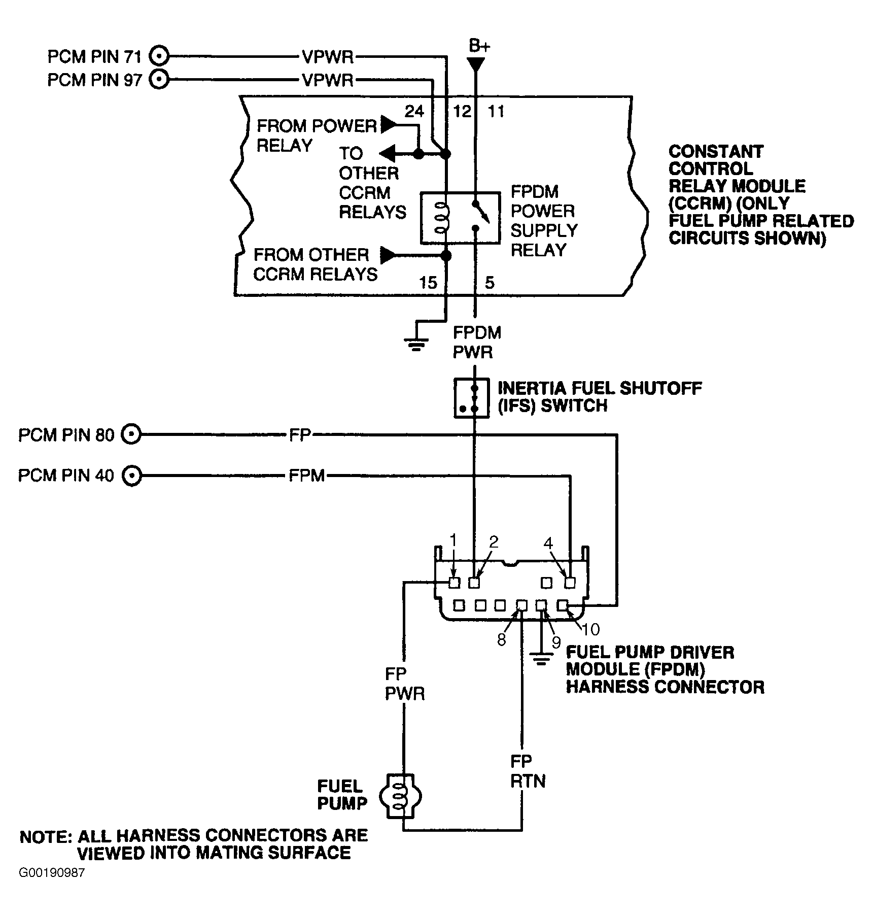
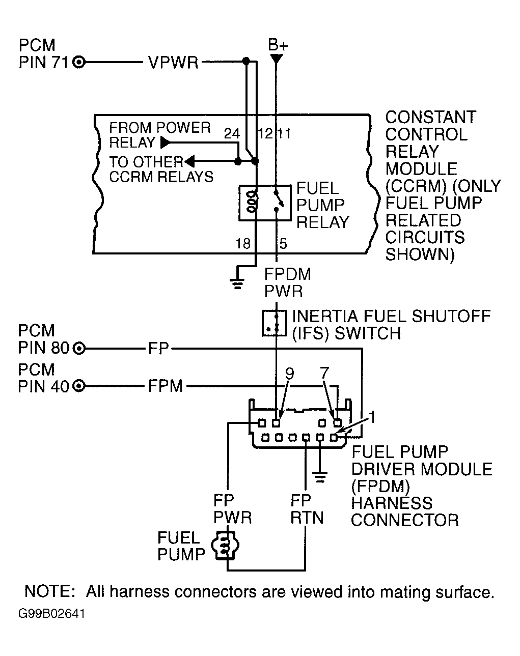
  3. 3) Check Power & Ground Circuits To FPDM

    Turn ignition switch to OFF position. Disconnect FPDM connector. Turn ignition switch to ON position. Using a DVOM, measure voltage between FPDM PWR circuit and GND circuit at FPDM harness connector. See Figure-Figure, and Figure . If voltage is more than 10.5 volts, replace FPDM. If voltage is 10.5 volts or less, go to next step.
  4. 4) Check Power To FPDM

    Turn ignition switch to ON position. Using a DVOM, measure voltage between chassis ground and FPDM PWR circuit at FPDM harness connector. If voltage is more than 10.5 volts, repair open ground circuit to FPDM. If voltage is 10.5 volts or less, go to next step (Mustang and ZX2), or go to step  8) (all others).
  5. 5) Check B+ Voltage To CCRM (Mustang & ZX2)

    Turn ignition switch to OFF position. Disconnect CCRM connector. On Mustang, CCRM is mounted on a bracket behind engine coolant reservoir. On ZX2, CCRM is located in left front of engine compartment. On all models, measure voltage between CCRM harness connector terminal No. 11 (B+ circuit) and chassis ground. See Figure, Figure and Fig 1 . If voltage is more than 10.5 volts, go to next step (Mustang), or step  7) (ZX2). If voltage is 10.5 volts or less, check condition of related fuse. If fuse is blown, check for short to ground in B+ or FPDM PWR circuits to FPDM. Repair as necessary. If fuse is okay, repair open in B+ circuit.
    Fig 1: Identifying Constant Control Relay Module Connector Terminals
    G99D02642Courtesy of FORD MOTOR CO.
  6. 6) Check GND Circuit To CCRM

    Using a DVOM, measure resistance of ground circuit between chassis ground and CCRM harness connector terminal No. 18. If resistance is less than 5 ohms, go to next step. If resistance is 5 ohms or more, repair open in ground circuit.
  7. 7) Check For Open FPDM PWR Circuit

    Using a DVOM, measure resistance of FPDM PWR circuit between CCRM harness connector terminal No. 5 and FPDM harness connector terminal No. 2 (ZX2), or No. 9 (Mustang). If resistance is less than 5 ohms, replace CCRM. If resistance is 5 ohms or more, FPDM PWR circuit is open. Go to step  13) to isolate fault.
  8. 8) Check B+ Voltage To FPDM Power Supply Relay

    Disconnect fuel pump relay in battery junction box. Using a DVOM, measure voltage of B+ circuit between chassis ground and fuel pump relay cavity No. 3. See Figure. If voltage is more than 10.5 volts, go to next step. If voltage is 10.5 volts or less, check for blown B+ circuit fuse to fuel pump relay located in battery junction box in engine compartment. If fuse is okay, repair open B+ circuit. If fuse is blown, check B+ or FPDM PWR circuit for short to ground.
  9. 9) Check For GND To FPDM Power Supply Relay

    Turn ignition switch to OFF position. Disconnect scan tool from DLC. Using a DVOM, measure resistance of GND circuit between negative battery terminal and fuel pump relay cavity No. 2. See Figure. If resistance is less than 5 ohms, go to next step. If resistance is 5 ohms or more, repair open in ground circuit.
  10. 10) Check For Open FPDM PWR Circuit

    Using a DVOM, measure resistance of FPDM PWR circuit between FPDM power supply relay cavity No. 5 and FPDM harness connector terminal No. 9. See Figure and Fig 2 . If resistance is less than 5 ohms, reconnect FPDM and go to next step. If resistance is 5 ohms or more, FPDM PWR circuit is open. Go to step  13) to isolate fault.
    Fig 2: Identifying Fuel Pump Driver Module Connector Terminals
    G00190988Courtesy of FORD MOTOR CO.
  11. 11) Check VPWR Circuit (IGN START/RUN Circuit On Sable & Taurus) Voltage To FPDM Power Supply Relay

    Turn ignition switch to ON position. Using a DVOM, measure voltage between chassis ground and VPWR circuit (IGN START/RUN circuit on Sable and Taurus) at FPDM power supply relay cavity No. 1. See Figure. If voltage is more than 10.5 volts, replace FPDM power supply relay. If voltage is 10.5 volts or less, repair open in VPWR circuit (IGN START/RUN circuit on Sable and Taurus). See WIRING DIAGRAMS .
    NOTE: A break in step numbering sequence occurs at this point. Procedure skips from step 11) to step 13). No test procedures have been omitted.
  12. 13) Isolate Open In FPDM PWR Circuit

    Disconnect Inertia Fuel Shutoff (IFS) switch connector. Perform the following:
    • On Mustang and ZX2, use a DVOM and measure resistance of FPDM PWR circuit between IFS switch harness connector terminal No. 2 and CCRM harness connector terminal No. 5. See Figure and Fig 1 .
    • On Focus, Sable and Taurus, measure resistance of FPDM PWR circuit between IFS switch harness connector terminal No. 2 and FPDM power supply relay cavity No. 5. See Figure and Figure .
    • On all models, measure resistance of FPDM PWR circuit between FPDM harness connector and IFS switch harness connector terminal No. 1. See Figure, Figure, Figure, Figure and Fig 2 .

    If all resistance measurements are less than 5 ohms, verify IFS switch is set (button depressed). If IFS switch is set, replace IFS switch. If any resistance measurement is 5 ohms or more, repair open in appropriate FPDM PWR circuit.

    NOTE: A break in step numbering sequence occurs at this point. Procedure skips from step 13) to step 15). No test procedures have been omitted.
  13. 15) Check For Open FPM Circuit

    Turn ignition switch to OFF position. Disconnect FPDM and PCM connector(s). Inspect connectors for loose, damaged or corroded terminals. Repair as necessary. Using a DVOM, measure resistance of FPM circuit between PCM harness connector terminal No. 40 and FPDM harness connector terminal No. 4 (ZX2), or No. 7 (all others). See PCM CONNECTOR IDENTIFICATION and Fig 2. If resistance is less than 5 ohms, go to next step. If resistance is 5 ohms or more, repair open in FPM circuit.
  14. 16) Check FPM Circuit For Short To PWR In Harness

    Turn ignition switch to ON position. Using a DVOM, measure voltage between PCM harness connector terminal No. 40 and chassis ground. If voltage is less than one volt, go to next step. If voltage is one volt or more, repair short to PWR in FPM circuit.
  15. 17) Check FPM Circuit For Short To Ground In Harness

    Turn ignition switch to OFF position. Disconnect scan tool from Data Link Connector (DLC). Using a DVOM, measure resistance between PCM harness connector terminal No. 40 and chassis ground. If resistance is more than 10 k/ohms, go to next step. If resistance is 10 k/ohms or less, repair short to ground in FPM circuit.
  16. NOTE: In the following test step, it is normal for voltage to cycle less than .02 volt and return to .02-1.0 volt.
    NOTE: A break in step numbering sequence occurs at this point. Procedure skips from step 18) to step 25). No test procedures have been omitted.

  17. 18) Check For FPM Output From FPDM
    Reconnect FPDM connector. Turn ignition switch to ON position. Using a DVOM, measure DC voltage between PCM harness connector terminals No. 40 and 51. If voltage is .02-1.0 DC volt, replace PCM. If voltage is not .02-1.0 DC volt, replace FPDM.
  18. NOTE: With no fault detected, FPDM will send a 50 percent duty cycle signal on FPM circuit to PCM. FPM PID value should display 50 percent. Depending on scan tool being used, some scan tools will display a random value of 85-115 percent.
    NOTE: A break in step numbering sequence occurs at this point. Procedure skips from step 25) to step 30). No test procedures have been omitted.

  19. 25) Check Circuits That May Cause An Intermittent Loss Of Power Supply To FPDM; Also Check For Intermittent Opens Or Shorts On FPM Circuit
    Turn ignition switch to ON position. Using scan tool, access FPM PID from PID/DATA MONITOR & RECORD menu. Observe FPM PID value for indication of fault while performing the following:
    • Wiggle and bend all FPDM system related circuits (FPDM PWR or VPWR, and GND).
    • Wiggle and bend FPM circuit between PCM and FPDM.
    • On Mustang and ZX2, wiggle and bend B+ circuit to CCRM terminal No. 11.
    • On Mustang, wiggle and bend GND circuit to terminal No. 18 at CCRM.
    • On Focus, Sable and Taurus wiggle and bend B+ and GND circuits to FPDM power supply relay.
    • Lightly tap on IFS switch, CCRM, FPDM and FPDM power supply relay to simulate road shock.

    A fault will be indicated if FPM PID value changes from 50 percent, or value stops fluctuating. If any faults are found, isolate fault and repair as necessary. If no faults are found, concern cannot be duplicated at this time. Go to TEST Z, step  1).

  20. NOTE: For additional testing information, see DIAGNOSTIC AIDS .
    NOTE: DTC P1235 and P1236 are identical, except DTC P1236 will not illuminate Malfunction Indicator Lamp (MIL). On LS and Thunderbird, FPDM functions are incorporated in Rear Electronics Module (REM). Also, REM does not use an FPM circuit. Diagnostic information will be sent through SCP network. In the following steps, if directed to perform an FPDM action, complete the action using REM. See Figure-Figure .

  21. 30) For KOEO & KOER Only DTC P1235 Or P1236: Check For These DTCs To Be Present In KOEO Or KOER On-Demand Self-Tests
    These DTCs indicate that FPDM has detected an invalid or missing FP circuit signal from PCM. FPDM will send a message to PCM through FPM circuit, indicating failure has been detected. PCM will set the DTC when message has been received. Possible causes are:
    • Open Or Shorted FP Circuit
    • Faulty FPDM
    • Faulty PCM

    If DTC P1235 or P1236 is present in KOEO or KOER self-test, DTC is a hard fault. Go to next step. If DTC P1235 or P1236 is not present in KOEO or KOER self-test, check for an intermittent fault. Go to step  42) (LS and Thunderbird), or go to step  45) (all others).

  22. 31) Check For Open FP Circuit Between FPDM & PCM

    Turn ignition switch to OFF position. Disconnect FPDM connector. Disconnect PCM connector(s). Inspect connector for loose, damaged or corroded terminals. Repair as necessary. Using a DVOM, measure resistance of FP circuit between PCM harness connector and FPDM harness connector (REM on LS and Thunderbird). See Figure-Figure . If resistance is less than 5 ohms, go to next step. If resistance is 5 ohms or more, repair open in FP circuit.
  23. 32) Check FP Circuit For Short To PWR In Harness

    Turn ignition switch to ON position. Using a DVOM, measure voltage between chassis ground and FP circuit at PCM harness connector. If voltage is less than one volt, go to next step. If voltage is one volt or more, repair short to PWR in FP circuit.
  24. 33) Check FP Circuit For Short To Ground In Harness

    Turn ignition switch to OFF position. Disconnect scan tool from DLC. Using a DVOM, measure resistance of FP circuit between PCM harness connector and chassis ground. If resistance is 10 k/ohms or less, repair short to ground in FP circuit. If resistance is more than 10 k/ohms, go to step  36) (LS and Thunderbird), or go to next step (all others).
  25. 34) Check FP Circuit In FPDM

    Reconnect FPDM. Turn ignition switch to ON position. Using a DVOM, measure voltage between PWR GND and FP circuits at PCM harness connector. See PCM CONNECTOR IDENTIFICATION and Figure-Figure . See PCM PWR GND, SIG RTN & VREF TERMINAL IDENTIFICATION table. If voltage is 4.5-5.5 volts, replace PCM. If voltage is not 4.5-5.5 volts, replace FPDM.
    NOTE: A break in step numbering sequence occurs at this point. Procedure skips from step 34) to step 36). No test procedures have been omitted.
  26. NOTE: It is okay if FPF PID flashes to NO during 20 second time period and changes back to YES.

  27. 36) Check FPF PID
    Turn ignition switch to ON position. Using scan tool, access FPF PID from PID/DATA MONITOR & RECORD menu. Observe FPF PID for 20 seconds. If FPF PID indicated YES during 20 second time period, go to step  40). If FPF PID indicates NO during whole 20 second time period, go to next step.
  28. 37) Check FP PID

    Using scan tool, access FP PID from PID/DATA MONITOR & RECORD menu. If FP PID indicates 70-80 percent, go to next step. If FP PID does not indicate 70-80 percent, cycle ignition switch to OFF, then to ON position and wait 5 seconds. Repeat this test step. If FP PID now indicates 70-80 percent, go to next step. If FP PID still does not indicate 70-80 percent, replace PCM.
  29. NOTE: PWM_DC1 PID indicates signal sent to REM from PCM on FP circuit.
    NOTE: A break in step numbering sequence occurs at this point. Procedure skips from step 38) to step 40). No test procedures have been omitted.

  30. 38) Access REM PIDs & Check PWM_DC1 PID
    Using scan tool, access PWM_DC1 PID from REM menu. If PWM_DC1 PID indicates 70-80 percent, turn ignition switch to OFF position. No fault is indicated. Disregard DTC P1235 or P1236 at this time and check for Continuous Memory DTCs. If Continuous Memory DTCs are present, go to appropriate system test. See DIAGNOSTIC TROUBLE CODE DEFINITIONS . If Continuous Memory DTCs are not present, testing is complete. If PWM_DC1 PID does not indicate 70-80 percent, replace REM.
  31. 40) Check REM Harness Voltage On FP Circuit At PCM

    Turn ignition switch to OFF position. Disconnect PCM connector "B". See PCM CONNECTOR IDENTIFICATION . Turn ignition switch to ON position. Using a DVOM, measure voltage between PCM harness connector terminal B58 and chassis ground. If voltage is more than 8 volts, replace PCM. If voltage is 8 volts or less, replace REM.
    NOTE: A break in step numbering sequence occurs at this point. Procedure skips from step 40) to step 42). No test procedures have been omitted.
  32. NOTE: PWM_DC1 PID indicates signal sent to REM from PCM on FP circuit.
    NOTE: A break in step numbering sequence occurs at this point. Procedure skips from step 42) to step 45). No test procedures have been omitted.

  33. 42) Check FP Circuit For Intermittent Concerns
    Turn ignition switch to ON position. Using scan tool, access PWM_DC1 PID from REM menu. Observe PWM_DC1 PID value for indication of fault while wiggling and bending FP circuit between REM and PCM. Fault will be indicated if PWM_DC1 PID value changes. If any faults are found, isolate fault and repair as necessary. If no faults are found, check for intermittent fault. Leave scan tool connected, go to TEST Z, step  1) and use FP and PWM_DC1 PIDs for diagnosis of intermittent fault.
  34. NOTE: With no fault detected, FPDM will send a 50 percent duty cycle signal on FPM circuit to PCM. FPM PID value should display 50 percent. Depending on scan tool being used, some scan tools will display a random value between 85-115 percent.
    NOTE: A break in step numbering sequence occurs at this point. Procedure skips from step 45) to step 47). No test procedures have been omitted.

  35. 45) Check FP Circuit For Intermittent Opens Or Shorts
    Turn ignition switch to ON position. Using scan tool, access FPM PID from PID/DATA MONITOR & RECORD menu. Observe FPM PID for indication of fault while wiggling and bending FP circuit between FPDM and PCM. Lightly tap on FPDM to simulate road shock. Fault will be indicated if FPM PID value changes from 50 percent, or value stops fluctuating. If any faults are found, isolate fault and repair as necessary. If no faults are found, concern cannot be duplicated at this time. Go to TEST Z, step  1).
  36. NOTE: For additional testing information, see DIAGNOSTIC AIDS .
    NOTE: DTC P1237 and P1238 are identical, except DTC P1238 will not illuminate Malfunction Indicator Lamp (MIL). On LS and Thunderbird, FPDM functions are incorporated in Rear Electronics Module (REM). Also, REM does not use an FPM circuit. Diagnostic information will be sent through SCP network. See Figure-Figure .

  37. 47) For KOEO, KOER & Continuous Memory DTCs P1237, P1238 & P1641
    These DTCs indicate FPDM has detected a fuel pump secondary circuit fault. Possible causes are:
    • Open Or Shorted FP PWR Circuit
    • Open FP RTN Circuit To FPDM
    • Open Or Shorted Circuit In Fuel Pump
    • Locked Fuel Pump Rotor
    • Faulty FPDM
    • On LS & Thunderbird, Circuits Associated With Fuel Pump Relay

    If DTC P1237, P1238 or P1641 is present in KOEO or KOER self-test, the DTC is a hard fault. Go to next step. If DTC P1237, P1238 or P1641 is not present in KOEO or KOER self-test, check for intermittent fault. Go to step  67) (LS and Thunderbird), or go to step  56) (all others).

  38. 48) Attempt To Start Engine

    Attempt to start engine. If engine starts, go to step  80) (LS and Thunderbird), or go to step  59) (all others). If engine is a no-start, go to step  61) (LS and Thunderbird), or go to next step (all others) to diagnose fuel pump secondary circuits.
  39. NOTE: If directed here from step  61), FPDM functions are incorporated in Rear Electronics Module (REM) for LS and Thunderbird. If directed to perform an FPDM action, perform action using REM. Refer to illustration. See Figure for REM module circuit and terminal identification.

  40. 49) Check FP PWR, FP RTN & Internal Fuel Pump Circuit Resistance
    Turn ignition switch to OFF position. Disconnect scan tool from DLC. Disconnect FPDM (or 20-pin REM) connector. Using a DVOM, measure resistance between FP PWR and FP RTN circuits at FPDM (or REM) harness connector. See Figure-Figure . If resistance is less than 10 ohms, go to next step. If resistance is 10 ohms or more, an open in secondary circuit exists. Go to step  54) to isolate fault.
  41. 50) Check FP RTN Circuit For Short To PWR In Harness

    Turn ignition switch to ON position. Using a DVOM, measure voltage between chassis ground and FP RTN circuit at FPDM (or REM) harness connector. If voltage is less than one volt, go to next step. If voltage is one volt or more, repair short to PWR.
  42. 51) Check FP PWR Circuit For Short To Ground In Harness

    Turn ignition switch to OFF position. Disconnect fuel pump connector. Using a DVOM, measure resistance of FP PWR circuit between FPDM (or REM) harness connector and chassis ground. If resistance is more than 10 k/ohms, go to next step. If resistance is 10 k/ohms or less, repair FP PWR circuit for short to ground.
  43. NOTE: To perform this test step without a scan tool, fuel pump can be commanded ON for one second by cycling ignition switch from OFF to ON position and repeating as necessary.
    NOTE: A break in step numbering sequence occurs at this point. Procedure skips from step 52) to step 54). No test procedures have been omitted.

  44. 52) Check For VPWR To Fuel Pump
    Reconnect FPDM (or REM) and scan tool. Turn ignition switch to ON position. Connect DVOM between FP PWR and FP RTN circuits at fuel pump harness connector. Using scan tool, access OUTPUT TEST MODE. See OUTPUT TEST MODE under ADDITIONAL SYSTEM FUNCTIONS. Use scan tool and command OUTPUTS ON (or if no scan tool is available cycle ignition switch to ON position). Fuel pump should turn on for about 5 seconds (one second with ignition cycle). With fuel pump commanded ON, if voltage is more than 10 volts, replace fuel pump. If voltage is 10 volts or less, verify vehicle battery is fully charged. Ensure fuel pump command ON time did not time-out before voltage check was made. If battery charge is okay and command ON time did not time-out, replace FPDM.
  45. 54) Isolate Open Circuit

    Turn ignition switch to OFF position. Disconnect fuel pump. Using a DVOM, measure resistance of FP PWR circuit and of FP RTN circuit between fuel pump harness connector and FPDM (or REM) harness connector. See Figure-Figure . Using a DVOM, measure internal resistance of fuel pump. If all resistance measurements are less than 10 ohms, no fault is detected at this time. Verify results of previous steps. If any resistance measurement is 10 ohms or more, repair open in FP PWR or FP RTN circuit, or if open is internal of fuel pump, replace fuel pump.
    NOTE: A break in step numbering sequence occurs at this point. Procedure skips from step 54) to step 56). No test procedures have been omitted.
  46. NOTE: When FPDM is detecting a secondary fuel pump circuit fault (wires going to fuel pump), a 75 percent duty cycle signal will be sent to PCM on FPM circuit. FPM PID value should display 75 percent. Depending on scan tool being used, some scan tools will display a random value between 250-400 percent.

  47. 56) Check For Intermittent DTC P1237, P1238 Or P1641
    Turn ignition switch to ON position. Using scan tool, access FPM PID from PID/DATA MONITOR & RECORD menu. If FPM PID value is 75 percent or is varying between 250-400 percent, a hard fault is present, go to step  48). If FPM PID value is not 75 percent or is not varying between 250-400 percent, DTC P1237, P1238 or P1641 is intermittent, go to next step.
  48. NOTE: With no fault detected, FPDM will send a 50 percent duty cycle signal on FPM circuit to PCM. FPM PID value should display 50 percent. Depending on scan tool being used, some scan tools will display a random value between 85-115 percent.

  49. 57) Check Fuel Pump Secondary Circuits For Intermittent Open Or Short
    Turn ignition switch to ON position. Using scan tool, access FPM PID from PID/DATA MONITOR & RECORD menu. Observe FPM PID value for indication of fault while wiggling and bending FP PWR and FP RTN circuits between FPDM and fuel pump. Lightly tap on FPDM to simulate road shock. Fault will be indicated by FPM PID value changing from 50 percent, or varying between 85-115 percent. If any faults are found, isolate fault and repair as necessary. If no faults are found, go to next step.
  50. 58) Check FP PWR Circuit For Short To Ground

    Turn ignition switch to OFF position. Disconnect FPDM. Connect a test light between FP PWR and FPDM PWR circuits at FPDM harness connector. Turn ignition switch to ON position. Observe test light for indication of fault while wiggling and bending FP PWR circuit between FPDM and fuel pump. If a fault is indicated, test light will illuminate (indicating short to ground). If any faults are found, isolate fault and repair as necessary. If no faults are found, concern cannot be identified at this time. Turn ignition switch to OFF position, reconnect FPDM and go to TEST Z, step  1).
  51. 59) Check FP PWR Circuit For Short To PWR

    Turn ignition switch to OFF position. Disconnect FPDM connector. Turn ignition switch to ON position. Using a DVOM, measure voltage between chassis ground and FP PWR circuit at FPDM harness connector. See Figure-Figure . If voltage is less than one volt, go to next step. If voltage is one volt or more, repair FP PWR circuit for short to PWR.
  52. 60) Check FP RTN Circuit For Short To Ground

    Ensure ignition switch is turned to ON position. Using a DVOM, measure voltage between FPDM PWR and FP RTN circuits at FPDM harness connector. If voltage is less than one volt, replace FPDM. If voltage is one volt or more, repair short to ground in FP RTN circuit.
  53. 61) Check REM/FP PWR & GND Circuit To REM Harness Connector C420d (LS) or C420e (Thunderbird) Terminals No. 1 & 2

    Ensure Inertia Fuel Shutoff (IFS) switch is not tripped. Disconnect REM connector C420d (LS) or C420e (Thunderbird). See Figure. Turn ignition switch to ON position. Using a DVOM, measure voltage between REM/FP PWR and GND circuits at REM harness connector C420d (LS) or C420e (Thunderbird). If voltage is 10.5 volts or less, go to next step. If voltage is more than 10.5 volts, go to step  49).
  54. 62) Check REM/FP PWR Circuit Voltage To REM Using Chassis Ground As A Reference

    Ensure ignition switch is turned to ON position. Using a DVOM, measure voltage between chassis ground and REM/FP PWR circuit at REM harness connector C420d (LS) or C420e (Thunderbird). If voltage is more than 10.5 volts, repair open GND circuit between REM harness connector C420d (LS) or C420e (Thunderbird) and ground point G401 located behind right side rear luggage compartment panel. If voltage is 10.5 volts or less, go to next step.
  55. NOTE: On LS, B+ circuit fuse to fuel pump relay is No. 417 (15-amp). On Thunderbird, B+ circuit fuse to fuel pump relay is No. 418 (20-amp).

  56. 63) Check For B+ To Fuel Pump Relay Cavity
    Turn ignition switch to OFF position. Remove fuel pump relay from battery junction box in engine compartment. Using a DVOM, measure voltage between chassis ground and fuel pump relay cavity No. 3. See Figure and Figure . If voltage is more than 10.5 volts, go to next step. If voltage is 10.5 volts or less, check for blown B+ circuit fuse to fuel pump relay, located in battery junction box. If fuse is blown, check for short to ground in B+ circuit, or short to power in FP RTN circuit before replacing fuse. If fuse is okay, repair open in Red/Blue wire between B+ circuit fuse and fuel pump relay cavity No. 3.
  57. 64) Check For IGN START/RUN Voltage (Through IFS Switch) To Fuel Pump Relay Cavity

    Turn ignition switch to OFF position. Disconnect REM 12-pin connector C420a (LS) or C420b (Thunderbird). See Figure. Turn ignition switch to ON position. Using a DVOM, measure voltage between chassis ground and IGN START/RUN circuit at REM harness connector C420a (LS) or C420b (Thunderbird). If voltage is more than 10.5 volts, go to next step. If voltage is 10.5 volts or less, check for blown fuse No. 204 (5-amp) in central junction box located behind right kick panel. If fuse is blown, check for short to ground in IGN START/RUN circuit before replacing fuse. If fuse is okay, go to step  69) to isolate open circuit.
  58. 65) Check Ground Circuit To Fuel Pump Relay

    Turn ignition switch to OFF position. Using a DVOM, measure resistance of GND circuit between fuel pump relay cavity No. 1 and ground point G300 (LS), or G401 (Thunderbird). See Figure and Figure . See WIRING DIAGRAMS . If resistance is less than 5 ohms, go to next step. If resistance is 5 ohms or more, repair open in GND circuit.
  59. 66) Check REM/FP PWR Circuit Continuity

    Using a DVOM, measure resistance of REM/FP PWR circuit between fuel pump relay cavity No. 5 and REM harness connector C420d (LS) or C420e (Thunderbird) terminal No. 1. See Figure and Figure . If resistance is less than 5 ohms, replace fuel pump relay. If resistance is 5 ohms or more, repair open in REM/FP PWR circuit.
  60. 67) Check REM/FP PWR, REM GND & Circuits Associated With Fuel Pump Relay For Intermittents

    Turn ignition switch to OFF position. Disconnect REM 20-pin connector C420d (LS) or C420e (Thunderbird), if not previously disconnected. See Figure. Connect test light between REM/FP PWR and GND circuits at REM harness connector C420d (LS) or C420e (Thunderbird). Turn ignition switch to ON position. Observe test light for indication of fault while wiggling and bending REM/FP PWR and GND circuits to REM. Shake, wiggle and bend GND, IGN START/RUN and B+ circuits to fuel pump relay. Lightly tap on fuel pump relay and IFS switch to simulate road shock. A fault is indicated when test light goes off. If any faults are found, isolate fault and repair as necessary. If no faults are found, go to next step.
  61. 68) Check FP PWR & FP RTN Circuits For Intermittent Concerns

    Turn ignition switch to OFF position. Using a DVOM, measure resistance between FP PWR and FP RTN circuits at REM connector C420d (LS) or C420e (Thunderbird). Observe DVOM for indication of fault while wiggling and bending FP PWR and FP RTN circuits between REM and fuel pump. Perform same procedure with DVOM connected between chassis ground and FP RTN circuit at REM connector C420d (LS) or C420e (Thunderbird). A fault is indicated when resistance changes suddenly. If any faults are found, isolate fault and repair as necessary. If no faults are found, concern cannot be identified at this time. Turn ignition switch to OFF position. Remove DVOM, reconnect REM and go to TEST Z, step  1).
  62. 69) Isolate Open in IGN START/RUN Circuit

    Disconnect IFS switch. Using a DVOM, measure resistance between (normally closed) IFS switch terminals. Record resistance reading. Also, measure resistance of IGN START/RUN circuit between fuel pump relay cavity No. 2 and IFS switch harness connector. See Figure. If both resistance measurements are less than 5 ohms, repair open in IGN START/RUN circuit between fuse No. 204 (5-amp) in central junction box and IFS switch. If resistance is 5 ohms or more in either measurement, replace IFS switch or repair open in IGN START/RUN circuit between fuel pump relay cavity No. 2 and IFS switch. Ensure fuel pump motor diode located in battery junction box in luggage compartment is okay. See WIRING DIAGRAMS .
  63. NOTE: Diagnostic procedures beginning with step  70) are performed when directed here from TEST HC, step 2) to diagnose low voltage at fuel pump and no DTCs are present.

  64. 70) Check Battery Voltage With Outputs Commanded On
    Turn ignition switch to OFF position. Connect scan tool to DLC. Disconnect fuel pump connector. Turn ignition switch to ON position. Connect a DVOM between battery terminals. Using scan tool, access OUTPUT TEST MODE. See OUTPUT TEST MODE under ADDITIONAL SYSTEM FUNCTIONS. While monitoring battery voltage, command OUTPUTS ON. Record voltage measurement within 5 seconds of commanding outputs ON. Command OUTPUTS OFF. If battery voltage is more than 11 volts, and go to next step. If battery voltage is 11 volts or less, battery voltage is low. Service battery/charging system as necessary. See appropriate GENERATORS & REGULATORS article in STARTING & CHARGING SYSTEMS.
  65. 71) Check Ground Circuit To Fuel Pump

    Turn ignition switch to OFF position. Connect DVOM between negative battery terminal and FP PWR circuit at fuel pump harness connector. See Figure-Figure . Turn ignition switch to ON position. Using scan tool, command OUTPUTS ON. Record voltage measurement within 5 seconds of commanding outputs ON. If voltage is 10.5 volts or less, ground circuit to fuel pump is okay. Go to next step. If voltage is more than 10.5 volts, locate and repair high resistance in ground circuit to fuel pump. Check all wiring and connectors for fuel pump and FPDM (or REM) for corrosion or damage. Check FPDM (or REM) ground connection to chassis ground. Repair as necessary.
  66. 72) Check Voltage To FPDM

    Turn ignition switch to OFF position and proceed as follows:

    • LS & Thunderbird

      Disconnect REM connector. Turn ignition switch to ON position. Using a DVOM, measure voltage between negative battery terminal and REM/FP PWR circuit at REM harness connector C420d (LS) or C420e (Thunderbird). See Figure. If voltage is more than 10.5 volts, go to next step. If voltage is 10.5 volts or less, insufficient voltage is being supplied to REM. Go to step  75).
    • All Others

      Disconnect FPDM connector. Turn ignition switch to ON position. Using a DVOM, measure voltage between negative battery terminal and FPDM PWR circuit at FPDM harness connector. See Figure, Figure, Figure or Figure . If voltage is more than 10.5 volts, go to next step. If voltage is 10.5 volts or less, insufficient voltage is being supplied to FPDM. Go to step  75).
  67. 73) Check FP PWR Circuit

    Turn ignition switch to OFF position and proceed as follows:

    • Focus, Sable & Taurus

      Connect a jumper wire between FPDM PWR and FP PWR circuits at FPDM harness connector. Turn ignition switch to ON position. Using a DVOM, measure voltage between negative battery terminal and FP PWR circuit at fuel pump harness connector. If voltage is more than 10.5 volts and is within .5 volt of voltage measured in step  72), turn ignition switch to OFF position and remove jumper. Ensure all previous test step results are correct. Check all connectors for corrosion or damage. If all previous results are correct and connectors are okay, replace FPDM. If voltage is not as specified, isolate high resistance in FP PWR circuit and repair as necessary.
    • Mustang & ZX2

      Connect a jumper wire between FPDM harness connector FPDM PWR circuit and FP PWR circuit terminals. Turn ignition switch to ON position. Using a DVOM, measure voltage between negative battery terminal and fuel pump harness connector FP PWR terminal. If voltage is more than 10.5 volts, and is within .5 volt of voltage measured in step  72), turn ignition switch to OFF position and remove jumper. Ensure all previous test step results are correct. Check all connectors for corrosion or damage. If all previous results are correct and connectors are okay, replace FPDM. If voltage is not as specified, isolate high resistance in FP PWR circuit and repair as necessary.
    • LS & Thunderbird

      Connect a jumper wire between FPDM harness connector REM/FP PWR circuit and FP PWR circuit terminals. Turn ignition switch to ON position. Using a DVOM, measure voltage between negative battery terminal and fuel pump harness connector FP PWR terminal. If voltage is more than 10.5 volts and is within .5 volt of voltage measured in step  72), turn ignition switch to OFF position and remove jumper. Ensure all previous test step results are correct. Check all connectors for corrosion or damage. If all previous results are correct and connectors are okay, replace REM. If voltage is not as specified, isolate high resistance in FP PWR circuit and repair as necessary.
    NOTE: A break in step numbering sequence occurs at this point. Procedure skips from step 73) to step 75). No test procedures have been omitted.
  68. 75) Check B+ To PCM Power Relay, CCRM, Fuel Pump Relay Or FPDM Power Supply Relay

    Turn ignition switch to OFF position and proceed as follows:

    • Focus, Sable & Taurus

      Remove FPDM power supply relay. Relay is located in battery junction box in left rear corner of engine compartment. Turn ignition switch to ON position. Using a DVOM, measure voltage between negative battery terminal and B+ circuit at FPDM power supply relay cavity No. 3. See Figure. If voltage is more than 10.5 volts, go to next step. If voltage is 10.5 volts or less, insufficient voltage is being supplied to FPDM power supply relay. Check all related wiring and connectors on B+ circuit to FPDM power supply relay for corrosion or damage. Repair as necessary.
    • Mustang & ZX2

      Disconnect Constant Control Relay Module (CCRM). On Mustang, CCRM is mounted on a bracket behind engine coolant reservoir. On ZX2, CCRM is located in left front of engine compartment. On all models, turn ignition switch to ON position. Using a DVOM, measure voltage between negative battery terminal and B+ circuit at CCRM harness connector. See Figure, Figure and Fig 1 . If voltage is more than 10.5 volts, go to next step. If voltage is 10.5 volts or less, insufficient voltage is being supplied to CCRM. Check all related wiring and connectors to CCRM for corrosion or damage. Repair as necessary.
    • LS & Thunderbird

      Remove fuel pump relay. Relay is located in battery junction box on right side of luggage compartment. Turn ignition switch to ON position. Using a DVOM, measure voltage between negative battery terminal and B+ circuit at fuel pump relay cavity No. 3. See Figure. If voltage is more than 10.5 volts, go to next step. If voltage is 10.5 volts or less, insufficient voltage is being supplied to fuel pump relay. Check all related wiring and connectors on B+ circuit to fuel pump relay for corrosion or damage. Repair as necessary.
  69. 76) Check FPDM PWR Circuit

    Turn ignition switch to OFF position and proceed as follows:

    • Focus, Sable & Taurus

      Connect a jumper wire between FPDM power supply relay cavities No. 3 (B+) and No. 5 (FPDM PWR). See Figure. Using a DVOM, measure voltage between negative battery terminal and FPDM PWR circuit at FPDM harness connector. See Figure. If voltage is more than 10.5 volts, ensure all previous test step results are correct. Check all connectors for corrosion or damage. If all previous results are correct and connectors are okay, replace FPDM. If voltage is 10.5 volts or less, isolate high resistance in system circuits and repair as necessary.
    • Mustang & ZX2

      Connect a jumper wire between CCRM harness connector terminals No. 11 (B+) and No. 5 (FPDM PWR). See Figure and Figure . Turn ignition switch to ON position. Using a DVOM, measure voltage between negative battery terminal and FPDM PWR circuit at FPDM harness connector. If voltage is more than 10.5 volts, ensure all previous test step results are correct. Check all connectors for corrosion or damage. If all previous results are correct and connectors are okay, replace FPDM. If voltage is 10.5 volts or less, isolate high resistance in system circuits and repair as necessary.
    • LS & Thunderbird

      Connect a jumper wire between fuel pump relay cavities No. 3 (B+) and No. 5 (REM/FP PWR). See Figure. Using a DVOM, measure voltage between negative battery terminal and REM/FP PWR circuit at REM harness connector terminal No. 1. If voltage is more than 10.5 volts, ensure all previous test step results are correct. Check all connectors for corrosion or damage. If all previous results are correct and connectors are okay, replace REM. If voltage is 10.5 volts or less, isolate high resistance in system circuits and repair as necessary.
    NOTE: A break in step numbering sequence occurs at this point. Procedure skips from step 76) to step 80). No test procedures have been omitted.
  70. 80) Check FP RTN Circuit For Short To Ground

    Turn ignition switch to OFF position. Disconnect REM 20-pin connector C420d (LS) or C420e (Thunderbird). See Figure. Turn ignition switch to ON position. Using a DVOM, measure voltage between REM harness connector C420d (LS) or C420e (Thunderbird) terminals No. 1 (REM/FP PWR) and No. 12 (FP RTN). If voltage is less than one volt, go to step  67). If voltage is one volt or more, repair short to ground in FP RTN circuit.
    NOTE: A break in step numbering sequence occurs at this point. Procedure skips from step 80) to step 85). No test procedures have been omitted.
  71. NOTE: Diagnostic procedures beginning with step  85) are performed when directed here from NO START/NORMAL CRANK symptom under SYMPTOMS in TROUBLE SHOOTING - NO CODES - CNG, FLEX-FUEL & GASOLINE article.

  72. 85) Perform REM Self-Test To Verify IFS Switch Input To REM
    Using scan tool, perform Rear Electronics Module (REM) Self-Test. If DTC B2172 is present, go to next step. If DTC B2172 is not present, go to TEST A, step 1) .
  73. 86) DTC B2172: Check IFS Switch Input Circuit To REM

    Turn ignition switch to OFF position. Disconnect REM 12-pin connector C420a. See Figure. Turn ignition switch to ON position. Using a DVOM, measure voltage between chassis ground and IFS INPUT circuit at REM harness connector C420a (LS) or C420b (Thunderbird) terminal No. 8. If voltage is 10.5 volts or less, turn ignition switch to OFF position and ensure IFS switch is not open. If IFS switch is okay, repair open circuit between IFS switch and REM harness connector. If voltage is more than 10.5 volts, perform the following:
    • If engine is a no-start and REM DTC B2172 was received in REM self-test mode, replace REM.
    • If engine will start or REM DTC B2172 is a Continuous Memory DTC, DTC is intermittent. If engine is a no-start, return to NO START/NORMAL CRANK symptom under SYMPTOMS in TROUBLE SHOOTING - NO CODES - CNG, FLEX-FUEL & GASOLINE article to continue diagnosis. If engine will start, go to TEST Z, step  1). Although TEST Z is designed for PCM intermittents, TEST Z will help in REM intermittent diagnosis.