LEMON Manuals: Even more car manuals for everyone: 1960-2025
Home >> Ford >> 2003 >> Excursion 7.3 F, RWD >> Repair and Diagnosis >> External Pages >> Different car >> Section 1166 (Engine System) >> Installation >> Engine >> Installation
April 5, 2026: LEMON Manuals is launched! Read the announcement.

Section 1166 (Engine System): Installation: Engine: Installation

WARNING: This page is about a different car, the 2006 Mercury Grand Marquis and 2006 Ford Crown Victoria. However, it is still accessible from the selected car via links, so may be relevant.
    WARNING: If equipped with fire suppression system, depower the system. For important safety warnings and procedures, refer to FIRE SUPPRESSION SYSTEM .
  1. With the vehicle in NEUTRAL, position it on a hoist. For additional information, refer to JACKING & LIFTING .
  2. Using the special tool, install the engine assembly in the vehicle.
    Fig 1: Installing Engine Assembly In Vehicle
    G04584025Courtesy of FORD MOTOR CO.
  3. NOTE: When vehicle is raised, verify that the torque converter is correctly seated.
  4. Install the 4 bolts and 1 stud.
    • Tighten to 34 Nm (25 lb-ft).
      Fig 2: Installing Bolts And Stud
      G04584026Courtesy of FORD MOTOR CO.
  5. Attach the wiring harness to the retainers on the transmission.
  6. Connect the output shaft speed sensor, transmission range sensor and the turbine shaft speed sensor electrical connectors.
    Fig 3: Connecting Output Shaft Speed Sensor And Transmission Range Sensor
    G04584027Courtesy of FORD MOTOR CO.
  7. Connect the heated oxygen sensor (HO2S) and the solenoid body sensor electrical sensors.
    Fig 4: Disconnecting HO2S Sensor And Solenoid Body Sensor Electrical Connectors
    G04584028Courtesy of FORD MOTOR CO.
  8. Raise the transmission and install the transmission insulator.
  9. Install the 2 insulator bolts.
    • Tighten to 90 Nm (66 lb-ft).
      Fig 5: Installing Insulator Bolts
      G04584029Courtesy of FORD MOTOR CO.
  10. Lower the transmission and install the 2 transmission insulator nuts.
    • Tighten to 30 Nm (22 lb-ft).
      Fig 6: Installing Transmission Insulator Nuts
      G04584030Courtesy of FORD MOTOR CO.
  11. NOTE: LH shown, RH similar.
  12. Install the 2 engine mount nuts.
    • Tighten to 90 Nm (66 lb-ft).
      Fig 7: Installing Engine Mount Nuts
      G04584031Courtesy of FORD MOTOR CO.
  13. Using the special tool, install the LH HO2S.
    • Tighten to 41 Nm (30 lb-ft).
      Fig 8: Installing LH HO2S Using Special Tool
      G04584032Courtesy of FORD MOTOR CO.
  14. Connect the LH HO2S electrical connector.
    Fig 9: Connecting LH HO2S Electrical Connector
    G04584033Courtesy of FORD MOTOR CO.
  15. Install the 4 torque converter nuts.
    • Rotate the crankshaft to access the nuts.
    • Tighten to 36 Nm (27 lb-ft).
      Fig 10: Installing Torque Converter Nuts
      G04584034Courtesy of FORD MOTOR CO.
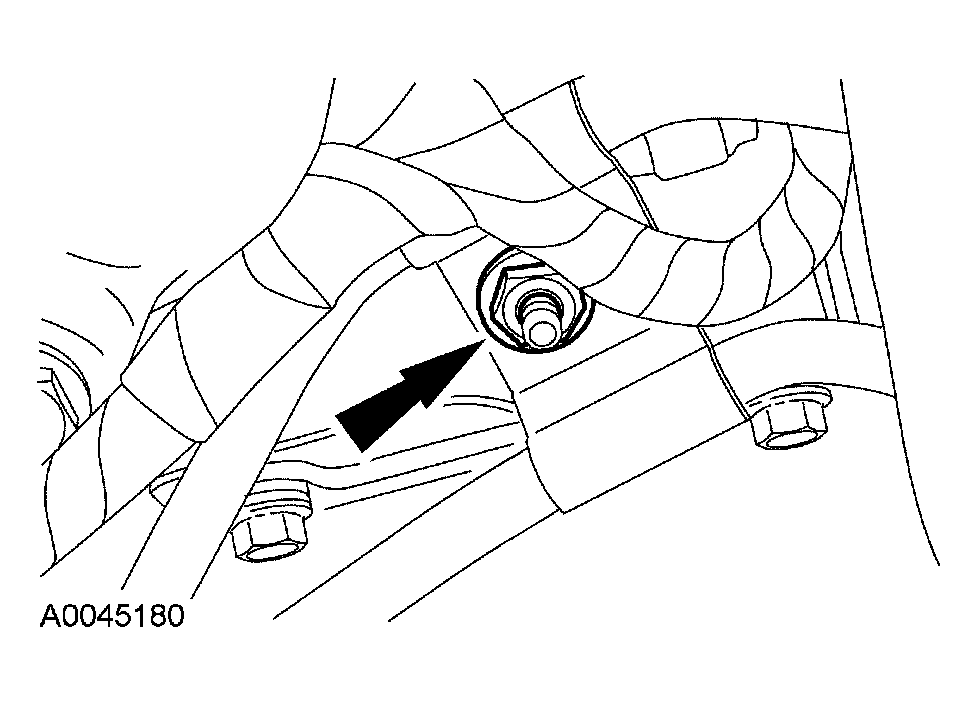
  16. Install the rubber access plug.
    Fig 11: Locating Rubber Access Plug
    G04584454Courtesy of FORD MOTOR CO.
  17. Install the inspection cover and the 3 bolts.
    • Tighten to 19 Nm (14 lb-ft).
      Fig 12: Installing Inspection Cover And Bolts
      G04584036Courtesy of FORD MOTOR CO.
  18. Install the starter motor and install the upper and lower starter bolts finger-tight.
    • Tighten the upper bolt to 25 Nm (18 lb-ft).
    • Tighten the lower bolt to 25 Nm (18 lb-ft).
      Fig 13: Installing Starter Motor And Upper And Lower Starter Bolts Finger-Tight
      G04584037Courtesy of FORD MOTOR CO.
  19. Connect the starter electrical connections and install the nuts.
    • Tighten the B-terminal nut to 12 Nm (9 lb-ft).
    • Tighten the S-terminal nut to 6 Nm (53 lb-in).
    • Install the solenoid terminal cover.
      Fig 14: Connecting Starter Electrical Connections
      G04584038Courtesy of FORD MOTOR CO.
  20. Position the exhaust, install the 4 nuts and remove the support.
    • Tighten to 48 Nm (35 lb-ft).
      Fig 15: Removing Nuts
      G04584039Courtesy of FORD MOTOR CO.
  21. Install the power steering pump and the 4 bolts.
    • Tighten to 25 Nm (18 lb-ft).
      Fig 16: Installing Power Steering Pump
      G04584040Courtesy of FORD MOTOR CO.
  22. Install the A/C compressor and the 3 bolts.
    • Tighten to 25 Nm (18 lb-ft).
      Fig 17: Installing A/C Compressor
      G04584041Courtesy of FORD MOTOR CO.
  23. Connect the A/C compressor electrical connector.
    Fig 18: Connecting A/C Compressor Electrical Connector
    G04584042Courtesy of FORD MOTOR CO.
  24. Connect the engine wiring harness retainers to the A/C compressor.
    Fig 19: Connecting Engine Wiring Harness Retainers To A/C Compressor
    G04584043Courtesy of FORD MOTOR CO.
  25. Connect the crankshaft position (CKP) sensor electrical connector.
    Fig 20: Connecting Crankshaft Position (CKP) Sensor Electrical Connector
    G04584044Courtesy of FORD MOTOR CO.
  26. Position the transmission oil cooler tubes and install the bolt.
    • Tighten to 15 Nm (11 lb-ft).
      Fig 21: Positioning Transmission Oil Cooler Tubes
      G04584045Courtesy of FORD MOTOR CO.
  27. Install the transmission cooler tube support bracket.
    • Tighten to 10 Nm (89 lb-in).
      Fig 22: Installing Transmission Cooler Tube Support Bracket
      G04584046Courtesy of FORD MOTOR CO.
  28. Install the power steering tube bracket.
    • Tighten to 10 Nm (89 lb-in).
      Fig 23: Installing Power Steering Tube Bracket
      G04584047Courtesy of FORD MOTOR CO.
  29. CAUTION: The oil cooler must be replaced or severe damage to the engine can occur.
  30. If equipped, install a new oil cooler and oil cooler hoses. For additional information, refer to OIL COOLER .
  31. Connect the power steering pressure (PSP) switch electrical connector.
    Fig 24: Disconnecting Power Steering Pressure (PSP) Switch Electrical Connector
    G04584048Courtesy of FORD MOTOR CO.
  32. Connect the power steering electrical connector.
    Fig 25: Connecting Power Steering Electrical Connector
    G04584049Courtesy of FORD MOTOR CO.
  33. If equipped, connect the block heater electrical connector.
  34. Connect the oil pressure sender electrical connector.
    Fig 26: Connecting Oil Pressure Sender Electrical Connector
    G04584050Courtesy of FORD MOTOR CO.
  35. Install the 2 top bellhousing bolts.
    • Tighten to 48 Nm (35 lb-ft).
      Fig 27: Installing Top Bellhousing Bolts
      G04584051Courtesy of FORD MOTOR CO.
  36. Install the cooling fan. For additional information, refer to ENGINE COOLING .
  37. NOTE: Do not reuse hose clamps. Use appropriately sized worm-style clamps in place of the constant tension clamps.
    Fig 28: Connecting Lower Radiator Hose
    G04584052Courtesy of FORD MOTOR CO.
  38. Connect the lower radiator hose.
  39. Connect the upper radiator hose to the hose connection.
    Fig 29: Connecting Upper Radiator Hose To Hose Connection
    G04584053Courtesy of FORD MOTOR CO.
  40. Connect the powertrain control module (PCM) electrical connectors.
    Fig 30: Connecting Powertrain Control Module (PCM) Electrical Connectors
    G04584054Courtesy of FORD MOTOR CO.
  41. Position the ground strap and install the bolt.
    • Tighten to 10 Nm (89 lb-in).
      Fig 31: Positioning Ground Strap
      G04584055Courtesy of FORD MOTOR CO.
  42. NOTE: Do not reuse hose clamps. Use appropriately sized worm-style clamps in place of the constant tension clamps.
    Fig 32: Connecting Heater Hoses
    G04584056Courtesy of FORD MOTOR CO.
  43. Connect the heater hoses.
  44. Connect the A/C low charge protection switch electrical connector.
    Fig 33: Connecting A/C Low Charge Protection Switch Electrical Connector
    G04584057Courtesy of FORD MOTOR CO.
  45. Connect the A/C electrical connector.
    Fig 34: Connecting A/C Electrical Connector
    G04584058Courtesy of FORD MOTOR CO.
  46. Install the ground strap.
    • Tighten to 10 Nm (89 lb-in).
      Fig 35: Connecting Ground Strap
      G04584059Courtesy of FORD MOTOR CO.
  47. Attach the pin-type retainer and install the generator battery cable and nut.
    • Tighten to 9 Nm (80 lb-in).
      Fig 36: Attaching Pin-Type Retainer
      G04584060Courtesy of FORD MOTOR CO.
  48. Attach the generator battery cable retainer to the RH valve cover stud bolt.
    Fig 37: Attaching Generator Battery Cable Retainer
    G04584061Courtesy of FORD MOTOR CO.
  49. Connect the fuel tube spring lock coupling. For additional information, refer to FUEL SYSTEM-GENERAL INFORMATION .
  50. Connect the 2 hoses and the canister purge valve electrical connection.
    Fig 38: Connecting Hoses And Canister Purge Valve Electrical Connection
    G04584062Courtesy of FORD MOTOR CO.
  51. Connect the vacuum hose.
    Fig 39: Connecting Vacuum Hose
    G04584063Courtesy of FORD MOTOR CO.
  52. Install the air cleaner and outlet pipe. For additional information, refer to INTAKE AIR DISTRIBUTION & FILTERING .
  53. Install the accessory drive belt. For additional information, refer to ACCESSORY DRIVE .
  54. Install the support bracket and the 2 nuts.
    • Tighten to 10 Nm (89 lb-in).
      Fig 40: Removing Support Bracket
      G04584064Courtesy of FORD MOTOR CO.
  55. Install the wiper mounting arm and pivot shaft. For additional information, refer to WIPERS AND WASHERS .
  56. Fill the crankcase with clean engine oil.
  57. Connect both battery cables. For additional information, refer to CHARGING SYSTEM - GENERAL INFORMATION .
  58. Fill and bleed the cooling system. For additional information, refer to ENGINE COOLING .
  59. Install the hood.
  60. WARNING: If equipped with fire suppression system, repower the system. For important safety warnings and procedures, refer to FIRE SUPPRESSION SYSTEM .
  61. If equipped with fire suppression system, repower the system.